Запчасти Volvo L160 20259 Brake unit L160 VOLVO BM L160

Схема запчастей Volvo L160 - 20259 Brake unit L160 VOLVO BM L160
FIT
1:1
100%

Артикул

Название

Примечание

Количество

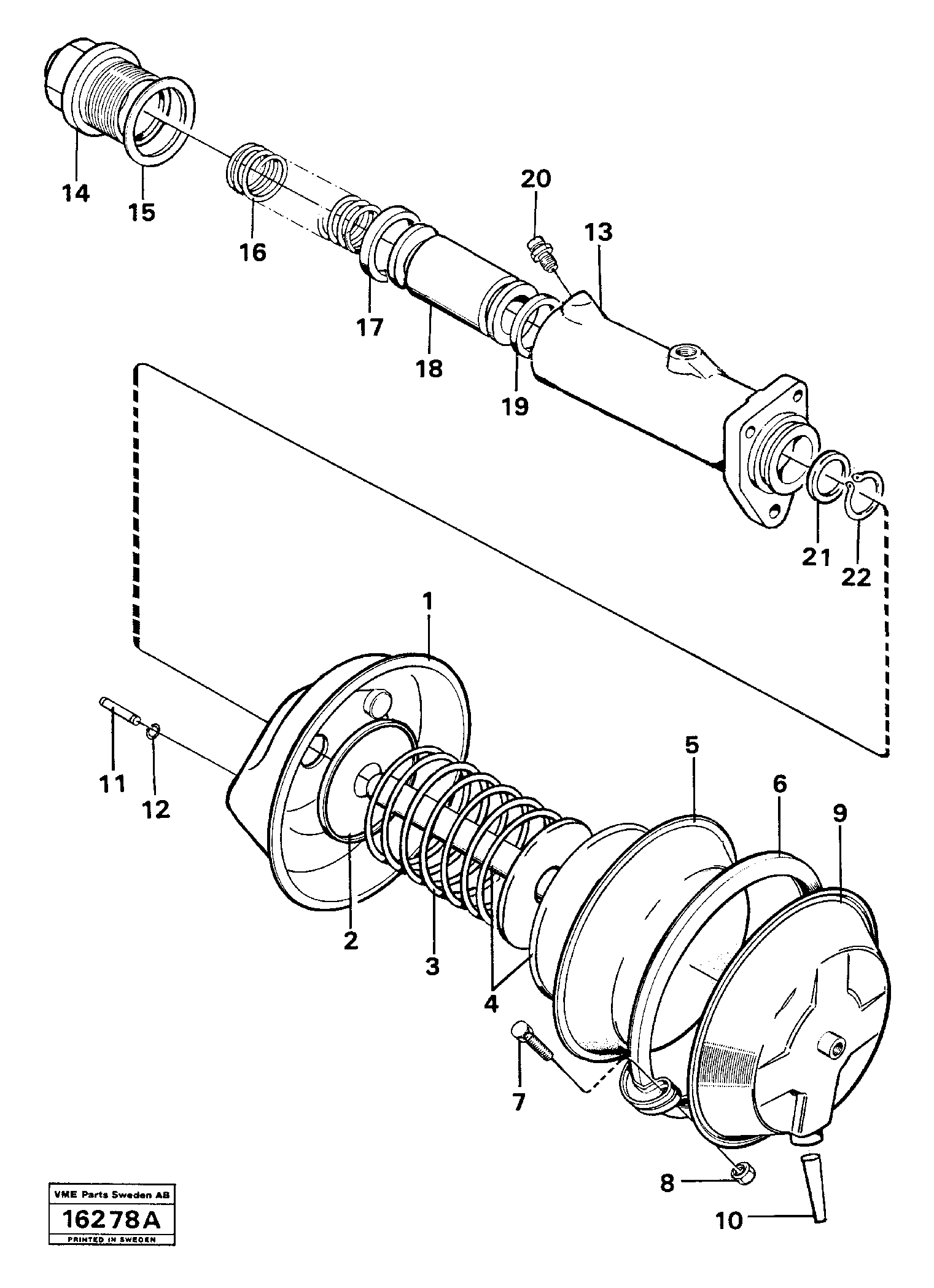
VOE 4720593

Diaph Cylinder

1шт.

VOE 4720593

Diaph Cylinder

1шт.

VOE 11994561

Spring Disc

1шт.

VOE 4880229

Главный цилиндр

1шт.

VOE 4880229

Главный цилиндр

1шт.

VOE 11034256

Protective cap

1шт.

VOE 11034256

Protective cap

1шт.

VOE 11990124

Sealing Kit

1шт.

10

VOE 6211359

Шланг

1шт.

14

VOE 6210863

Cap

1шт.

15

VOE 6210864

Прокладка

1шт.

16

VOE 6210865

Пружина

1шт.

17

VOE 6210866

Прокладка

1шт.

19

VOE 6210867

Прокладка

1шт.

2

VOE 6211357

Guide

1шт.

20

VOE 6852537

Air Venting Scr

1шт.

21

VOE 6210868

Шайба

1шт.

22

VOE 6210869

Lock Ring

1шт.

3

VOE 11994545

Пружина

1шт.

4

VOE 11994599

Поршень

1шт.

5

VOE 6211358

Diaphragm

1шт.

6

VOE 11996068

Зажим

1шт.

7

VOE 955299

Винт шестигранник

1шт.

7

VOE 955299

Винт шестигранник

1шт.

8

VOE 955782

Hexagon Nut

1шт.

8

VOE 955782

Hexagon Nut

1шт.

Выбрано товаров: 26