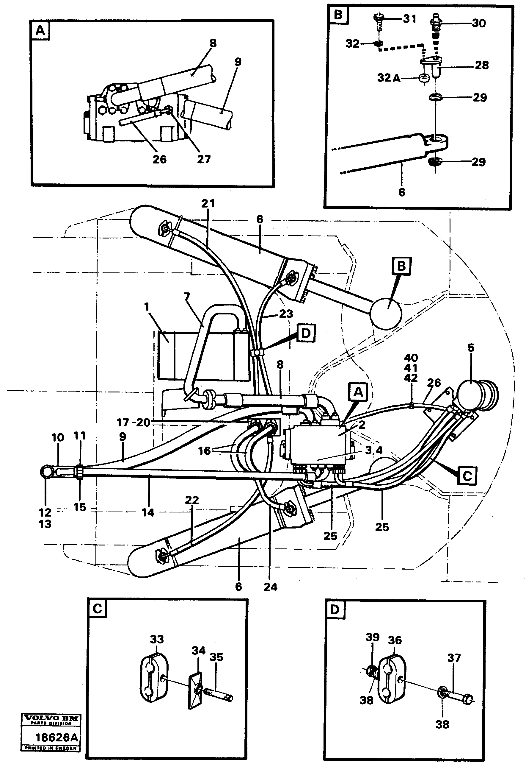
Запчасти Volvo L160 4058 Steering system: components and hoses L160 VOLVO BM L160

Схема запчастей Volvo L160 - 4058 Steering system: components and hoses L160 VOLVO BM L160
FIT
1:1
100%

Артикул

Название

Примечание

Количество

VOE 13970947

Винт шестигранник

L=25: SER NO 2577 -

1шт.

VOE 13970947

Винт шестигранник

L=25: SER NO 2577 -

1шт.

VOE 931337

Hose assembly

L=950

1шт.

VOE 11023426

11023426

SER NO 2837 -

1шт.

VOE 13970972

Винт шестигранник

L=40: SER NO 2837 -

1шт.

VOE 13970972

Винт шестигранник

L=40: SER NO 2837 -

1шт.

VOE 947558

Шайба

D=40: SER NO 2837 -

1шт.

VOE 947558

Шайба

D=40: SER NO 2837 -

1шт.

VOE 970945

Винт шестигранник

L=20: SER NO 2577 -

1шт.

VOE 970945

Винт шестигранник

L=20: SER NO 2577 -

1шт.

10

VOE 4951522

Корпус клапана (коллектор)

1шт.

11

VOE 13968211

Зажим

1шт.

11

VOE 13968211

Зажим

1шт.

12

VOE 13961198

Hydraulic hose

1шт.

12

VOE 13961198

Hydraulic hose

1шт.

13

VOE 930810

Hose clamp

1шт.

13

VOE 930810

Hose clamp

1шт.

14

VOE 4935722

Hose assembly

1шт.

15

VOE 927466

Hose clamp

1шт.

15

VOE 927466

Hose clamp

1шт.

16

VOE 932217

Hose assembly

1шт.

19

VOE 970945

Винт шестигранник

L=20: SER NO - 2576

1шт.

19

VOE 970945

Винт шестигранник

L=20: SER NO - 2576

1шт.

20

VOE 976945

Шайба

1шт.

20

VOE 976945

Шайба

1шт.

21

VOE 932216

Hose assembly

1шт.

22

VOE 932215

Hose assembly

1шт.

23

VOE 932215

Hose assembly

1шт.

24

VOE 932214

Hose assembly

1шт.

25

VOE 931791

Hose assembly

L=750

1шт.

25

VOE 931791

Hose assembly

L=750

1шт.

26

VOE 931342

Hose assembly

1шт.

27

VOE 4931556

4931556

1шт.

28

VOE 4930979

Палец

SER NO - 2836

1шт.

29

VOE 4782479

Кольцо уплотнительное

1шт.

29

VOE 4782479

Кольцо уплотнительное

1шт.

3

VOE 970945

Винт шестигранник

1шт.

3

VOE 970945

Винт шестигранник

1шт.

30

VOE 914170

Lubricating nipple

1шт.

30

VOE 914170

Lubricating nipple

1шт.

31

VOE 13970970

Винт шестигранник

L=30: SER NO - 2836

1шт.

31

VOE 13970970

Винт шестигранник

L=30: SER NO - 2836

1шт.

32

VOE 13955897

Шайба

D=24: SER NO - 2836

1шт.

32

VOE 13955897

Шайба

D=24: SER NO - 2836

1шт.

32A

VOE 4974453

Вставка

SER NO 2837 -

1шт.

32A

VOE 4974453

Вставка

SER NO 2837 -

1шт.

33

VOE 4880575

Зажим

1шт.

33

VOE 4880575

Зажим

1шт.

36

VOE 4881125

Зажим

1шт.

36

VOE 4881125

Зажим

1шт.

37

VOE 955300

Винт шестигранник

1шт.

37

VOE 955300

Винт шестигранник

1шт.

38

VOE 976944

Шайба

1шт.

38

VOE 976944

Шайба

1шт.

39

VOE 946036

Lock nut

1шт.

39

VOE 946036

Lock nut

1шт.

4

VOE 976945

Шайба

1шт.

4

VOE 976945

Шайба

1шт.

40

VOE 952629

Зажим

1шт.

40

VOE 952629

Зажим

1шт.

41

VOE 13955271

Болт

1шт.

41

VOE 13955271

Болт

1шт.

42

VOE 946035

Lock nut

1шт.

42

VOE 946035

Lock nut

1шт.

7

VOE 4951149

Delivery pipe

1шт.

8

VOE 931832

Hose assembly

1шт.

8

VOE 931832

Hose assembly

1шт.

9

VOE 4935721

Hose assembly

1шт.

Выбрано товаров: 0