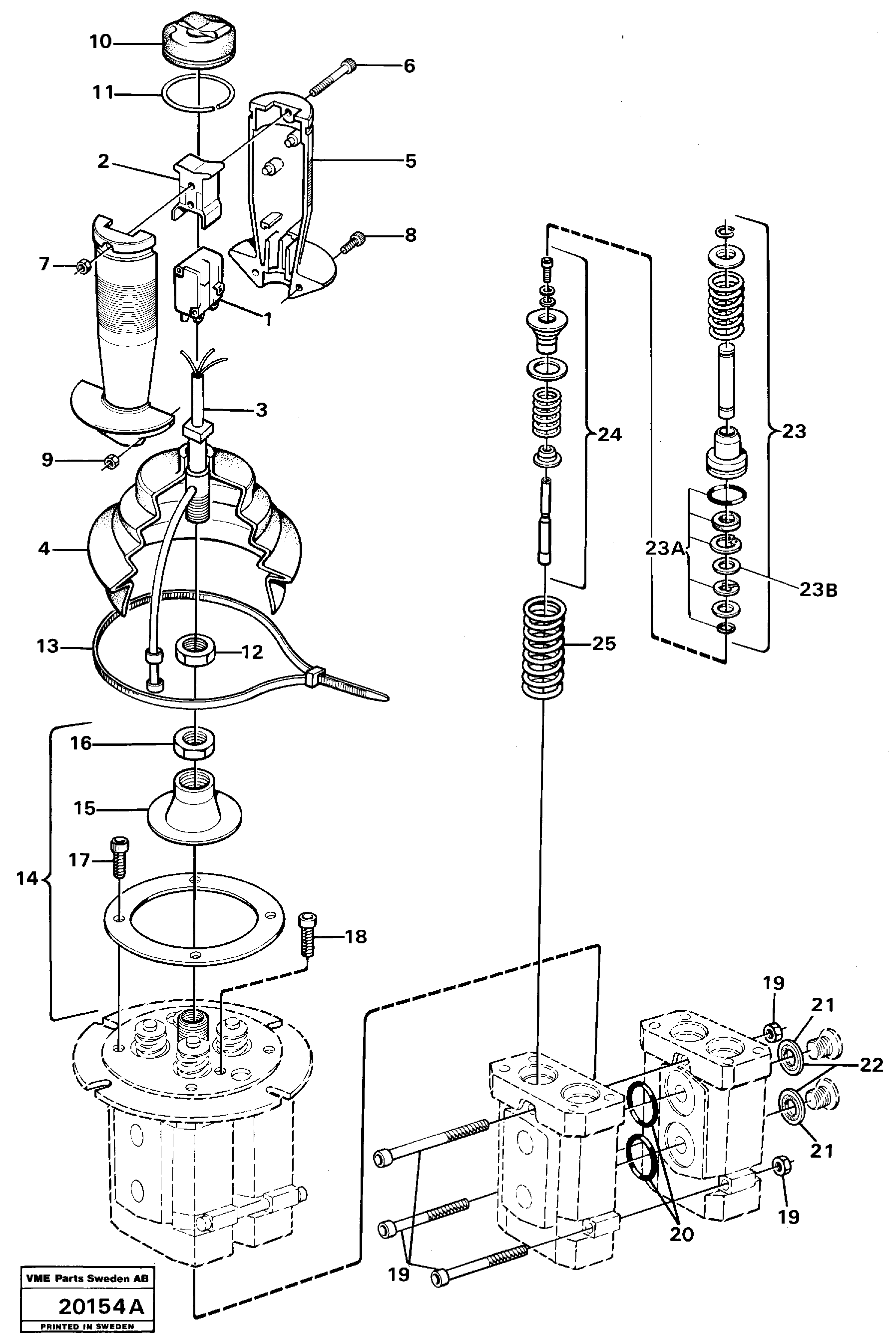
Запчасти Volvo L160 16065 Servo valve L160 VOLVO BM L160

Схема запчастей Volvo L160 - 16065 Servo valve L160 VOLVO BM L160
FIT
1:1
100%

Артикул

Название

Примечание

Количество

VOE 6646254

Прокладка

1шт.

VOE 6646254

Прокладка

1шт.

VOE 11993699

Spring assembly

5,0-14,4 BAR

1шт.

VOE 6646254

Прокладка

1шт.

VOE 6646254

Прокладка

1шт.

VOE 11993701

Spring assembly

10,0-27,3 BAR

1шт.

VOE 6646254

Прокладка

1шт.

VOE 6646254

Прокладка

1шт.

VOE 11023690

Servo valve

FRAMRE / FORWARD

1шт.

VOE 11023691

Servo valve

BAKRE / REAR

1шт.

VOE 11991316

Spacer washer

THICK = 0,5

1шт.

VOE 11991049

Spacer washer

THICK = 0,3

1шт.

1

VOE 6645365

Microswitch

1шт.

1

VOE 6645365

Microswitch

1шт.

10

VOE 6645367

Bellows

1шт.

10

VOE 6645367

Bellows

1шт.

12

VOE 6646258

Гайка

1шт.

12

VOE 6646258

Гайка

1шт.

13

VOE 6644206

Зажим

1шт.

13

VOE 6644206

Зажим

1шт.

14

VOE 11993694

11993694

1шт.

16

VOE 11993704

Гайка

1шт.

17

VOE 959190

Allen Hd Screw

1шт.

18

VOE 6244006

Болт

1шт.

19

VOE 11993695

Комплект винтов

1шт.

2

VOE 6645366

Push button

1шт.

2

VOE 6645366

Push button

1шт.

20

VOE 11993696

Кольцо уплотнительное (О-кольцо)

1шт.

21

VOE 14013067

Sealing washer

1шт.

21

VOE 14013067

Sealing washer

1шт.

22

VOE 958225

Кольцо уплотнительное (О-кольцо)

1шт.

22

VOE 958225

Кольцо уплотнительное (О-кольцо)

1шт.

23

VOE 11991323

Клапан

1шт.

23A

VOE 11991047

Sealing kit

1шт.

23B

VOE 11991048

Spacer washer

THICK = 0,2

1шт.

24

VOE 11993702

Spring assembly

6,0-27,2 BAR

1шт.

25

VOE 11994393

Return spring

(11993703)

1шт.

4

VOE 6644204

Boot

1шт.

5

VOE 6212935

6212935

1шт.

6

VOE 6646263

Болт

1шт.

6

VOE 6646263

Болт

1шт.

7

VOE 955779

Hexagon nut

1шт.

7

VOE 955779

Hexagon nut

1шт.

8

VOE 959174

Allen Hd Screw

1шт.

9

VOE 955779

Hexagon nut

1шт.

9

VOE 955779

Hexagon nut

1шт.

Выбрано товаров: 0