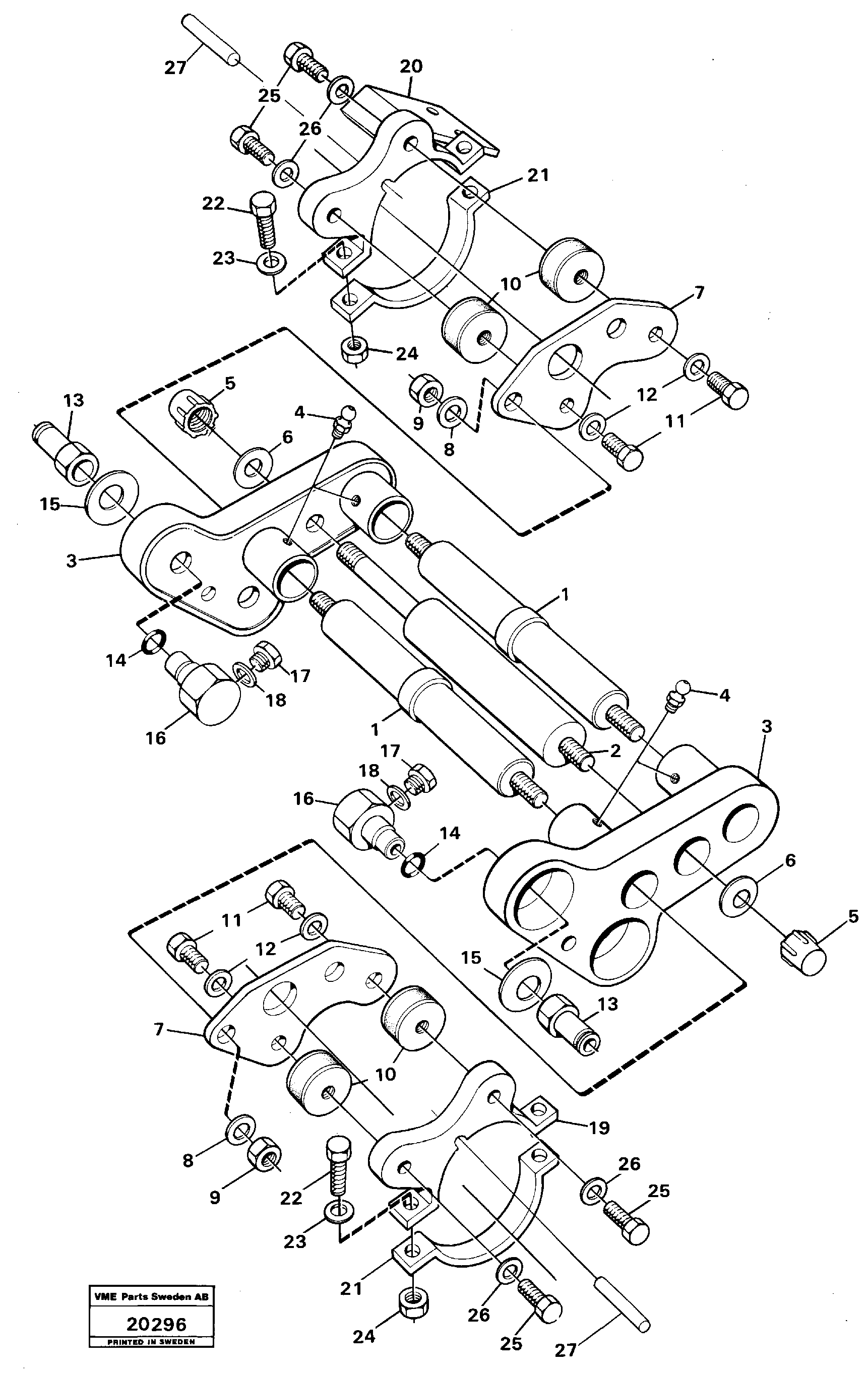
Запчасти Volvo L160 1710 Hydraulic automatic attachment coupling L160 VOLVO BM L160

Схема запчастей Volvo L160 - 1710 Hydraulic automatic attachment coupling L160 VOLVO BM L160
FIT
1:1
100%

Артикул

Название

Примечание

Количество

VOE 11010882

Loader Unit

1шт.

1

VOE 11010911

Steering Axle

1шт.

10

VOE 11010914

Rubber Block

1шт.

11

VOE 13970946

Винт шестигранник

(970946)

1шт.

11

VOE 13970946

Винт шестигранник

(970946)

1шт.

12

VOE 925742

Шайба

1шт.

12

VOE 925742

Шайба

1шт.

13

VOE 11010980

Quick Coupling

1шт.

14

VOE 11990633

Кольцо уплотнительное (О-кольцо)

1шт.

15

VOE 11010884

Disc Spring

1шт.

16

VOE 11010879

Адаптер

1шт.

17

VOE 914394

Пробка (заглушка)

1шт.

17

VOE 914394

Пробка (заглушка)

1шт.

18

VOE 14013070

Sealing washer

1шт.

18

VOE 14013070

Sealing washer

1шт.

19

VOE 11010242

Cap

1шт.

2

VOE 11010904

Cont Cylinder

1шт.

2

VOE 11010904

Cont Cylinder

1шт.

20

VOE 11011839

Cap

1шт.

21

VOE 11010243

Cap

1шт.

22

VOE 970952

Винт шестигранник

(970952)

1шт.

22

VOE 970952

Винт шестигранник

(970952)

1шт.

23

VOE 976945

Шайба

(960148)

1шт.

23

VOE 976945

Шайба

(960148)

1шт.

24

VOE 13971083

Lock nut

(971083)

1шт.

24

VOE 13971083

Lock nut

(971083)

1шт.

25

VOE 13970946

Винт шестигранник

(970946)

1шт.

25

VOE 13970946

Винт шестигранник

(970946)

1шт.

26

VOE 925742

Шайба

1шт.

26

VOE 925742

Шайба

1шт.

27

VOE 11010517

Round Bar

1шт.

4

VOE 914167

Nipple

1шт.

4

VOE 914167

Nipple

1шт.

5

VOE 11010915

Пробка (заглушка)

1шт.

6

VOE 11010916

Disc Spring

1шт.

8

VOE 955899

Шайба

1шт.

8

VOE 955899

Шайба

1шт.

9

VOE 13971085

Lock nut

(971085)

1шт.

9

VOE 13971085

Lock nut

(971085)

1шт.

Выбрано товаров: 0