Запчасти Volvo L160 97484 Feed pump L160 VOLVO BM L160

Схема запчастей Volvo L160 - 97484 Feed pump L160 VOLVO BM L160
FIT
1:1
100%

Артикул

Название

Примечание

Количество

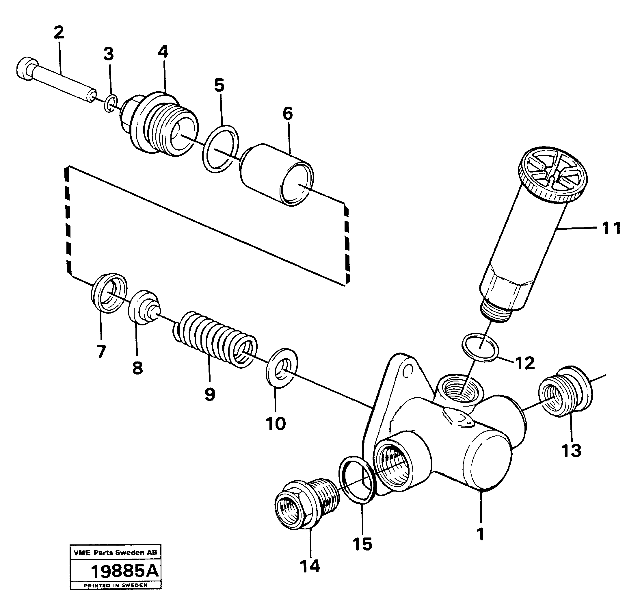
VOE 3094341

Кольцо уплотнительное (О-кольцо)

FD 369 -

1шт.

VOE 3094341

Кольцо уплотнительное (О-кольцо)

FD 369 -

1шт.

VOE 244825

Feed pump

1шт.

VOE 3094340

Nipple

FD 369 - : M 22 x 1,5

1шт.

VOE 3094340

Nipple

FD 369 - : M 22 x 1,5

1шт.

10

VOE 244833

Spring disc

1шт.

10

VOE 244833

Spring disc

1шт.

11

VOE 3094547

Hand pump

1шт.

11

VOE 3094547

Hand pump

1шт.

12

VOE 240572

Прокладка

1шт.

12

VOE 240572

Прокладка

1шт.

13

VOE 244836

Втулка

1шт.

13

VOE 244836

Втулка

1шт.

14

VOE 244837

Nipple

FD - 368: M 24 x 1,5

1шт.

14

VOE 244837

Nipple

FD - 368: M 24 x 1,5

1шт.

15

VOE 244838

Кольцо уплотнительное (О-кольцо)

FD - 368

1шт.

2

VOE 244826

Толкатель штанги

1шт.

3

VOE 11716292

Кольцо уплотнительное (О-кольцо)

1шт.

4

VOE 244827

Nipple

1шт.

4

VOE 244827

Nipple

1шт.

5

VOE 15031180

Кольцо уплотнительное (О-кольцо)

1шт.

6

VOE 244831

Поршень

1шт.

6

VOE 244831

Поршень

1шт.

7

VOE 11706665

Spacer ring

1шт.

7

VOE 11706665

Spacer ring

1шт.

8

VOE 244834

Клапан

1шт.

8

VOE 244834

Клапан

1шт.

9

VOE 244832

Пружина

1шт.

Выбрано товаров: 28