Запчасти Volvo L160 330 Гидроцилиндр ATTACHMENTS ATTACHMENTS MISCELLANEOUS

Схема запчастей Volvo L160 - 330 Гидроцилиндр ATTACHMENTS ATTACHMENTS MISCELLANEOUS
FIT
1:1
100%

Артикул

Название

Примечание

Количество

VOE 13960178

Кольцо уплотнительное (О-кольцо)

1шт.

VOE 13960178

Кольцо уплотнительное (О-кольцо)

1шт.

VOE 6630650

Gasket Kit

1шт.

VOE 6630650

Gasket Kit

1шт.

VOE 6630637

Sealing Kit

1шт.

VOE 6630637

Sealing Kit

1шт.

VOE 11000107

Gasket Kit

1шт.

VOE 11000107

Gasket Kit

1шт.

VOE 4782857

Болт

1шт.

VOE 4782857

Болт

1шт.

VOE 4784388

Cylinder tube

1шт.

VOE 4784755

Cylinder tube

1шт.

VOE 356313

Link Bearing

1шт.

VOE 356313

Link Bearing

1шт.

VOE 4782994

Гидроцилиндр

1шт.

VOE 4782994

Гидроцилиндр

1шт.

VOE 4784151

Гидроцилиндр

1шт.

VOE 4784151

Гидроцилиндр

1шт.

VOE 4784387

Гидроцилиндр

1шт.

VOE 4784387

Гидроцилиндр

1шт.

VOE 4784754

Гидроцилиндр

1шт.

VOE 4784975

Шток поршня

1шт.

VOE 4784975

Шток поршня

1шт.

VOE 11088683

Шток поршня

1шт.

VOE 11088683

Шток поршня

1шт.

VOE 4784757

Шток поршня

1шт.

VOE 4833372

Поршень

1шт.

VOE 4833372

Поршень

1шт.

VOE 4833375

Поршень

1шт.

VOE 4833375

Поршень

1шт.

VOE 4833026

Сальник

1шт.

VOE 4833027

Сальник

1шт.

VOE 4782720

Палец

1шт.

VOE 4784160

Pstn Rod Guide

1шт.

VOE 4784160

Стакан штока поршня (направляющая)

1шт.

VOE 4782988

Стакан штока поршня (направляющая)

1шт.

VOE 4782988

Pstn Rod Guide

1шт.

VOE 925027

Кольцо уплотнительное (О-кольцо)

1шт.

VOE 925027

Кольцо уплотнительное (О-кольцо)

1шт.

VOE 4786742

Back-up ring

1шт.

VOE 4786742

Back-up ring

1шт.

VOE 4786743

Back-up ring

1шт.

VOE 4786743

Back-up ring

1шт.

VOE 4784047

Уплотнение штока поршня

1шт.

VOE 4784047

Уплотнение штока поршня

1шт.

VOE 11005055

Scraper

1шт.

VOE 941908

Шайба пружинная

1шт.

VOE 941908

Шайба пружинная

1шт.

VOE 4784691

Стакан штока поршня (направляющая)

1шт.

VOE 4784691

Pstn Rod Guide

1шт.

VOE 925081

Кольцо уплотнительное (О-кольцо)

1шт.

VOE 925081

Кольцо уплотнительное (О-кольцо)

1шт.

VOE 4784156

Cylinder tube

1шт.

VOE 4784156

Cylinder tube

1шт.

VOE 914544

Кольцо стопорное

1шт.

VOE 914544

Snap Ring

1шт.

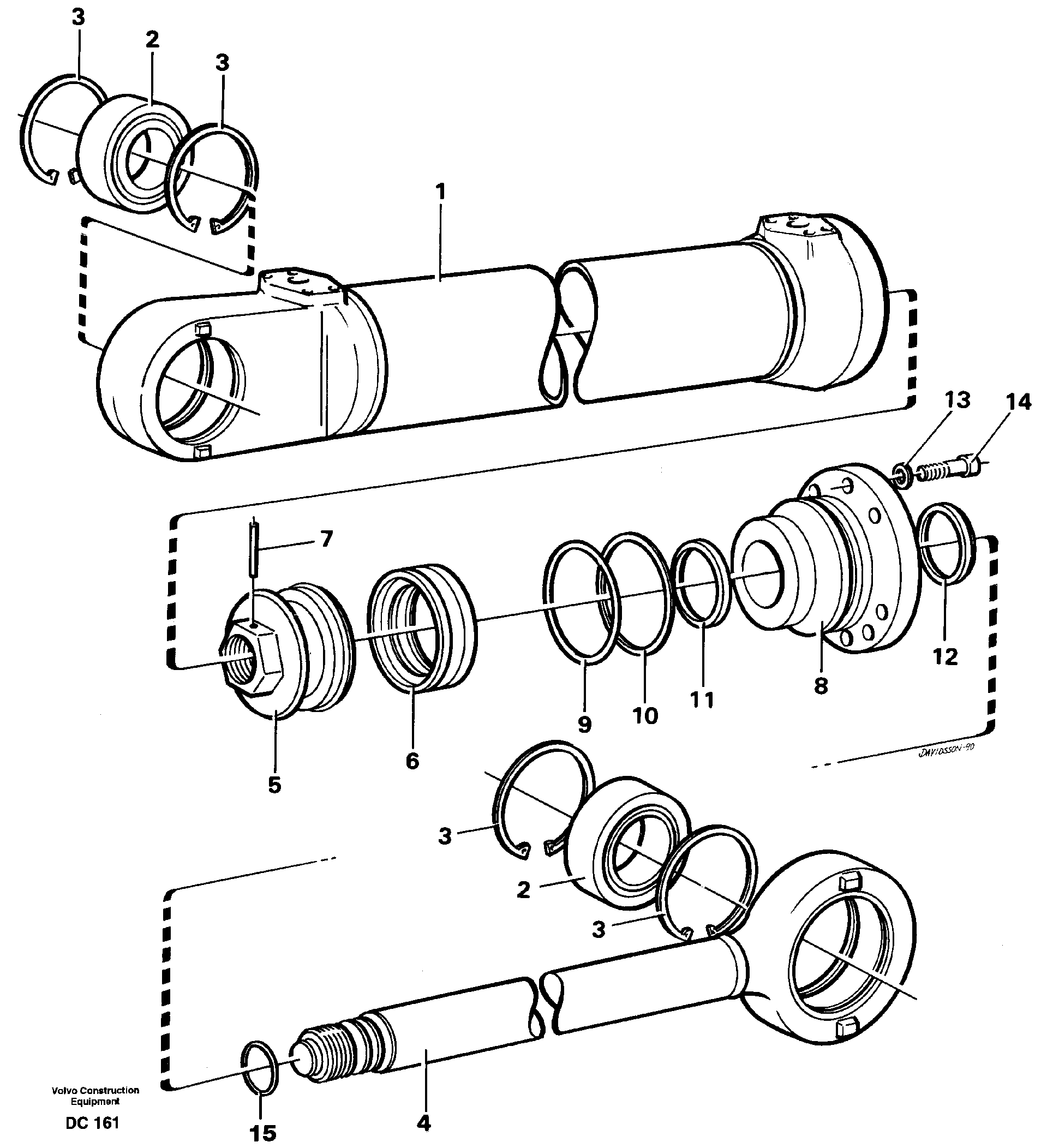
1

VOE 4782998

Cylinder tube

1шт.

1

VOE 4782998

Cylinder tube

1шт.

10

VOE 4786962

Back-up ring

1шт.

11

VOE 4784048

Уплотнение штока поршня

1шт.

11

VOE 4784048

Уплотнение штока поршня

1шт.

12

VOE 11005057

Scraper

1шт.

13

VOE 940280

Шайба пружинная

1шт.

13

VOE 940280

Шайба пружинная

1шт.

14

VOE 4782859

Болт

1шт.

14

VOE 4782859

Болт

1шт.

15

VOE 960226

Кольцо уплотнительное (О-кольцо)

1шт.

15

VOE 960226

Кольцо уплотнительное (О-кольцо)

1шт.

2

VOE 184179

Spherical plain bearing

1шт.

2

VOE 184179

Spherical plain bearing

1шт.

3

VOE 951090

Safety ring

1шт.

3

VOE 951090

Safety ring

1шт.

4

VOE 11088670

Шток поршня

1шт.

4

VOE 11088670

Шток поршня

1шт.

5

VOE 4833384

Поршень

1шт.

5

VOE 4833384

Поршень

1шт.

6

VOE 4833038

Piston seal

1шт.

6

VOE 4833038

Piston seal

1шт.

7

VOE 4782719

Палец

1шт.

8

VOE 4782996

Стакан штока поршня (направляющая)

1шт.

8

VOE 4782996

Pstn Rod Guide

1шт.

9

VOE 925030

Кольцо уплотнительное (О-кольцо)

1шт.

9

VOE 925030

Кольцо уплотнительное (О-кольцо)

1шт.

Выбрано товаров: 83