Запчасти Volvo L180 35789 Grapple ATTACHMENTS ATTACHMENTS WHEEL LOADERS GEN. - C

Схема запчастей Volvo L180 - 35789 Grapple ATTACHMENTS ATTACHMENTS WHEEL LOADERS GEN. - C
FIT
1:1
100%

Артикул

Название

Примечание

Количество

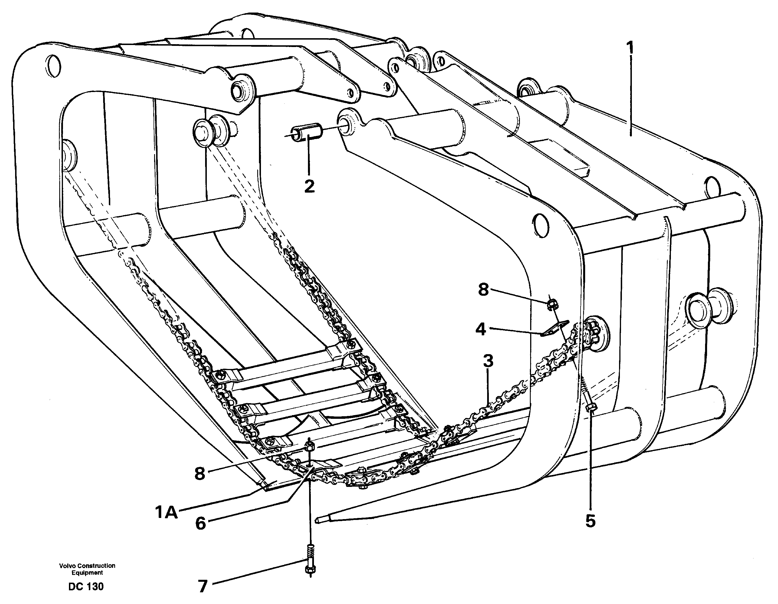
1A

VOE 4858425

Tip plate

1шт.

1A

VOE 4858425

Tip plate

1шт.

2

VOE 4880471

Втулка

1шт.

2

VOE 4880471

Втулка

1шт.

3

VOE 11011784

Roller chain

1шт.

3

VOE 11011784

Roller chain

1шт.

5

VOE 955397

Винт шестигранник

1шт.

5

VOE 955397

Винт шестигранник

1шт.

6

VOE 11010997

Направляющая

1шт.

6

VOE 11010997

Направляющая

1шт.

7

VOE 955393

Винт шестигранник

1шт.

7

VOE 955393

Винт шестигранник

1шт.

8

VOE 963111

Lock nut

1шт.

8

VOE 963111

Lock nut

1шт.

Выбрано товаров: 14