Запчасти Volvo L180 13277 Compressor L180/L180C VOLVO BM VOLVO BM L180/L180C SER NO -2532 / -60469 USA

Схема запчастей Volvo L180 - 13277 Compressor L180/L180C VOLVO BM VOLVO BM L180/L180C SER NO -2532 / -60469 USA
FIT
1:1
100%

Артикул

Название

Примечание

Количество

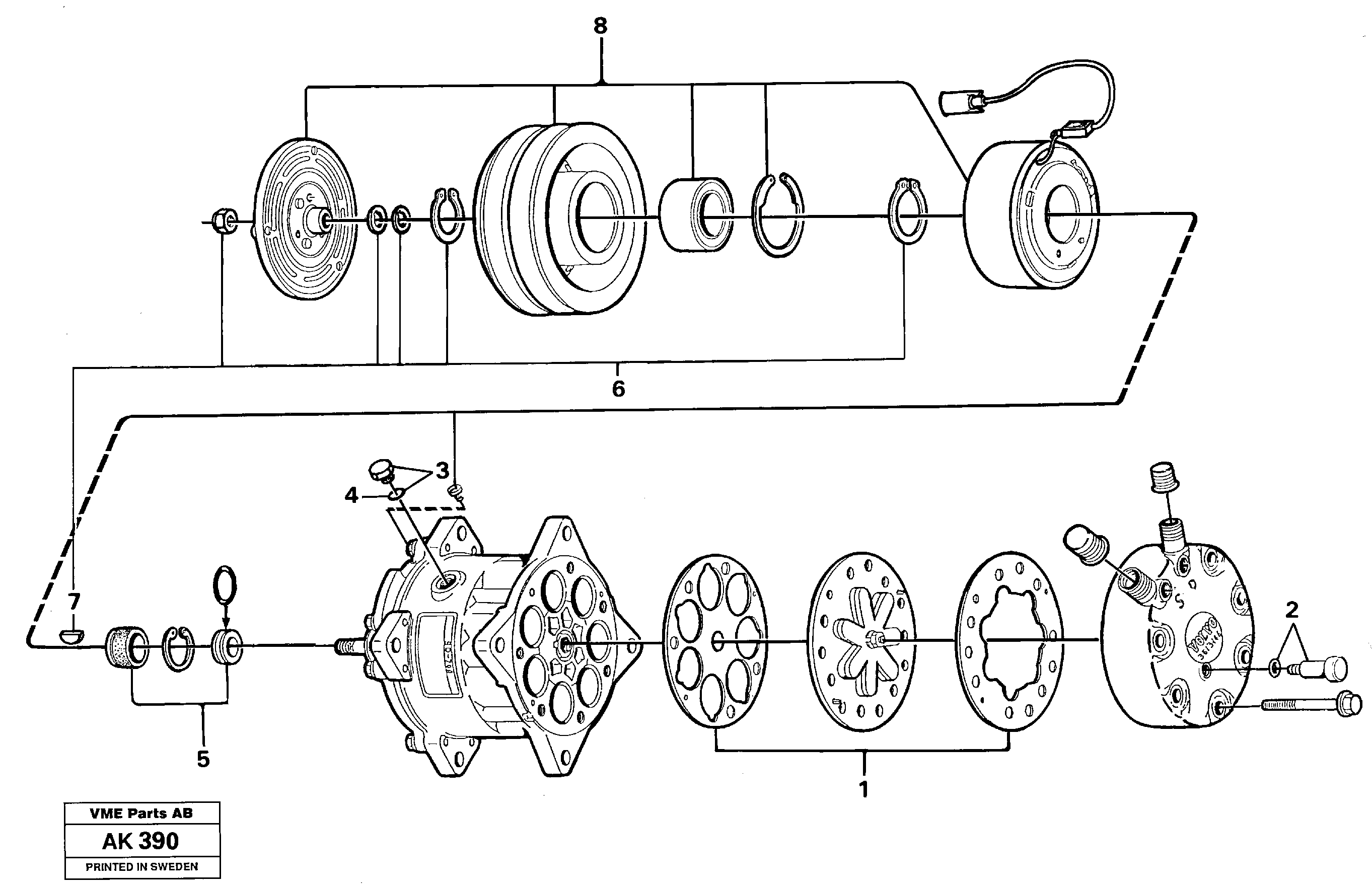
VOE 11007314

Compressor

1шт.

VOE 11007314

Compressor

1шт.

VOE 11007857

Compressor

SER NO 1964 -

1шт.

VOE 11007857

Compressor

SER NO 1964 -

1шт.

VOE 11701034

Solenoid Clutch

MA17

1шт.

VOE 11701034

Solenoid Clutch

MA17

1шт.

1

VOE 11713143

Gasket Kit

1шт.

1

VOE 11713143

Gasket Kit

1шт.

2

VOE 3090748

Клапан предохранительный (разгрузочный, сброса давления)

1шт.

3

VOE 3090745

Пробка (заглушка)

1шт.

3

VOE 3090745

Пробка (заглушка)

1шт.

4

VOE 3090746

Кольцо уплотнительное (О-кольцо)

1шт.

4

VOE 3090746

Кольцо уплотнительное (О-кольцо)

1шт.

5

VOE 3090743

Sealing Kit

1шт.

5

VOE 3090743

Sealing Kit

1шт.

6

VOE 3090753

Small Parts Kit

1шт.

6

VOE 3090753

Small Parts Kit

1шт.

7

VOE 3090747

Key

1шт.

7

VOE 3090747

Key

1шт.

8

VOE 3090750

Solenoid Clutch

MA17

1шт.

8

VOE 3090750

Solenoid Clutch

MA17

1шт.

Выбрано товаров: 0