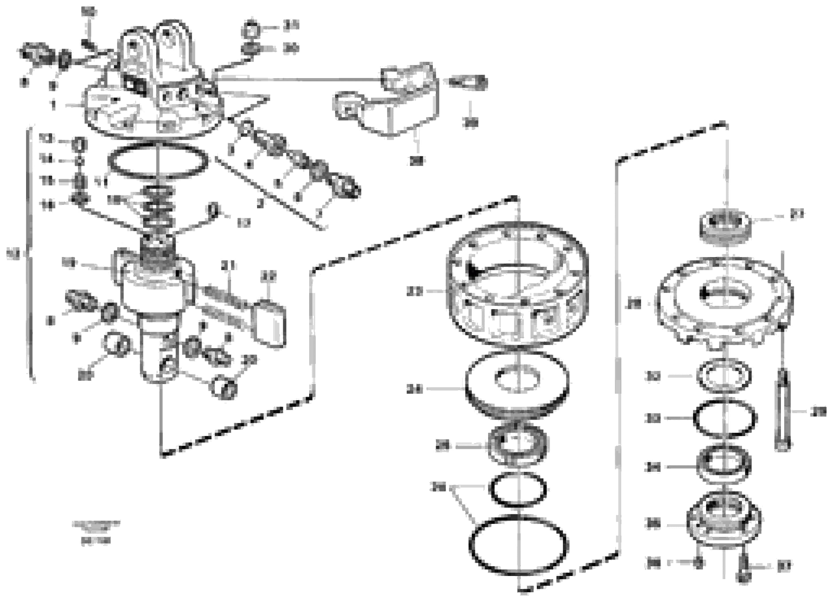
Запчасти Volvo L180C 59561 Rotator ATTACHMENTS ATTACHMENTS WHEEL LOADERS GEN. - C

Схема запчастей Volvo L180C - 59561 Rotator ATTACHMENTS ATTACHMENTS WHEEL LOADERS GEN. - C
FIT
1:1
100%

Артикул

Название

Примечание

Количество

VOE 6212586

Sealing kit

1шт.

VOE 4888440

Rotator

REPL BY 11010313

1шт.

12

VOE 6212578

Rotor shaft

1шт.

14

VOE 6212579

Ball

1шт.

15

VOE 6212580

Пружина

1шт.

2

VOE 6212574

Non-return valve

1шт.

20

VOE 6212581

Втулка

1шт.

21

VOE 6212582

Пружина

1шт.

22

VOE 6212583

Vane

1шт.

25

VOE 6212584

Подшипник

1шт.

27

VOE 6212585

Подшипник

1шт.

27

VOE 6212585

Подшипник

1шт.

29

VOE 947324

Винт шестигранник (торцевой ключ)

1шт.

39

VOE 13949445

Болт

1шт.

5

VOE 6212575

Peg

1шт.

6

VOE 6212576

Прокладка

1шт.

7

VOE 6212577

Nipple

1шт.

8

VOE 6212577

Nipple

1шт.

9

VOE 6212576

Прокладка

1шт.

Выбрано товаров: 19