Запчасти Volvo L180C 19029 Гидроцилиндр ATTACHMENTS ATTACHMENTS WHEEL LOADERS GEN. - C

Схема запчастей Volvo L180C - 19029 Гидроцилиндр ATTACHMENTS ATTACHMENTS WHEEL LOADERS GEN. - C
FIT
1:1
100%

Артикул

Название

Примечание

Количество

VOE 4782857

Болт

1шт.

VOE 4782857

Болт

1шт.

VOE 13960178

Кольцо уплотнительное (О-кольцо)

1шт.

VOE 13960178

Кольцо уплотнительное (О-кольцо)

1шт.

VOE 6630662

Gasket kit

1шт.

VOE 11000107

Gasket kit

1шт.

VOE 11000107

Gasket kit

1шт.

VOE 4784691

Стакан штока поршня (направляющая)

1шт.

VOE 4784691

Piston rod guide

1шт.

VOE 4786743

Back-up ring

1шт.

VOE 4786743

Back-up ring

1шт.

VOE 4784047

Уплотнение штока поршня

1шт.

VOE 4784047

Уплотнение штока поршня

1шт.

VOE 4782976

Cylinder tube

1шт.

VOE 4782976

Cylinder tube

1шт.

VOE 4784698

Cylinder tube

1шт.

VOE 356313

Link bearing

1шт.

VOE 356313

Link bearing

1шт.

VOE 914544

Кольцо стопорное

1шт.

VOE 914544

Retaining ring

1шт.

VOE 4833123

Шток поршня

1шт.

VOE 4784973

Шток поршня

1шт.

VOE 4784973

Шток поршня

1шт.

VOE 4784700

Шток поршня

1шт.

VOE 4833375

Поршень

1шт.

VOE 4833375

Поршень

1шт.

VOE 4833027

Сальник

1шт.

VOE 4782720

Палец

1шт.

VOE 4782988

Стакан штока поршня (направляющая)

1шт.

VOE 4782988

Piston rod guide

1шт.

VOE 4784702

Гидроцилиндр

1шт.

VOE 4833120

Гидроцилиндр

1шт.

VOE 4782979

Гидроцилиндр

1шт.

VOE 4782979

Гидроцилиндр

1шт.

VOE 941908

Шайба пружинная

1шт.

VOE 941908

Шайба пружинная

1шт.

VOE 11005055

Scraper

1шт.

VOE 4784745

Cylinder tube

1шт.

VOE 4784697

Гидроцилиндр

1шт.

VOE 925027

Кольцо уплотнительное (О-кольцо)

1шт.

VOE 925027

Кольцо уплотнительное (О-кольцо)

1шт.

VOE 4784747

Шток поршня

1шт.

VOE 4784744

Гидроцилиндр

PART NO 4784744

1шт.

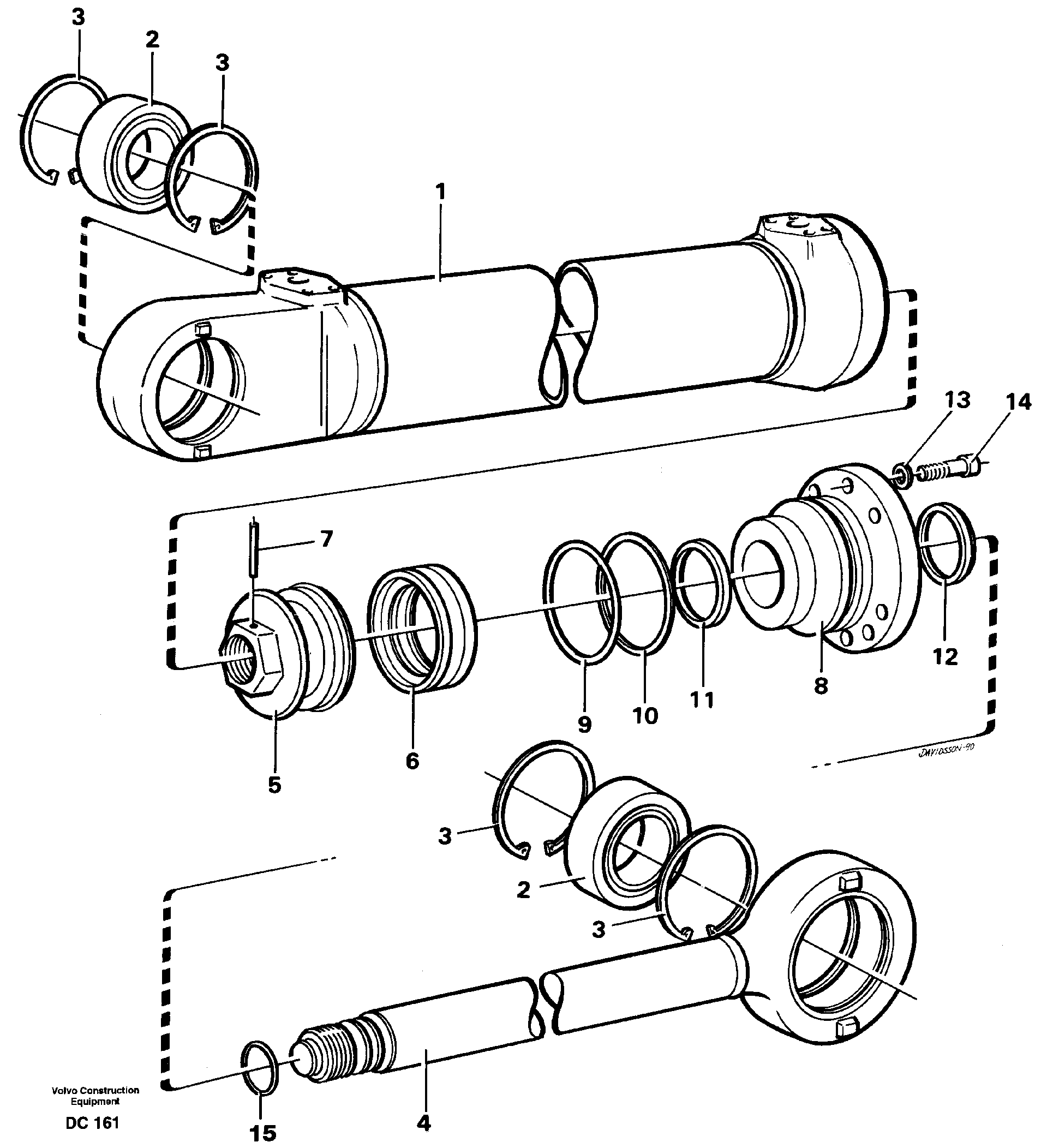
1

VOE 4784703

Cylinder tube

1шт.

10

VOE 4787062

Back-up ring

1шт.

11

VOE 4784044

Уплотнение штока поршня

1шт.

12

VOE 11005051

11005051

1шт.

13

VOE 13941907

Шайба пружинная

1шт.

13

VOE 13941907

Шайба

1шт.

14

VOE 13948400

Болт

1шт.

14

VOE 13948400

Болт

1шт.

15

VOE 13960172

Кольцо уплотнительное (О-кольцо)

1шт.

15

VOE 13960172

Кольцо уплотнительное (О-кольцо)

1шт.

2

VOE 184059

Spherical plain bearing

1шт.

2

VOE 184059

Spherical plain bearing

1шт.

3

VOE 914530

Кольцо стопорное

1шт.

3

VOE 914530

Retaining ring

1шт.

4

VOE 4784705

Шток поршня

1шт.

5

VOE 4782406

Поршень

1шт.

5

VOE 4782406

Поршень

1шт.

6

VOE 4833023

Сальник

1шт.

7

VOE 4782718

Палец

1шт.

8

VOE 4784687

Стакан штока поршня (направляющая)

1шт.

9

VOE 925094

Кольцо уплотнительное (О-кольцо)

1шт.

9

VOE 925094

Кольцо уплотнительное (О-кольцо)

1шт.

Выбрано товаров: 65