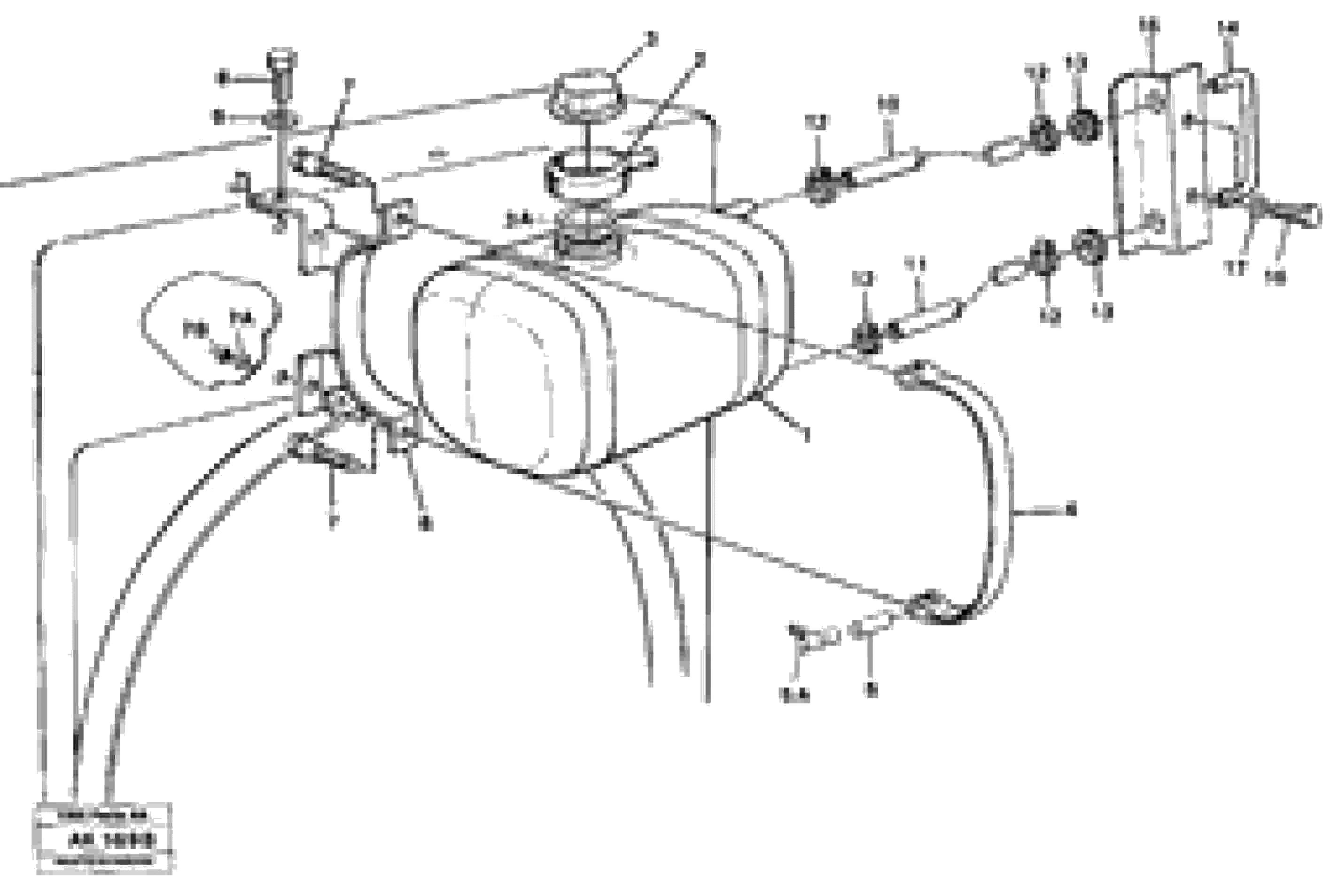
Запчасти Volvo L180C 29910 Expansion tank with fitting parts L180/L180C VOLVO BM VOLVO BM L180/L180C SER NO -2532 / -60469 USA

Схема запчастей Volvo L180C - 29910 Expansion tank with fitting parts L180/L180C VOLVO BM VOLVO BM L180/L180C SER NO -2532 / -60469 USA
FIT
1:1
100%

Артикул

Название

Примечание

Количество

VOE 3828863

Rubber collar

SER NO 2395 -

1шт.

1

VOE 11033336

Бак (бачок) расширительный

1шт.

10

VOE 11025584

Rubber hose

L = 300

1шт.

11

VOE 11025584

Rubber hose

L = 300

1шт.

12

VOE 943470

Hose clamp

1шт.

12

VOE 943470

Hose clamp

1шт.

13

VOE 941267

Пробка (заглушка)

1шт.

13

VOE 941267

Пробка (заглушка)

1шт.

14

VOE 11025334

Level Inspection Glass

1шт.

15

VOE 11025337

Тарелка клапана

1шт.

16

VOE 13955294

Болт

(955294)

1шт.

16

VOE 13955294

Болт

(955294)

1шт.

17

VOE 976944

Шайба

1шт.

17

VOE 976944

Шайба

1шт.

2

VOE 11033334

Фланец

SER NO - 2394

1шт.

3

VOE 1542591

Cap

(11033168)

1шт.

3

VOE 1542591

Cap

(11033168)

1шт.

3A

VOE 11033727

Lock ring

1шт.

4

VOE 11075152

Tensioning band

1шт.

5

VOE 7031404

7031404

SER NO - 1002

1шт.

5A

VOE 11025992

Палец

SER NO 1003 -

1шт.

6

VOE 11075149

11075149

1шт.

7

VOE 11033094

Болт

SER NO - 1002

1шт.

7A

VOE 976944

Шайба

SER NO 1003 -

1шт.

7A

VOE 976944

Шайба

SER NO 1003 -

1шт.

7B

VOE 946036

Lock nut

SER NO 1003 -

1шт.

7B

VOE 946036

Lock nut

SER NO 1003 -

1шт.

8

VOE 13955294

Болт

(955294)

1шт.

8

VOE 13955294

Болт

(955294)

1шт.

9

VOE 976944

Шайба

1шт.

9

VOE 976944

Шайба

1шт.

Выбрано товаров: 31