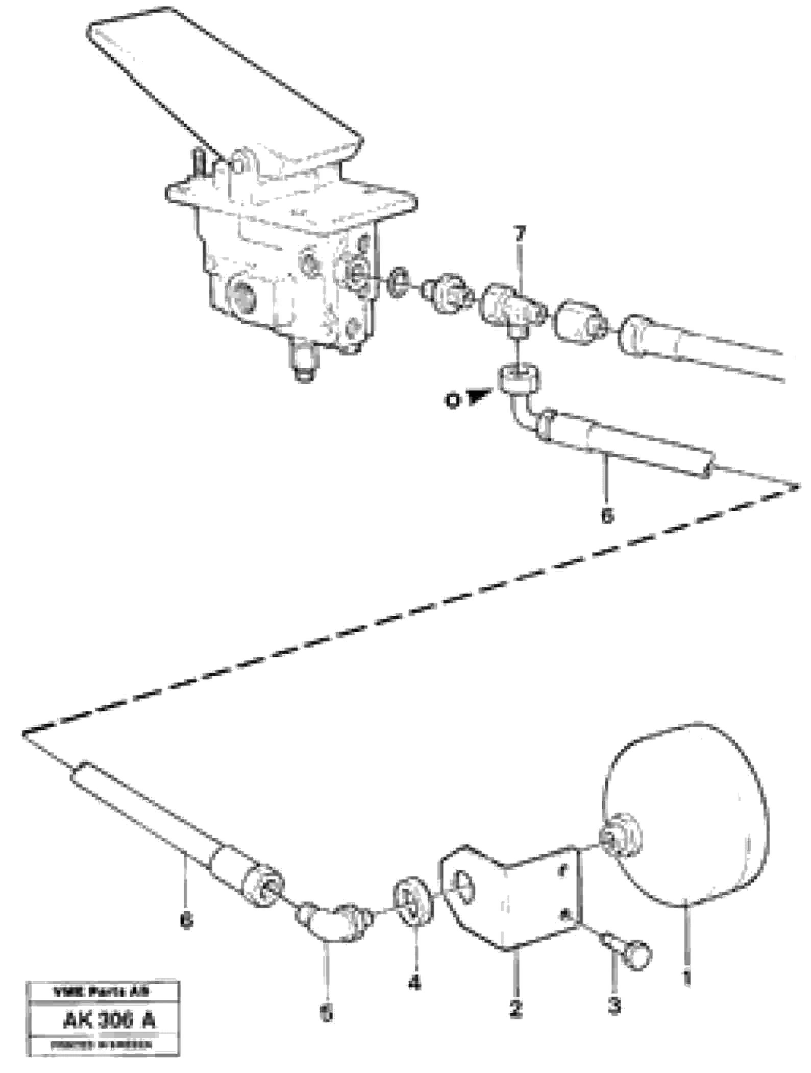
Запчасти Volvo L180C 94404 Accumulator L180/L180C VOLVO BM VOLVO BM L180/L180C SER NO -2532 / -60469 USA

Схема запчастей Volvo L180C - 94404 Accumulator L180/L180C VOLVO BM VOLVO BM L180/L180C SER NO -2532 / -60469 USA
FIT
1:1
100%

Артикул

Название

Примечание

Количество

VOE 11026669

Anchorage

SER NO 1625 -

1шт.

VOE 11993537

Кольцо уплотнительное (О-кольцо)

1шт.

VOE 11993537

Кольцо уплотнительное (О-кольцо)

1шт.

VOE 15160600

Гидроаккумулятор

1шт.

1

VOE 4872214

Гидроаккумулятор

1шт.

1

VOE 4872214

Гидроаккумулятор

1шт.

2

VOE 11026133

Attachment

SER NO - 1624

1шт.

3

VOE 13945444

Болт

(945444)

1шт.

3

VOE 13945444

Screw

(945444)

1шт.

4

VOE 4872215

Гайка

1шт.

4

VOE 4872215

Гайка

1шт.

5

VOE 4881171

Nipple

1шт.

5

VOE 4881171

Nipple

1шт.

6

VOE 932159

Hose assembly

L = 1300

1шт.

6

VOE 932159

Hose assembly

L = 1300

1шт.

Выбрано товаров: 15