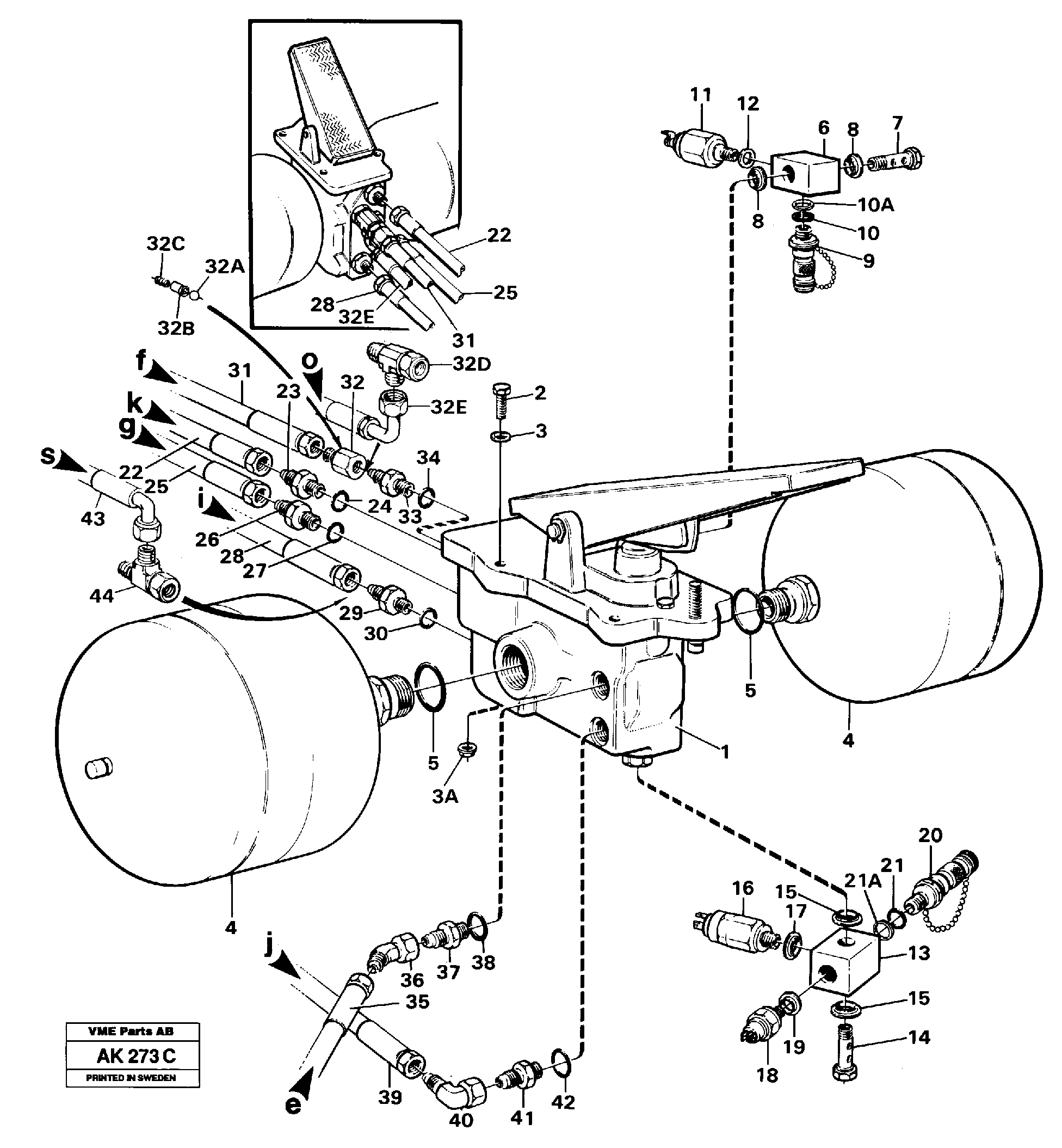
Запчасти Volvo L180C 99314 Footbrake valve with connectors L180/L180C VOLVO BM VOLVO BM L180/L180C SER NO -2532 / -60469 USA

Схема запчастей Volvo L180C - 99314 Footbrake valve with connectors L180/L180C VOLVO BM VOLVO BM L180/L180C SER NO -2532 / -60469 USA
FIT
1:1
100%

Артикул

Название

Примечание

Количество

VOE 11026228

Footbrake valve

SER NO 1319 - 2286

1шт.

VOE 4897257

Elbow nipple

90 DEGREES / GRADER

1шт.

VOE 4897257

Elbow nipple

90 DEGREES / GRADER

1шт.

VOE 4803809

Pressure sensor

SE14

1шт.

VOE 4803809

Pressure sensor

SE14

1шт.

VOE 15160600

Гидроаккумулятор

1шт.

VOE 11026993

Footbrake valve

SER NO 2287 -

1шт.

1

VOE 11075294

Footbrake valve

SER NO - 1318

1шт.

10

VOE 931209

Кольцо уплотнительное (О-кольцо)

1шт.

10

VOE 931209

Кольцо уплотнительное (О-кольцо)

1шт.

10A

VOE 931216

Back-up ring

1шт.

10A

VOE 931216

Back-up ring

1шт.

11

VOE 4803809

Pressure sensor

SE14

1шт.

11

VOE 4803809

Pressure sensor

SE14

1шт.

12

VOE 976928

Прокладка

1шт.

12

VOE 976928

Прокладка

1шт.

13

VOE 11025052

Nipple

1шт.

13

VOE 11025052

Nipple

1шт.

14

VOE 13947975

Hollow screw

1шт.

14

VOE 13947975

Hollow screw

1шт.

15

VOE 976928

Прокладка

1шт.

15

VOE 976928

Прокладка

1шт.

16

VOE 4881371

Pressure sensor

SE2

1шт.

17

VOE 947083

Прокладка

SER NO - 1006

1шт.

17

VOE 947083

Прокладка

SER NO - 1006

1шт.

18

VOE 4803620

Brake light switch

SE29

1шт.

18

VOE 4803620

Brake light switch

SE29

1шт.

19

VOE 947083

Прокладка

SER NO - 1006

1шт.

19

VOE 947083

Прокладка

SER NO - 1006

1шт.

2

VOE 940142

Винт шестигранник

SER NO - 1261

1шт.

2

VOE 940142

Винт шестигранник

SER NO - 1261

1шт.

20

VOE 930032

Testing nipple

1шт.

20

VOE 930032

Testing nipple

1шт.

21

VOE 931209

Кольцо уплотнительное (О-кольцо)

1шт.

21

VOE 931209

Кольцо уплотнительное (О-кольцо)

1шт.

21A

VOE 931216

Back-up ring

1шт.

21A

VOE 931216

Back-up ring

1шт.

23

VOE 4897198

Clutch

P

1шт.

24

VOE 967750

Кольцо уплотнительное (О-кольцо)

1шт.

24

VOE 967750

Кольцо уплотнительное (О-кольцо)

1шт.

26

VOE 4897198

Clutch

N

1шт.

27

VOE 967750

Кольцо уплотнительное (О-кольцо)

1шт.

27

VOE 967750

Кольцо уплотнительное (О-кольцо)

1шт.

29

VOE 4881644

Nipple

T

1шт.

29

VOE 4881644

Nipple

T

1шт.

3

VOE 13955894

Шайба

1шт.

3

VOE 13955894

Шайба

1шт.

30

VOE 11993537

Кольцо уплотнительное (О-кольцо)

1шт.

30

VOE 11993537

Кольцо уплотнительное (О-кольцо)

1шт.

32

VOE 11026969

Non-return valve

SER NO 2126 -

1шт.

32

VOE 11026969

Клапан обратный

SER NO 2126 -

1шт.

32

VOE 11025945

Non-return valve

SER NO - 2125

1шт.

32A

VOE 192601

Ball

1шт.

32A

VOE 192601

Ball

1шт.

32A

VOE 192601

Ball

1шт.

32A

VOE 192601

Ball

1шт.

32B

VOE 11025647

Peg

1шт.

32B

VOE 11025647

Peg

1шт.

32B

VOE 11025647

Peg

1шт.

32B

VOE 11025647

Peg

1шт.

32C

VOE 11026970

Compression spring

1шт.

32C

VOE 11026970

Compression spring

1шт.

32C

VOE 11026970

Compression spring

1шт.

32C

VOE 11026970

Compression spring

1шт.

32D

VOE 4821862

Tee

SER NO 1040 -

1шт.

33

VOE 4881644

Nipple

S3

1шт.

33

VOE 4881644

Nipple

S3

1шт.

34

VOE 11993537

Кольцо уплотнительное (О-кольцо)

1шт.

34

VOE 11993537

Кольцо уплотнительное (О-кольцо)

1шт.

36

VOE 4881311

L-connection

45 DEGREES / GRADER

1шт.

36

VOE 4881311

L-connection

45 DEGREES / GRADER

1шт.

37

VOE 4881644

Nipple

B1

1шт.

37

VOE 4881644

Nipple

B1

1шт.

38

VOE 11993537

Кольцо уплотнительное (О-кольцо)

1шт.

38

VOE 11993537

Кольцо уплотнительное (О-кольцо)

1шт.

3A

VOE 13945408

Гайка

SER NO 1262 -

1шт.

3A

VOE 13945408

Гайка

SER NO 1262 -

1шт.

4

VOE 4872214

Гидроаккумулятор

1шт.

4

VOE 4872214

Гидроаккумулятор

1шт.

40

VOE 4897257

Elbow nipple

90 DEGREES / GRADER

1шт.

40

VOE 4897257

Elbow nipple

90 DEGREES / GRADER

1шт.

41

VOE 4881644

Nipple

B2

1шт.

41

VOE 4881644

Nipple

B2

1шт.

42

VOE 11993537

Кольцо уплотнительное (О-кольцо)

1шт.

42

VOE 11993537

Кольцо уплотнительное (О-кольцо)

1шт.

43

VOE 13933447

Hose assembly

33808

1шт.

44

VOE 4821862

Tee

33808

1шт.

5

VOE 964116

Кольцо уплотнительное (О-кольцо)

1шт.

5

VOE 964116

Кольцо уплотнительное (О-кольцо)

1шт.

6

VOE 4948118

Nipple

1шт.

7

VOE 13947975

Hollow screw

1шт.

7

VOE 13947975

Hollow screw

1шт.

8

VOE 976928

Прокладка

1шт.

8

VOE 976928

Прокладка

1шт.

9

VOE 930032

Testing nipple

1шт.

9

VOE 930032

Testing nipple

1шт.

Выбрано товаров: 96