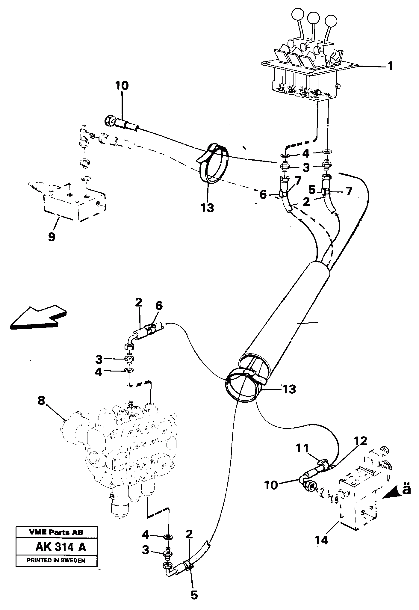
Запчасти Volvo L180C 22511 Hose for 3rd function and attachment lock L180/L180C VOLVO BM VOLVO BM L180/L180C SER NO -2532 / -60469 USA

Схема запчастей Volvo L180C - 22511 Hose for 3rd function and attachment lock L180/L180C VOLVO BM VOLVO BM L180/L180C SER NO -2532 / -60469 USA
FIT
1:1
100%

Артикул

Название

Примечание

Количество

VOE 4881722

Кольцо уплотнительное (О-кольцо)

1шт.

VOE 4881722

Кольцо уплотнительное (О-кольцо)

1шт.

VOE 4881722

Кольцо уплотнительное (О-кольцо)

1шт.

VOE 4881722

Кольцо уплотнительное (О-кольцо)

1шт.

10

VOE 13932971

Hose assembly

L = 2600

1шт.

10

VOE 13932971

Hose assembly

L = 2600

1шт.

11

VOE 4881454

Marking Sleeve

pink / rosa

1шт.

11

VOE 4881454

Marking Sleeve

pink / rosa

1шт.

12

VOE 4881440

Strip Clamp

1шт.

12

VOE 4881440

Strip Clamp

1шт.

13

VOE 11104606

Retaining Strap

1шт.

13

VOE 11104606

Retaining Strap

1шт.

2

VOE 13933019

Hose assembly

L = 2650

1шт.

2

VOE 13933019

Hose assembly

L = 2650

1шт.

3

VOE 13944524

Nipple

(944524)

1шт.

3

VOE 13944524

Nipple

(944524)

1шт.

4

VOE 14013067

Sealing washer

1шт.

4

VOE 14013067

Sealing washer

1шт.

5

VOE 4881453

Marking Sleeve

violet / violett

1шт.

5

VOE 4881453

Marking Sleeve

violet / violett

1шт.

6

VOE 11014127

Marking Sleeve

grey / gr?

1шт.

6

VOE 11014127

Marking Sleeve

grey / gr?

1шт.

7

VOE 4881440

Strip Clamp

1шт.

7

VOE 4881440

Strip Clamp

1шт.

Выбрано товаров: 24