Запчасти Volvo L180C 83250 Crankcase ventilation L180C S/N 2533-SWE, 60465-USA

Схема запчастей Volvo L180C - 83250 Crankcase ventilation L180C S/N 2533-SWE, 60465-USA
FIT
1:1
100%

Артикул

Название

Примечание

Количество

VOE 955541

Винт шестигранник

3/8" = 9.2 MM

1шт.

VOE 955541

Винт шестигранник

3/8" = 9.2 MM

1шт.

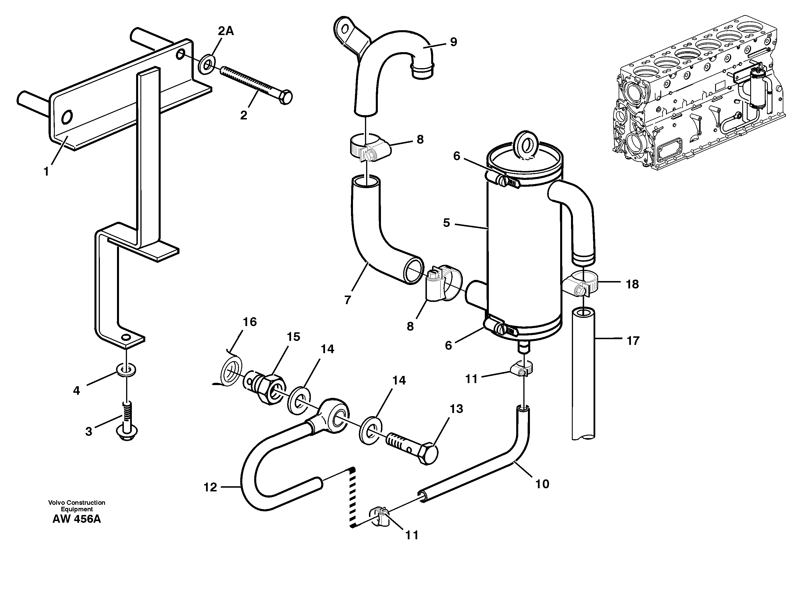
1

VOE 11031987

Кронштейн

1шт.

10

VOE 983342

Шланг

L = 350 MM

1шт.

10

VOE 983342

Шланг

L = 350 MM

1шт.

11

VOE 943470

Hose clamp

1шт.

11

VOE 943470

Hose clamp

1шт.

12

VOE 11030944

Трубка

1шт.

12

VOE 11030944

Трубка

1шт.

13

VOE 7025167

Hollow screw

1шт.

13

VOE 7025167

Hollow screw

1шт.

14

VOE 976929

Прокладка

1шт.

14

VOE 976929

Прокладка

1шт.

15

VOE 11127015

Reduction nipple

1шт.

17

VOE 927661

Rubber hose

L = 700 MM

1шт.

18

VOE 943475

Hose clamp

1шт.

18

VOE 943475

Hose clamp

1шт.

2

VOE 955529

Винт шестигранник

5/16" = 7.9 MM

1шт.

2

VOE 955529

Винт шестигранник

5/16" = 7.9 MM

1шт.

2A

VOE 13942336

Шайба пружинная

1шт.

2A

VOE 13942336

Шайба пружинная

1шт.

3

VOE 13946173

Screw

(VOE 946173)

1шт.

3

VOE 13946173

Болт

(VOE 946173)

1шт.

4

VOE 13955894

Шайба

(VOE 955894)

1шт.

4

VOE 13955894

Шайба

(VOE 955894)

1шт.

5

VOE 11033878

Oil trap

1шт.

5

VOE 11033878

Oil trap

1шт.

6

VOE 943483

Hose clamp

1шт.

6

VOE 943483

Hose clamp

1шт.

7

VOE 11032106

Шланг

1шт.

8

VOE 943476

Hose clamp

1шт.

Выбрано товаров: 31