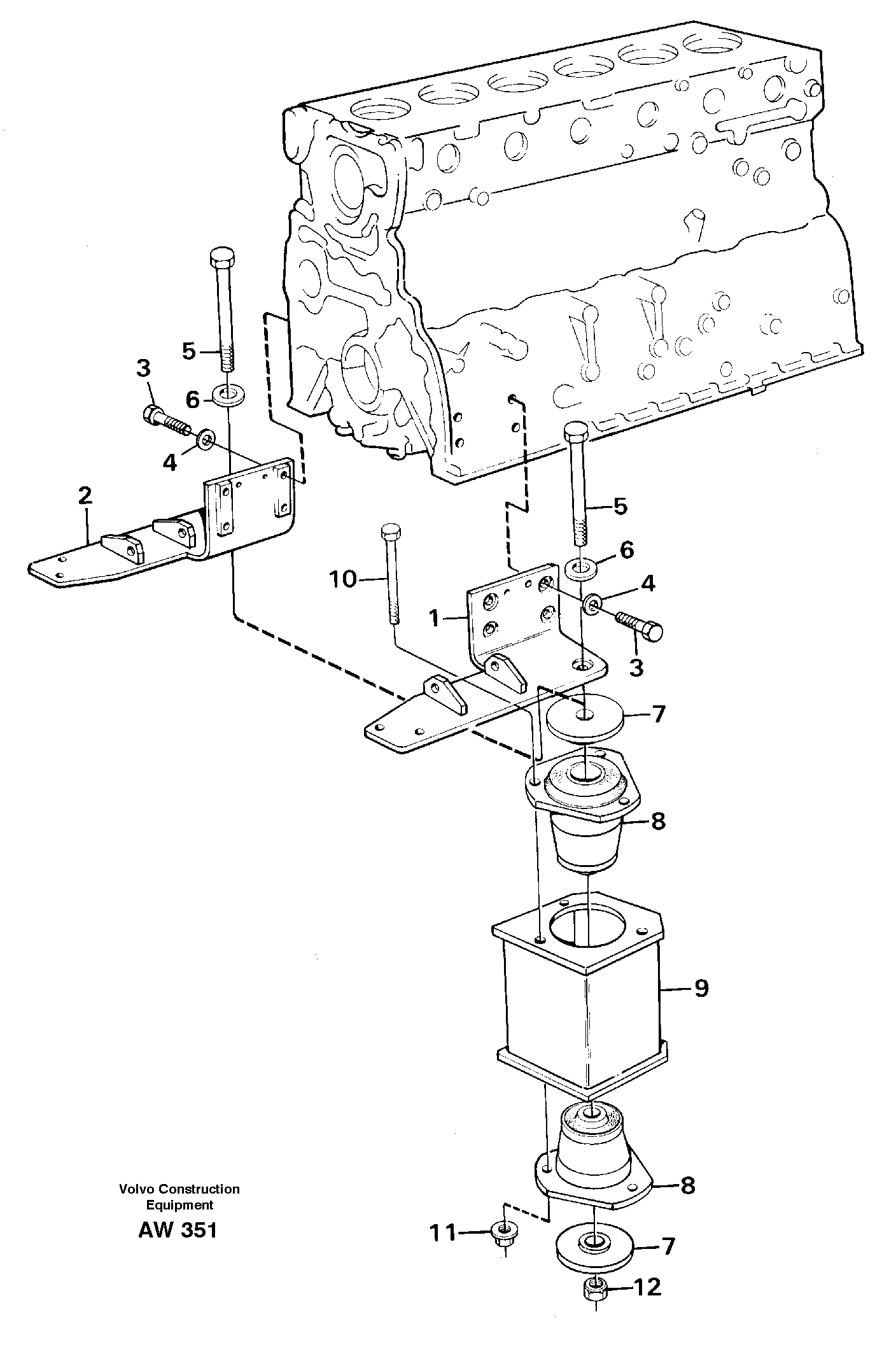
Запчасти Volvo L180C 11326 Установка двигателя L180C S/N 2533-SWE, 60465-USA

Схема запчастей Volvo L180C - 11326 Установка двигателя L180C S/N 2533-SWE, 60465-USA
FIT
1:1
100%

Артикул

Название

Примечание

Количество

VOE 11105134

Anchorage

RH

1шт.

VOE 11105135

Anchorage

LH

1шт.

1

VOE 11075307

Attachment

RH

1шт.

10

VOE 970988

Винт шестигранник

L = 160 MM

1шт.

10

VOE 970988

Винт шестигранник

L = 160 MM

1шт.

11

VOE 971099

Flange Lock Nut

(VOE 971099)

1шт.

11

VOE 971099

Flange Lock Nut

(VOE 971099)

1шт.

12

VOE 948835

Lock nut

1шт.

12

VOE 948835

Lock nut

1шт.

2

VOE 11075308

Attachment

LH

1шт.

3

VOE 955581

Винт шестигранник

1шт.

3

VOE 955581

Винт шестигранник

1шт.

4

VOE 930844

Шайба

1шт.

4

VOE 930844

Шайба

1шт.

5

VOE 13980047

Болт

L = 220 MM

1шт.

6

VOE 11055609

Шайба

1шт.

6

VOE 11055609

Шайба

1шт.

7

VOE 11075815

Шайба

1шт.

8

VOE 4880352

Rubber Damper

1шт.

9

VOE 11152145

Вставка

(11026598)

1шт.

Выбрано товаров: 20