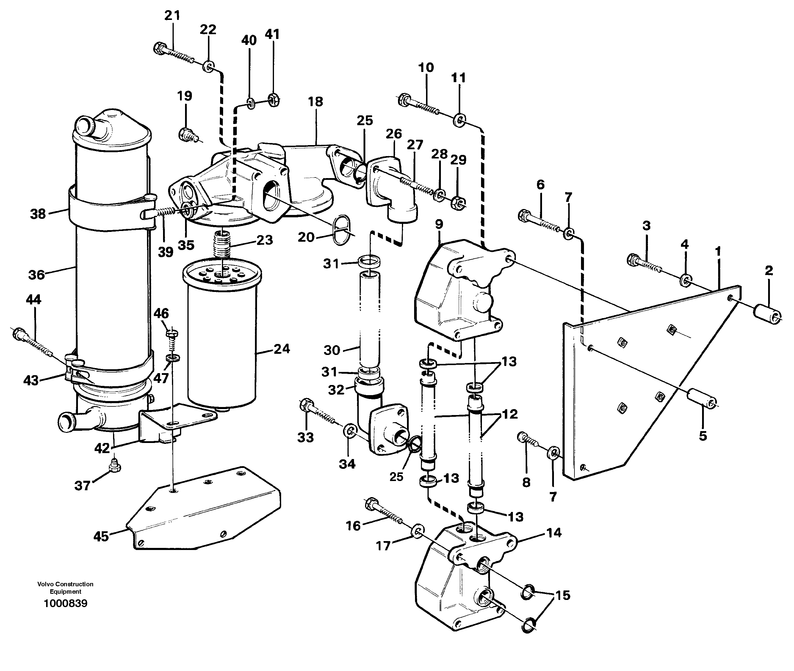
Запчасти Volvo L180C 86313 Oilfilter and oil cooler L180C S/N 2533-SWE, 60465-USA

Схема запчастей Volvo L180C - 86313 Oilfilter and oil cooler L180C S/N 2533-SWE, 60465-USA
FIT
1:1
100%

Артикул

Название

Примечание

Количество

VOE 11127006

Кронштейн

1шт.

VOE 13941907

Шайба пружинная

1шт.

VOE 13941907

Шайба

1шт.

VOE 13940097

Шайба

(VOE 940097)

1шт.

VOE 13940097

Шайба

(VOE 940097)

1шт.

VOE 946440

Flange screw

1шт.

VOE 946440

Flange screw

1шт.

VOE 13948587

Lock screw

1шт.

VOE 13948587

Lock screw

1шт.

VOE 940156

Болт

L = 89 MM

1шт.

VOE 940156

Винт шестигранник

L = 89 MM

1шт.

VOE 478736

Фильтр масляный

Long life filter

1шт.

1

VOE 11031859

11031859

1шт.

10

VOE 13940115

Болт

(VOE 940115)

1шт.

10

VOE 13940115

Болт

(VOE 940115)

1шт.

11

VOE 13940097

Шайба

(VOE 940097)

1шт.

11

VOE 13940097

Шайба

(VOE 940097)

1шт.

12

VOE 11031040

Трубка

1шт.

13

VOE 471956

Кольцо уплотнительное

1шт.

13

VOE 471956

Кольцо уплотнительное

1шт.

14

VOE 11127562

Картер (корпус)

(11031038)

1шт.

15

VOE 13949656

Кольцо уплотнительное (О-кольцо)

(VOE 949656)

1шт.

15

VOE 13949656

Кольцо уплотнительное (О-кольцо)

(VOE 949656)

1шт.

16

VOE 955541

Винт шестигранник

L = 76 MM

1шт.

16

VOE 955541

Винт шестигранник

L = 76 MM

1шт.

17

VOE 13942336

Шайба пружинная

(VOE 942336)

1шт.

17

VOE 13942336

Шайба пружинная

(VOE 942336)

1шт.

18

VOE 470983

Картер (корпус)

1шт.

18

VOE 470983

Картер (корпус)

1шт.

19

VOE 479955

Пробка (заглушка)

(VOE 947814)

1шт.

2

VOE 11031610

Вставка

1шт.

20

VOE 469486

Прокладка

1шт.

20

VOE 469486

Прокладка

1шт.

21

VOE 942529

Болт

L = 108 MM

1шт.

21

VOE 942529

Винт шестигранник

L = 108 MM

1шт.

22

VOE 13942336

Шайба пружинная

(VOE 942336)

1шт.

22

VOE 13942336

Шайба пружинная

(VOE 942336)

1шт.

23

VOE 466623

Nipple

1шт.

23

VOE 466623

Nipple

1шт.

24

VOE 466634

Фильтр масляный

1шт.

24

VOE 466634

Фильтр масляный

1шт.

25

VOE 949659

Кольцо уплотнительное (О-кольцо)

1шт.

25

VOE 949659

Кольцо уплотнительное (О-кольцо)

1шт.

26

VOE 11031593

Connecting flange

1шт.

26

VOE 11031593

Connecting flange

1шт.

27

VOE 953460

Шпилька

1шт.

27

VOE 953460

Шпилька

1шт.

28

VOE 13955894

Шайба

1шт.

28

VOE 13955894

Шайба

1шт.

29

VOE 955826

Гайка

1шт.

29

VOE 955826

Hexagon nut

1шт.

3

VOE 955564

Болт

1шт.

3

VOE 955564

Винт шестигранник

1шт.

30

VOE 11031597

Трубка

1шт.

30

VOE 11031597

Трубка

1шт.

31

VOE 471956

Кольцо уплотнительное

1шт.

31

VOE 471956

Кольцо уплотнительное

1шт.

32

VOE 11031608

Connecting flange

1шт.

32

VOE 11031608

Connecting flange

1шт.

33

VOE 13940159

Болт

(VOE 940159)

1шт.

33

VOE 13940159

Болт

(VOE 940159)

1шт.

34

VOE 13941907

Шайба пружинная

1шт.

34

VOE 13941907

Шайба

1шт.

35

VOE 469483

Кольцо уплотнительное

1шт.

35

VOE 469483

Кольцо уплотнительное

1шт.

36

VOE 468999

Масляный радиатор

1шт.

36

VOE 468999

Масляный радиатор

1шт.

37

VOE 180759

Пробка (заглушка)

1шт.

37

VOE 180759

Plug

1шт.

38

VOE 1545255

Tensioning band

1шт.

38

VOE 1545255

Tensioning band

1шт.

39

VOE 924072

Шпилька

1шт.

39

VOE 924072

Шпилька

1шт.

4

VOE 940280

Шайба пружинная

1шт.

4

VOE 940280

Шайба пружинная

1шт.

40

VOE 13960141

Шайба

1шт.

40

VOE 13960141

Шайба

1шт.

41

VOE 13945408

Гайка

1шт.

41

VOE 13945408

Гайка

1шт.

42

VOE 479622

Кронштейн

1шт.

43

VOE 1545256

Tensioning band

1шт.

43

VOE 1545256

Tensioning band

1шт.

44

VOE 1545257

Болт

1шт.

44

VOE 1545257

Болт

1шт.

45

VOE 11031839

11031839

(VOE 11031600)

1шт.

46

VOE 13948587

Lock screw

(VOE 948587)

1шт.

46

VOE 13948587

Lock screw

(VOE 948587)

1шт.

47

VOE 13960141

Шайба

1шт.

47

VOE 13960141

Шайба

1шт.

5

VOE 930438

Spacer ring

1шт.

5

VOE 930438

Spacer ring

1шт.

6

VOE 955537

Болт

1шт.

6

VOE 955537

Винт шестигранник

1шт.

7

VOE 13940097

Шайба

(VOE 940097)

1шт.

7

VOE 13940097

Шайба

(VOE 940097)

1шт.

8

VOE 13940115

Болт

(VOE 940115)

1шт.

8

VOE 13940115

Болт

(VOE 940115)

1шт.

9

VOE 11127530

Картер (корпус)

1шт.

Выбрано товаров: 98