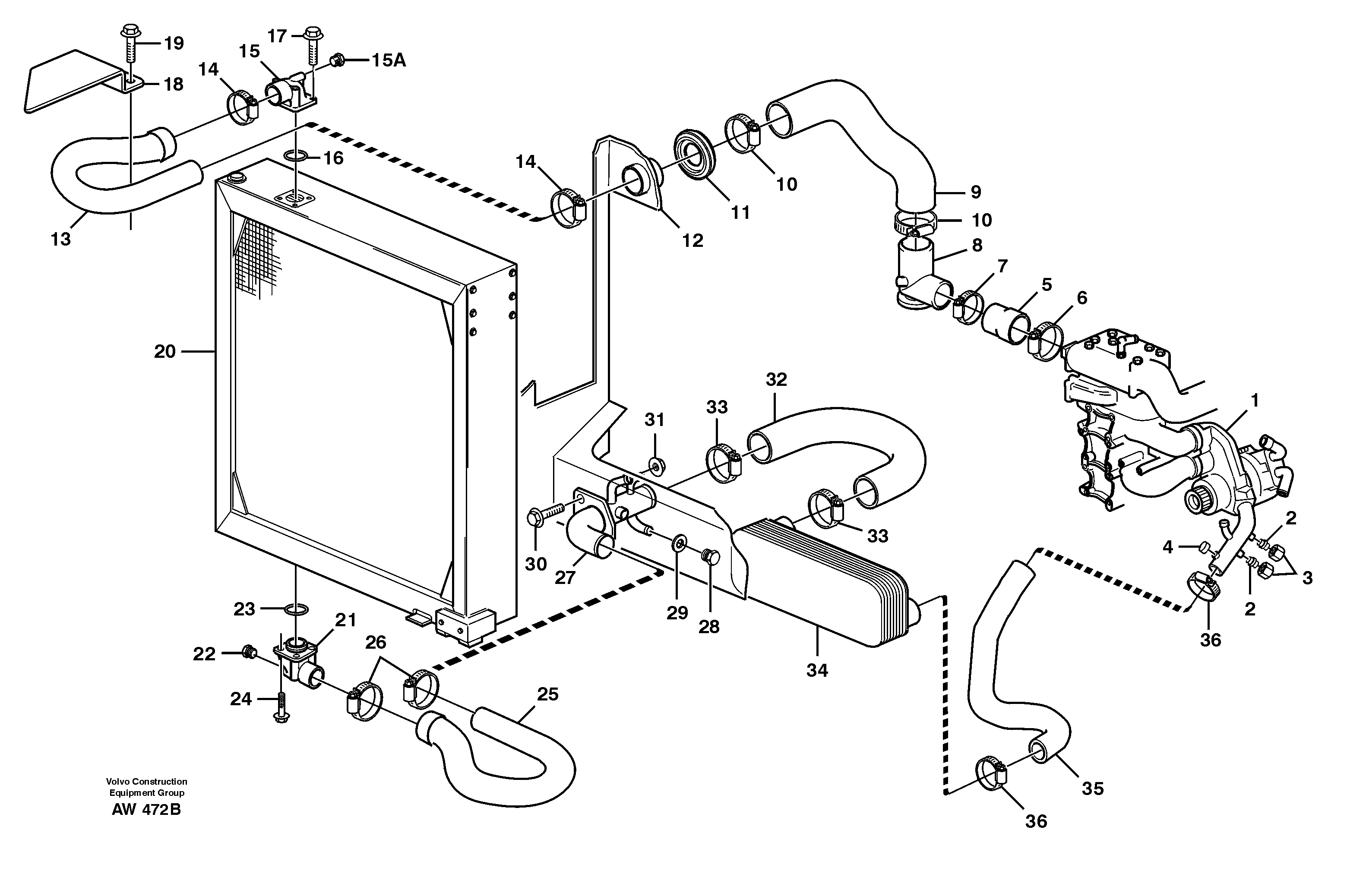
Запчасти Volvo L180C 106711 Система охлаждения L180C S/N 2533-SWE, 60465-USA

Схема запчастей Volvo L180C - 106711 Система охлаждения L180C S/N 2533-SWE, 60465-USA
FIT
1:1
100%

Артикул

Название

Примечание

Количество

VOE 13965189

Screw

L = 90 MM

1шт.

VOE 13965189

Болт

L = 90 MM

1шт.

VOE 13965189

Screw

L = 90 MM

1шт.

VOE 13965189

Болт

L = 90 MM

1шт.

10

VOE 943480

Hose clamp

1шт.

10

VOE 943480

Hose clamp

1шт.

11

VOE 11094574

Уплотнительная втулка

1шт.

13

VOE 11108142

Radiator hose

1шт.

14

VOE 943480

Hose clamp

1шт.

14

VOE 943480

Hose clamp

1шт.

15

VOE 11033192

Hose connection

1шт.

15

VOE 11033192

Hose connection

1шт.

15A

VOE 479955

Пробка (заглушка)

1шт.

16

VOE 977016

Кольцо уплотнительное (О-кольцо)

1шт.

17

VOE 13965185

Screw

L = 40 MM

1шт.

17

VOE 13965185

Болт

L = 40 MM

1шт.

18

VOE 11027349

Пластина

1шт.

18

VOE 11027349

Пластина

1шт.

19

VOE 946440

Flange screw

1шт.

19

VOE 946440

Flange screw

1шт.

2

VOE 13964090

Closure

1шт.

2

VOE 13964090

Closure

1шт.

21

VOE 11033192

Hose connection

1шт.

21

VOE 11033192

Hose connection

1шт.

22

VOE 479955

Пробка (заглушка)

1шт.

23

VOE 977016

Кольцо уплотнительное (О-кольцо)

1шт.

24

VOE 13965185

Screw

L = 40 MM

1шт.

24

VOE 13965185

Болт

L = 40 MM

1шт.

25

VOE 11108142

Radiator hose

1шт.

26

VOE 943480

Hose clamp

1шт.

26

VOE 943480

Hose clamp

1шт.

27

VOE 11105159

Трубка

1шт.

28

VOE 13960632

Пробка (заглушка)

(VOE 960632)

1шт.

28

VOE 13960632

Пробка (заглушка)

(VOE 960632)

1шт.

29

VOE 13947624

Plane gasket

(VOE 947624)

1шт.

29

VOE 13947624

Plane gasket

(VOE 947624)

1шт.

3

VOE 956985

Фиттинг

1шт.

30

VOE 13945444

Болт

(VOE 945444)

1шт.

30

VOE 13945444

Screw

(VOE 945444)

1шт.

31

VOE 13945408

Гайка

(VOE 948645)

1шт.

31

VOE 13945408

Гайка

(VOE 948645)

1шт.

32

VOE 11108848

Radiator hose

1шт.

33

VOE 943480

Hose clamp

1шт.

33

VOE 943480

Hose clamp

1шт.

35

VOE 11105157

Radiator hose

1шт.

36

VOE 943480

Hose clamp

1шт.

36

VOE 943480

Hose clamp

1шт.

4

VOE 952075

Пробка (заглушка)

1шт.

4

VOE 952075

Пробка (заглушка)

1шт.

5

VOE 11105163

Radiator hose

1шт.

6

VOE 943481

Hose clamp

1шт.

6

VOE 943481

Hose clamp

1шт.

7

VOE 943480

Hose clamp

1шт.

7

VOE 943480

Hose clamp

1шт.

8

VOE 11105139

Трубка

1шт.

9

VOE 11105162

Radiator hose

1шт.

Выбрано товаров: 56