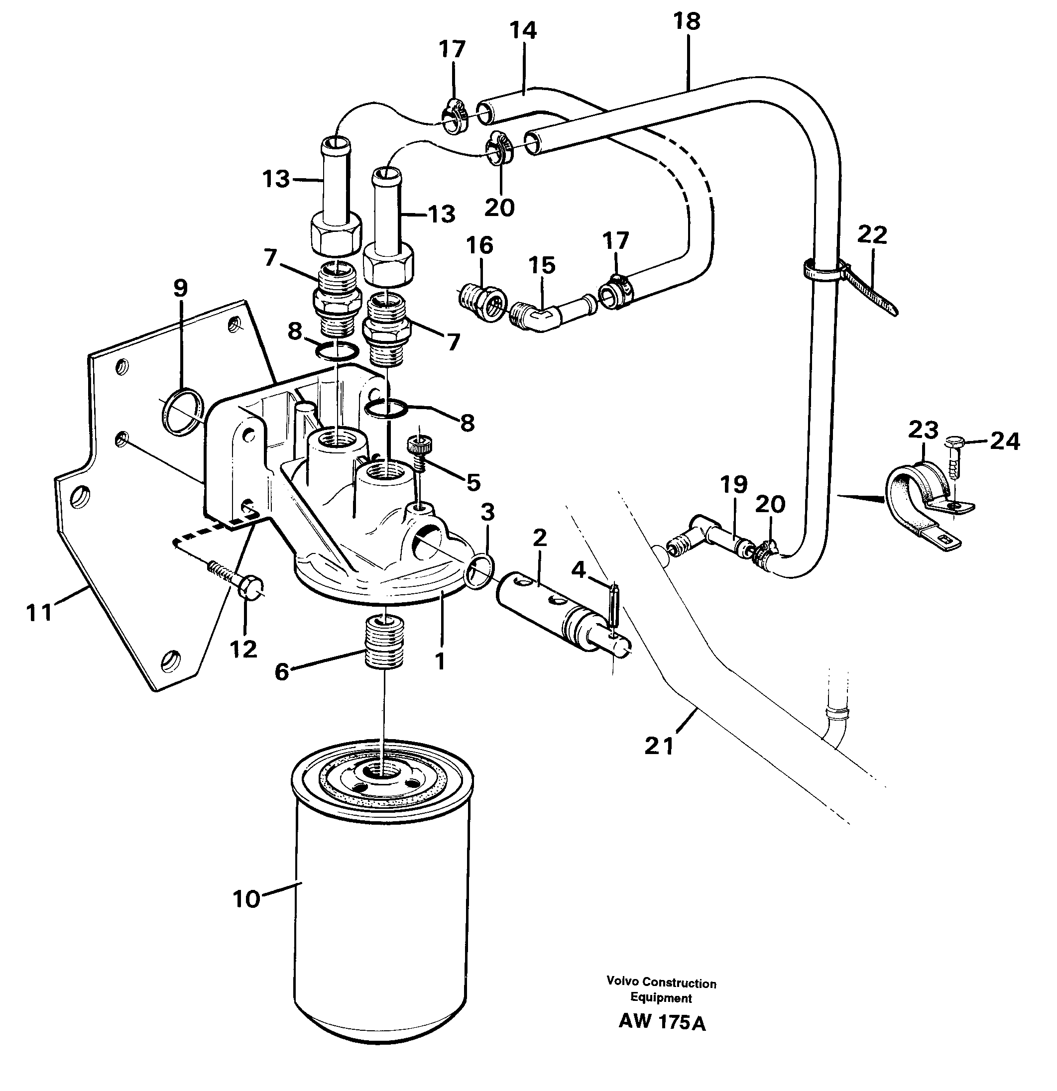
Запчасти Volvo L180C 62204 Coolant filter L180C S/N 2533-SWE, 60465-USA

Схема запчастей Volvo L180C - 62204 Coolant filter L180C S/N 2533-SWE, 60465-USA
FIT
1:1
100%

Артикул

Название

Примечание

Количество

VOE 11993236

Кронштейн

1шт.

1

VOE 1661683

Кронштейн

1шт.

1

VOE 1661683

Кронштейн

1шт.

10

VOE 1699830

Coolant filter

1шт.

10

VOE 1699830

Coolant filter

1шт.

11

VOE 11031737

11031737

1шт.

12

VOE 940132

Винт шестигранник

(VOE 955298)

1шт.

12

VOE 940132

Винт шестигранник

(VOE 955298)

1шт.

13

VOE 11031758

Трубка

1шт.

14

VOE 943367

Шланг

L = 350 MM

1шт.

14

VOE 943367

Шланг

L = 350 MM

1шт.

15

VOE 942758

Nipple

1шт.

15

VOE 942758

Nipple

1шт.

16

VOE 479954

Nipple

1шт.

16

VOE 479954

Nipple

1шт.

17

VOE 943470

Hose clamp

1шт.

17

VOE 943470

Hose clamp

1шт.

18

VOE 943367

Шланг

L = 1150 MM

1шт.

18

VOE 943367

Шланг

L = 1150 MM

1шт.

19

VOE 942758

Nipple

1шт.

19

VOE 942758

Nipple

1шт.

2

VOE 1661686

Spindle

1шт.

2

VOE 1661686

Spindle

1шт.

20

VOE 943470

Hose clamp

1шт.

20

VOE 943470

Hose clamp

1шт.

22

VOE 4881438

Cable tie

1шт.

22

VOE 4881438

Cable tie

1шт.

23

VOE 942810

Зажим

1шт.

23

VOE 942810

Зажим

1шт.

24

VOE 13940114

Болт

(VOE 940114)

1шт.

24

VOE 13940114

Болт

(VOE 940114)

1шт.

3

VOE 968725

Кольцо уплотнительное (О-кольцо)

1шт.

3

VOE 968725

Кольцо уплотнительное (О-кольцо)

1шт.

4

VOE 951968

Spring pin

1шт.

4

VOE 951968

Spring pin

1шт.

5

VOE 961236

Allen Hd Screw

1шт.

6

VOE 1676554

Nipple

(VOE 1661305)

1шт.

6

VOE 1676554

Nipple

(VOE 1661305)

1шт.

7

VOE 941754

Nipple

1шт.

7

VOE 941754

Nipple

1шт.

8

VOE 957178

Gasket

1шт.

8

VOE 957178

Прокладка

1шт.

9

VOE 469846

Кольцо уплотнительное

1шт.

9

VOE 469846

Кольцо уплотнительное

1шт.

Выбрано товаров: 44