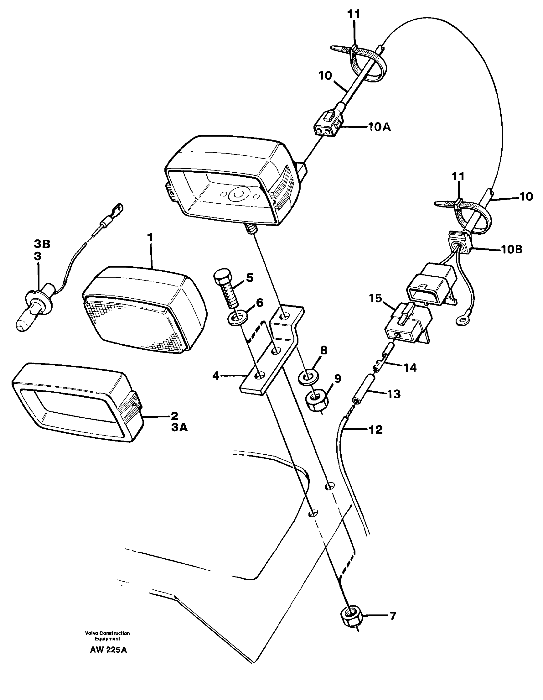
Запчасти Volvo L180C 52837 Attachment light L180C S/N 2533-SWE, 60465-USA

Схема запчастей Volvo L180C - 52837 Attachment light L180C S/N 2533-SWE, 60465-USA
FIT
1:1
100%

Артикул

Название

Примечание

Количество

VOE 11039282

Фара

1шт.

VOE 11039282

Фара

1шт.

10

VOE 11020646

11020646

1шт.

10A

VOE 1624477

Receptacle housing

1шт.

10A

VOE 1624477

Receptacle housing

1шт.

10B

VOE 11039275

Втулка

1шт.

10B

VOE 11039275

Втулка

1шт.

11

VOE 4881440

Cable tie

1шт.

11

VOE 4881440

Cable tie

1шт.

13

VOE 1598753

Insulation

1шт.

14

VOE 13949371

Cable terminal

1шт.

14

VOE 13949371

Cable terminal

1шт.

15

VOE 1307048

Картер (корпус)

1шт.

15

VOE 1307048

Изолятор

1шт.

2

VOE 11994407

Rim

1шт.

2

VOE 11994407

Rim

1шт.

3

VOE 943903

Bulb

1шт.

3

VOE 943903

Bulb

1шт.

4

VOE 11025603

11025603

1шт.

5

VOE 940132

Винт шестигранник

1шт.

5

VOE 940132

Винт шестигранник

1шт.

6

VOE 13960141

Шайба

1шт.

6

VOE 13960141

Шайба

1шт.

7

VOE 955782

Hexagon nut

1шт.

7

VOE 955782

Hexagon nut

1шт.

8

VOE 976945

Шайба

1шт.

8

VOE 976945

Шайба

1шт.

9

VOE 971071

Hexagon nut

1шт.

9

VOE 971071

Hexagon nut

1шт.

Выбрано товаров: 29