Запчасти Volvo L180D 17376 Windows L180D HIGH-LIFT

Схема запчастей Volvo L180D - 17376 Windows L180D HIGH-LIFT
FIT
1:1
100%

Артикул

Название

Примечание

Количество

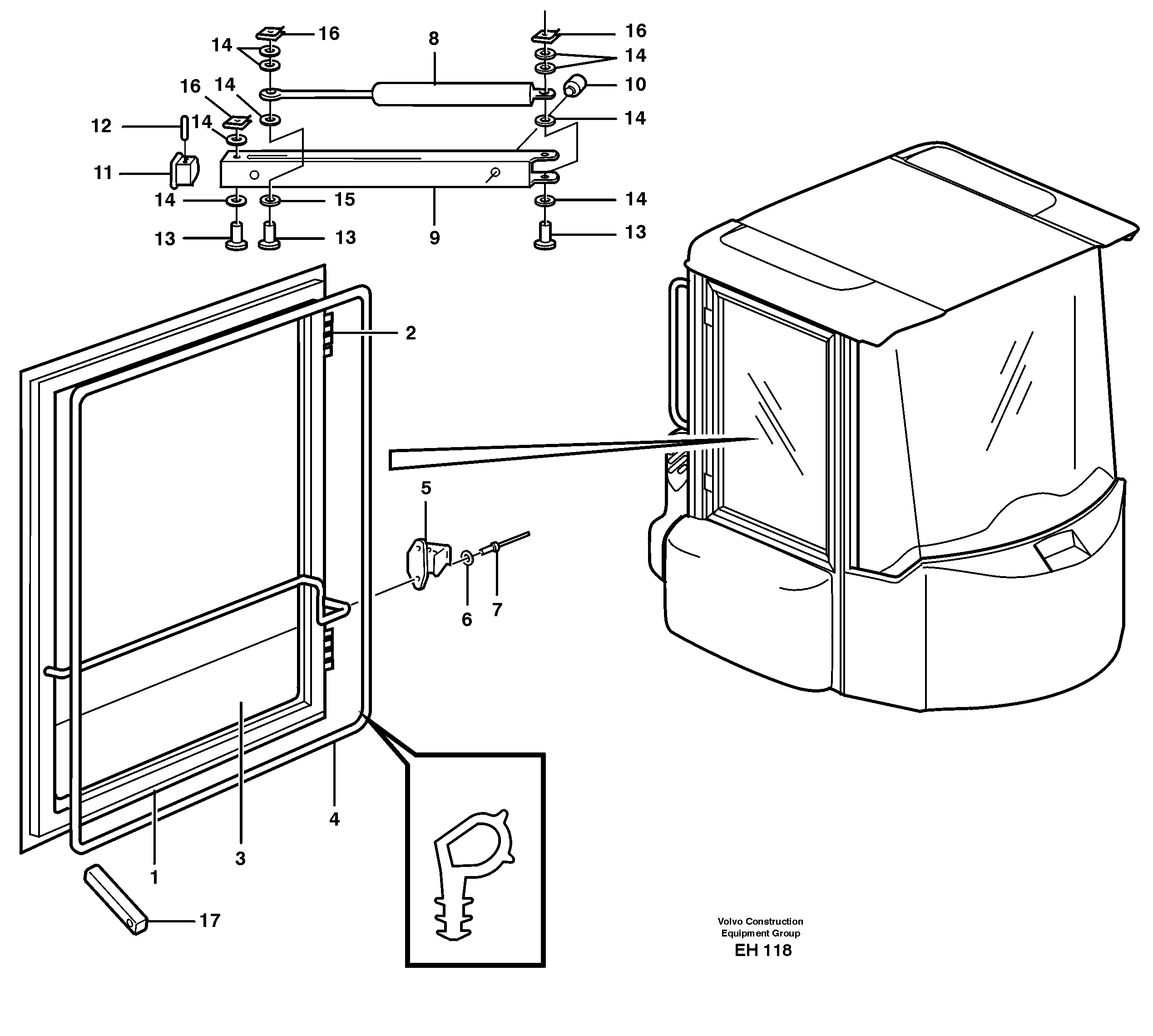
1

VOE 11104451

Window Frame

1шт.

1

VOE 11104451

Window Frame

1шт.

10

VOE 667751

Buffer

1шт.

10

VOE 667751

Buffer

1шт.

11

VOE 11005947

End Piece

1шт.

12

VOE 13951967

Spring Pin

1шт.

12

VOE 13951967

Spring Pin

1шт.

13

VOE 942290

Rtng Ring Bolt

1шт.

13

VOE 942290

Rtng Ring Bolt

1шт.

14

VOE 13947757

Шайба

1шт.

14

VOE 13947757

Шайба

1шт.

15

VOE 13962658

Шайба

1шт.

15

VOE 13962658

Шайба

1шт.

16

VOE 13969158

Lock brace

1шт.

17

VOE 11007034

Window Catch

1шт.

17

VOE 11007034

Window Catch

1шт.

2

VOE 11104509

Hinge

1шт.

2

VOE 11104509

Hinge

1шт.

4

VOE 11007421

Прокладка стекла

L = 3620 MM

1шт.

5

VOE 11104075

Lock Lug

1шт.

5

VOE 11104075

Lock Lug

1шт.

6

VOE 13940090

Шайба

1шт.

6

VOE 13940090

Шайба

1шт.

7

VOE 13965596

Blind Rivet

1шт.

7

VOE 13965596

Blind Rivet

1шт.

8

VOE 11006826

Gas Spring

1шт.

8

VOE 11006826

Gas Spring

1шт.

9

VOE 11006706

Door Stop

1шт.

9

VOE 11006706

Door Stop

1шт.

Выбрано товаров: 0