Запчасти Volvo L180E 27164 Фильтр топливный L180E S/N 5004 - 7398 S/N 62501 - 62543 USA

Схема запчастей Volvo L180E - 27164 Фильтр топливный L180E S/N 5004 - 7398 S/N 62501 - 62543 USA
FIT
1:1
100%

Артикул

Название

Примечание

Количество

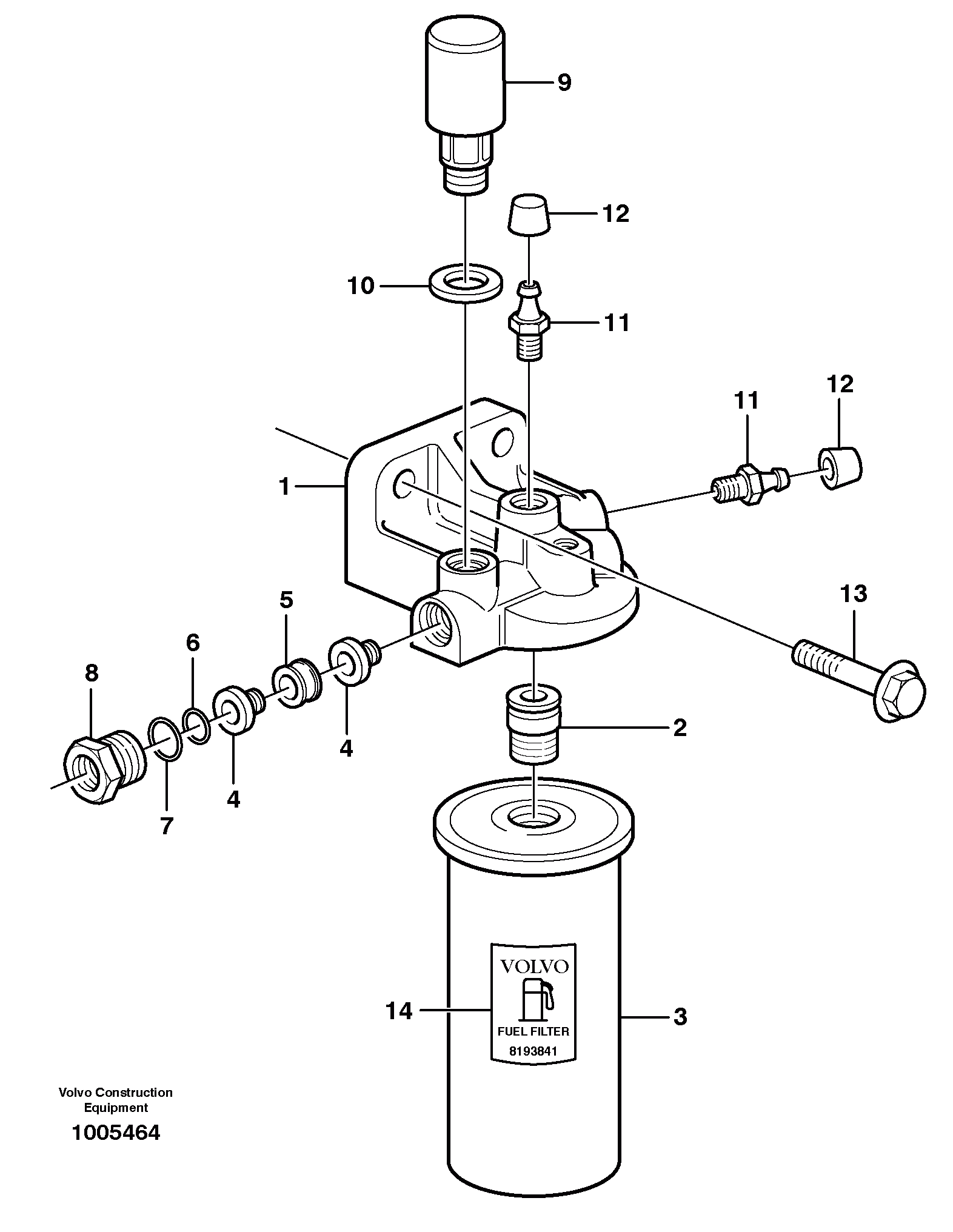
VOE 11128955

Filter Housing

1шт.

VOE 11128955

Filter Housing

1шт.

1

VOE 11128954

Картер (корпус)

1шт.

10

VOE 13947622

Plane Gasket

1шт.

10

VOE 13947622

Plane Gasket

1шт.

11

VOE 1330191

Nipple

1шт.

11

VOE 1330191

Nipple

1шт.

12

VOE 20547976

Cap

1шт.

13

VOE 946472

Flange screw

1шт.

13

VOE 946472

Flange screw

1шт.

14

VOE 11162915

Decal

1шт.

14

VOE 11162915

Decal

1шт.

2

VOE 11128953

Nipple

1шт.

3

VOE 8193841

Фильтр топливный

1шт.

3

VOE 8193841

Фильтр топливный

1шт.

4

VOE 244834

Клапан

1шт.

4

VOE 244834

Клапан

1шт.

5

VOE 3964717

Spacer Sleeve

1шт.

5

VOE 3964717

Spacer Sleeve

1шт.

6

VOE 976971

Кольцо уплотнительное (О-кольцо)

1шт.

6

VOE 976971

Кольцо уплотнительное (О-кольцо)

1шт.

7

VOE 1526474

Кольцо уплотнительное (О-кольцо)

1шт.

7

VOE 1526474

Кольцо уплотнительное (О-кольцо)

1шт.

8

VOE 8148328

Nipple

1шт.

8

VOE 8148328

Nipple

1шт.

9

VOE 11716756

Hand Pump

1шт.

9

VOE 11716756

Hand Pump

1шт.

Выбрано товаров: 27