Запчасти Volvo L180E 95841 Relief valve L180E S/N 5004 - 7398 S/N 62501 - 62543 USA

Схема запчастей Volvo L180E - 95841 Relief valve L180E S/N 5004 - 7398 S/N 62501 - 62543 USA
FIT
1:1
100%

Артикул

Название

Примечание

Количество

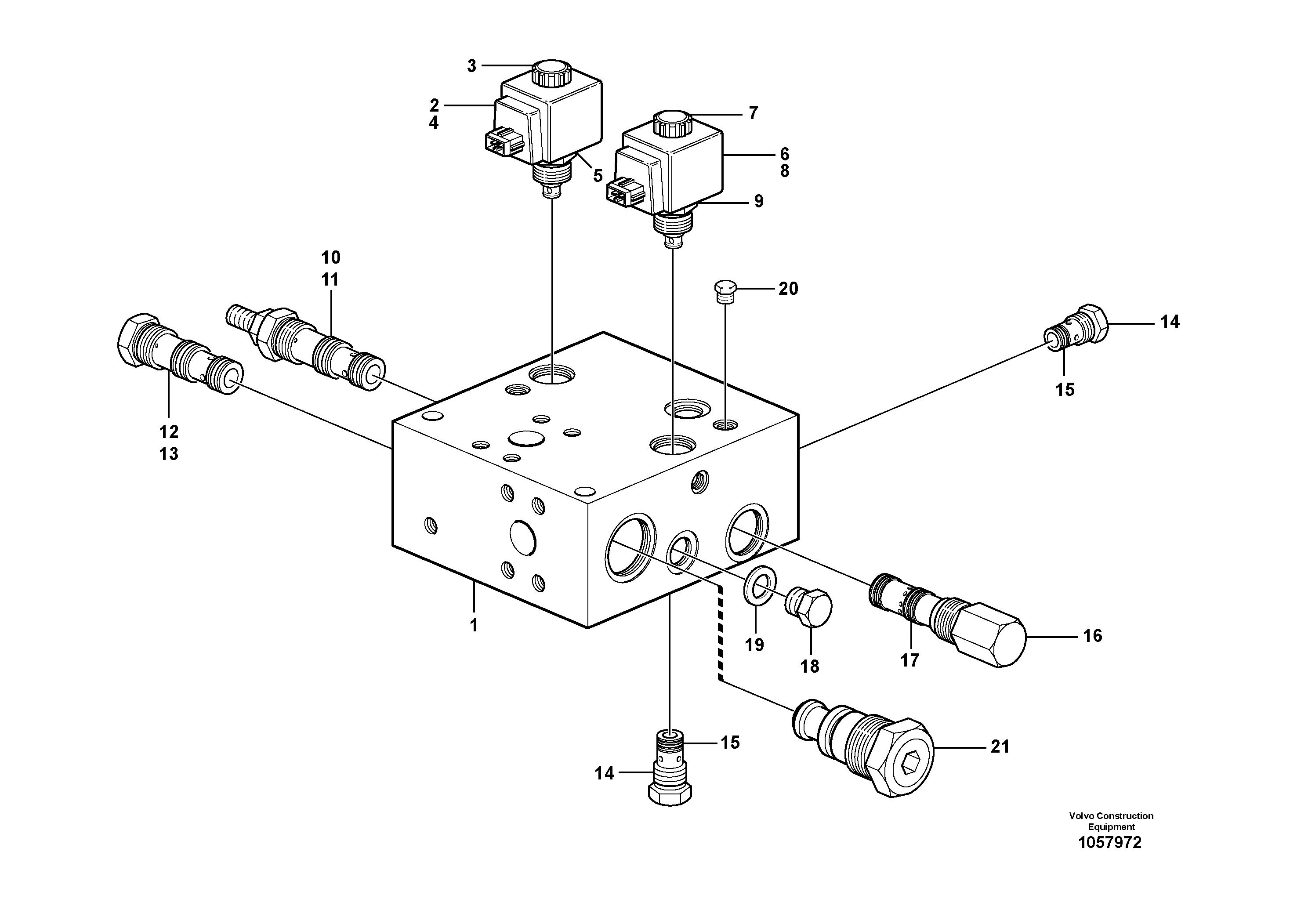
1

VOE 11410639

Клапан

1шт.

10

VOE 11706070

Клапан

CT8

1шт.

10

VOE 11706070

Valve

CT8

1шт.

11

VOE 11706071

Sealing kit

1шт.

11

VOE 11706071

Sealing kit

1шт.

12

VOE 11714082

Челночный клапан

CT3

1шт.

13

VOE 11714083

Sealing kit

1шт.

14

VOE 11714080

Non-return valve

CT5, CT6

1шт.

14

VOE 11714080

Клапан обратный

CT5, CT6

1шт.

15

VOE 11706067

Sealing kit

1шт.

15

VOE 11706067

Sealing kit

1шт.

16

VOE 11706068

Регулятор давления

CT7

1шт.

16

VOE 11706068

Pressure regulator

CT7

1шт.

17

VOE 11706069

Sealing kit

1шт.

18

VOE 15057390

Пробка (заглушка)

1шт.

19

VOE 15057393

Sealing

1шт.

2

VOE 11705917

Solenoid valve kit

CT1

1шт.

2

VOE 11705917

Solenoid valve kit

CT1

1шт.

20

VOE 15093981

Пробка (заглушка)

1шт.

21

VOE 15195265

Клапан

1шт.

3

VOE 11706062

Nut set

1шт.

3

VOE 11706062

Nut set

1шт.

4

VOE 11714081

Соленоид (электромагнитная катушка)

1шт.

4

VOE 11714081

Соленоид (электромагнитная катушка)

1шт.

5

VOE 11706064

Sealing kit

1шт.

5

VOE 11706064

Sealing kit

1шт.

6

VOE 11705918

Solenoid valve kit

CT4

1шт.

6

VOE 11705918

Solenoid valve kit

CT4

1шт.

7

VOE 11706065

Nut set

1шт.

7

VOE 11706065

Nut set

1шт.

8

VOE 11714081

Соленоид (электромагнитная катушка)

1шт.

8

VOE 11714081

Соленоид (электромагнитная катушка)

1шт.

9

VOE 11706064

Sealing kit

1шт.

9

VOE 11706064

Sealing kit

1шт.

Выбрано товаров: 34