Запчасти Volvo L180E 4398 Fork tines ATTACHMENTS ATTACHMENTS WHEEL LOADERS GEN. D - E

Схема запчастей Volvo L180E - 4398 Fork tines ATTACHMENTS ATTACHMENTS WHEEL LOADERS GEN. D - E
FIT
1:1
100%

Артикул

Название

Примечание

Количество

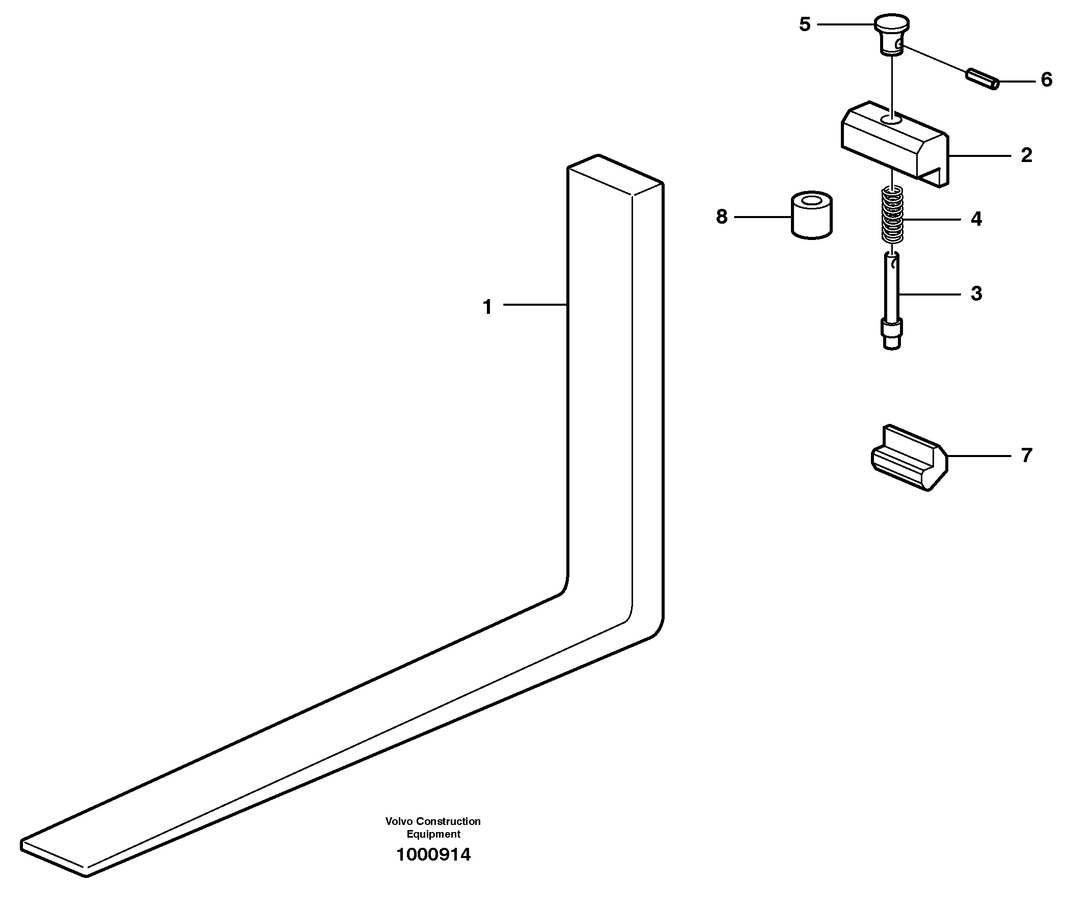
1

VOE 11417408

Fork tine

1шт.

2

VOE 11111580

Hook

1шт.

2

VOE 11111580

Hook

1шт.

3

VOE 11157696

Lock Pin

1шт.

4

VOE 11142728

Пружина

1шт.

4

VOE 11142728

Пружина

1шт.

5

VOE 11111317

Knob

1шт.

5

VOE 11111317

Knob

1шт.

6

VOE 13951981

Spring pin

1шт.

6

VOE 13951981

Spring pin

1шт.

7

VOE 11111307

Hook

1шт.

7

VOE 11111307

Hook

1шт.

8

VOE 11111576

Втулка

1шт.

8

VOE 11111576

Втулка

1шт.

Выбрано товаров: 14