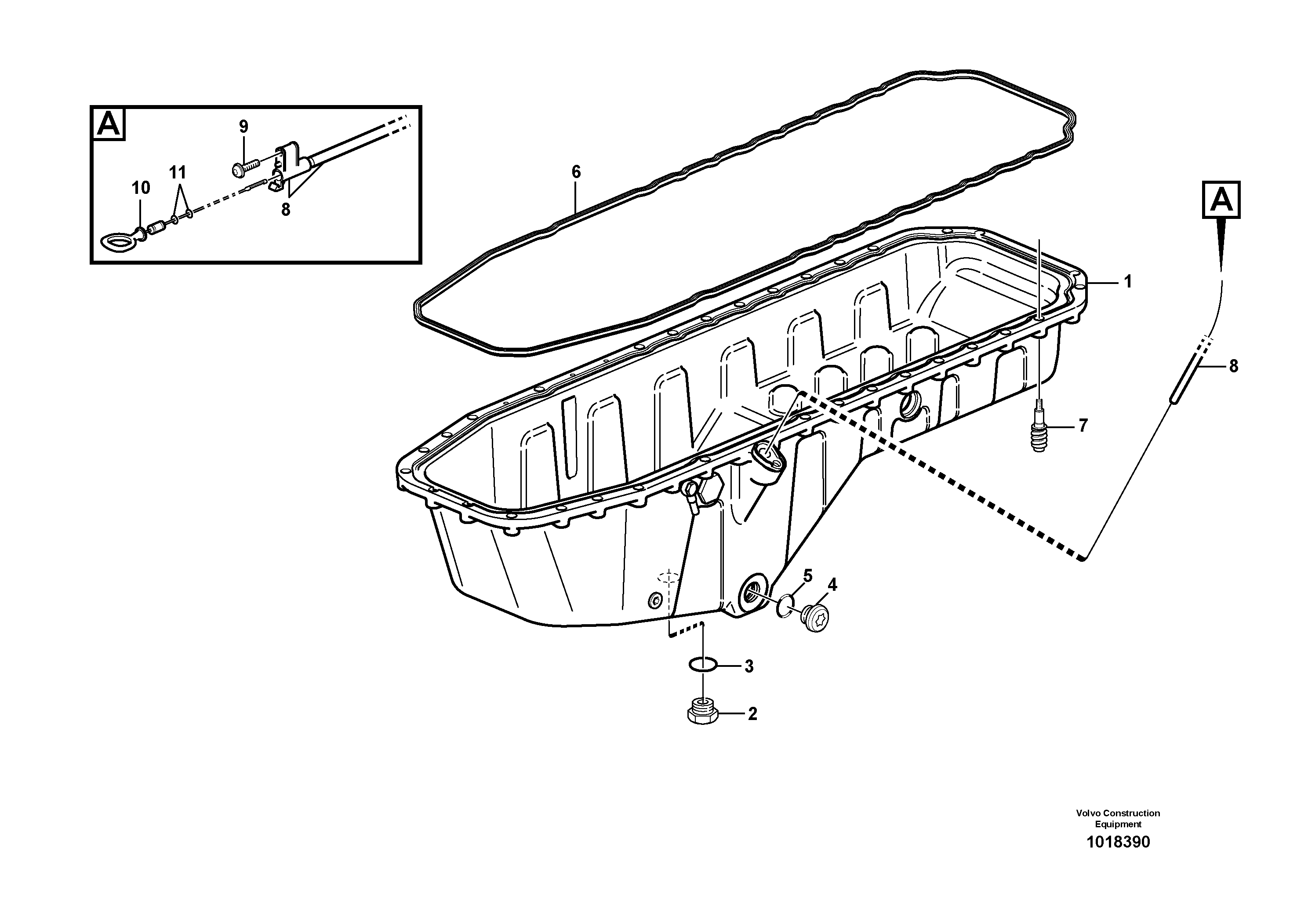
Запчасти Volvo L180E 26873 Oil sump with mounting parts L180E S/N 8002 - 9407

Схема запчастей Volvo L180E - 26873 Oil sump with mounting parts L180E S/N 8002 - 9407
FIT
1:1
100%

Артикул

Название

Примечание

Количество

VOE 11423483

Oil dipstick

ENG NO 612424 -

1шт.

VOE 11423480

Oil dipstick

ENG NO 612424 -

1шт.

10

VOE 11423023

Dipstick

ENG NO - 612423

1шт.

11

VOE 949187

Кольцо уплотнительное (О-кольцо)

1шт.

11

VOE 949187

Кольцо уплотнительное (О-кольцо)

1шт.

2

VOE 11127354

Пробка магнитная

1шт.

2

VOE 11127354

Пробка (заглушка)

1шт.

3

VOE 13948610

Кольцо уплотнительное (О-кольцо)

1шт.

3

VOE 13948610

Кольцо уплотнительное (О-кольцо)

1шт.

4

VOE 11127354

Пробка магнитная

1шт.

4

VOE 11127354

Пробка (заглушка)

1шт.

5

VOE 13948610

Кольцо уплотнительное (О-кольцо)

1шт.

5

VOE 13948610

Кольцо уплотнительное (О-кольцо)

1шт.

6

VOE 20532272

Прокладка стекла

1шт.

7

VOE 20538726

Flange screw

1шт.

8

VOE 11423024

Трубка

ENG NO - 612423

1шт.

9

VOE 975371

Болт

1шт.

9

VOE 975371

Винт шестигранник (торцевой ключ)

1шт.

Выбрано товаров: 18