Запчасти Volvo L180F 39623 Cable harnesses, single lever control L180F

Схема запчастей Volvo L180F - 39623 Cable harnesses, single lever control L180F
FIT
1:1
100%

Артикул

Название

Примечание

Количество

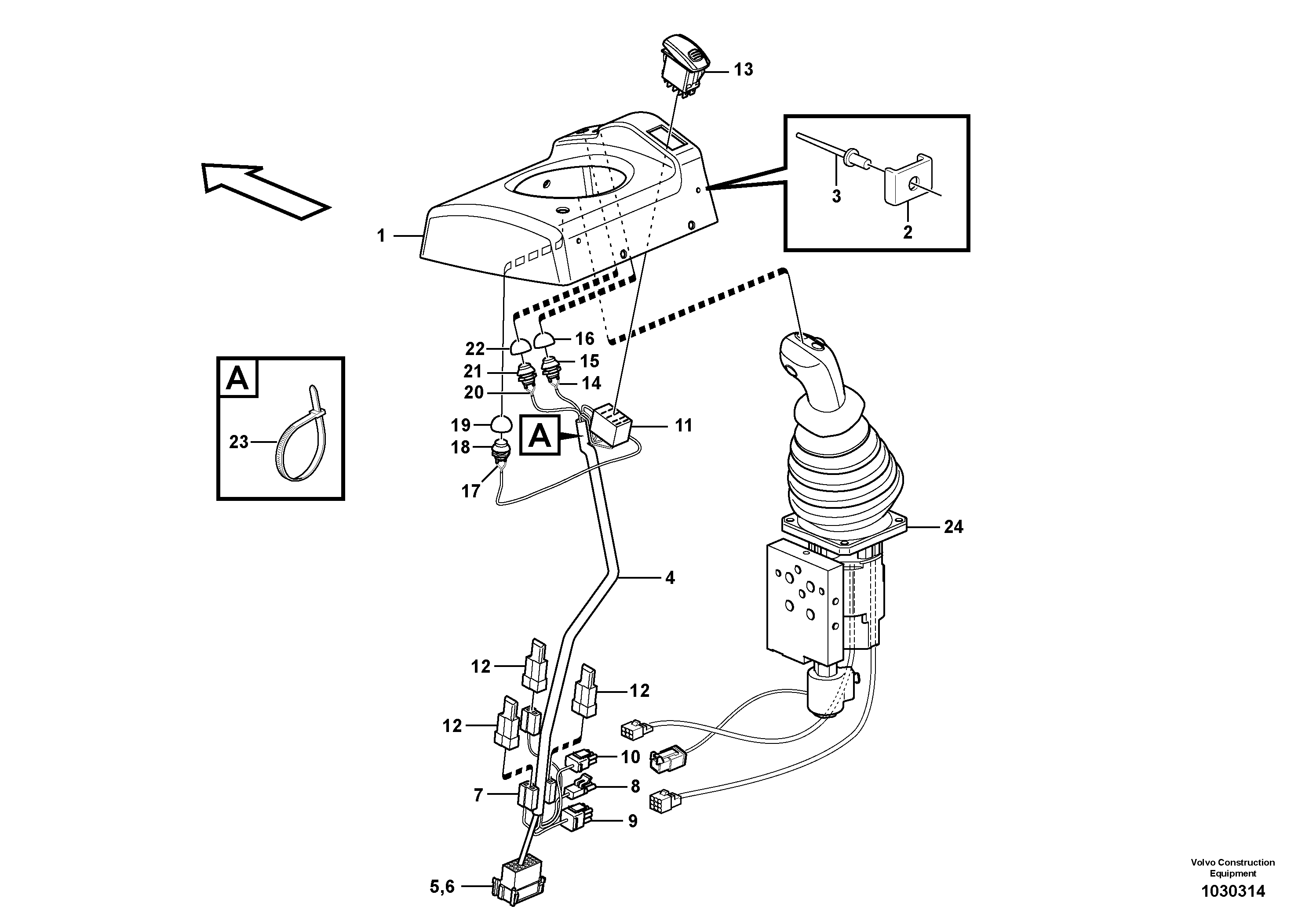
VOE 15018796

Крышка

1шт.

1

VOE 11444302

Крышка

1шт.

10

VOE 11039737

Картер (корпус)

LJ

1шт.

11

VOE 70369714

Соединитель

1шт.

11

VOE 70369714

Картер (корпус)

1шт.

12

VOE 4940327

Диод

DI9102, DI9103

1шт.

12

VOE 4940327

Диод

DI9102, DI9103

1шт.

13

VOE 15021452

Switch Button

SW9140

1шт.

13

VOE 15021452

Switch Button

SW9140

1шт.

14

VOE 11170372

Переключатель

SW3615

1шт.

15

VOE 11039681

Переключатель

1шт.

16

VOE 11170040

Protective cap

1шт.

16

VOE 11170040

Protective cap

1шт.

17

VOE 11171821

Переключатель

SW4207

1шт.

18

VOE 11039681

Переключатель

1шт.

19

VOE 11170040

Protective cap

1шт.

19

VOE 11170040

Protective cap

1шт.

2

VOE 11007051

Тарелка клапана

1шт.

2

VOE 11007051

Тарелка клапана

1шт.

20

VOE 11170374

Переключатель

SW4210

1шт.

21

VOE 11039681

Переключатель

1шт.

22

VOE 11170040

Protective cap

1шт.

22

VOE 11170040

Protective cap

1шт.

23

VOE 4881440

Strip Clamp

1шт.

23

VOE 4881440

Strip Clamp

1шт.

3

VOE 13965593

Blind Rivet

1шт.

3

VOE 13965593

Blind Rivet

1шт.

4

VOE 15018707

Cable harness

1шт.

5

VOE 3987483

Картер (корпус)

1шт.

5

VOE 3987483

Картер (корпус)

1шт.

6

VOE 20375165

Lock

1шт.

7

VOE 13958210

Rcpt Housing

1шт.

7

VOE 13958210

Rcpt Housing

1шт.

8

VOE 11039696

Картер (корпус)

(MA9113)

1шт.

8

VOE 11039696

Switch Housing

(MA9113)

1шт.

9

VOE 11039736

Картер (корпус)

LK

1шт.

Выбрано товаров: 36