Запчасти Volvo L220E 44341 Armrest L220E SER NO 2001 - 3999

Схема запчастей Volvo L220E - 44341 Armrest L220E SER NO 2001 - 3999
FIT
1:1
100%

Артикул

Название

Примечание

Количество

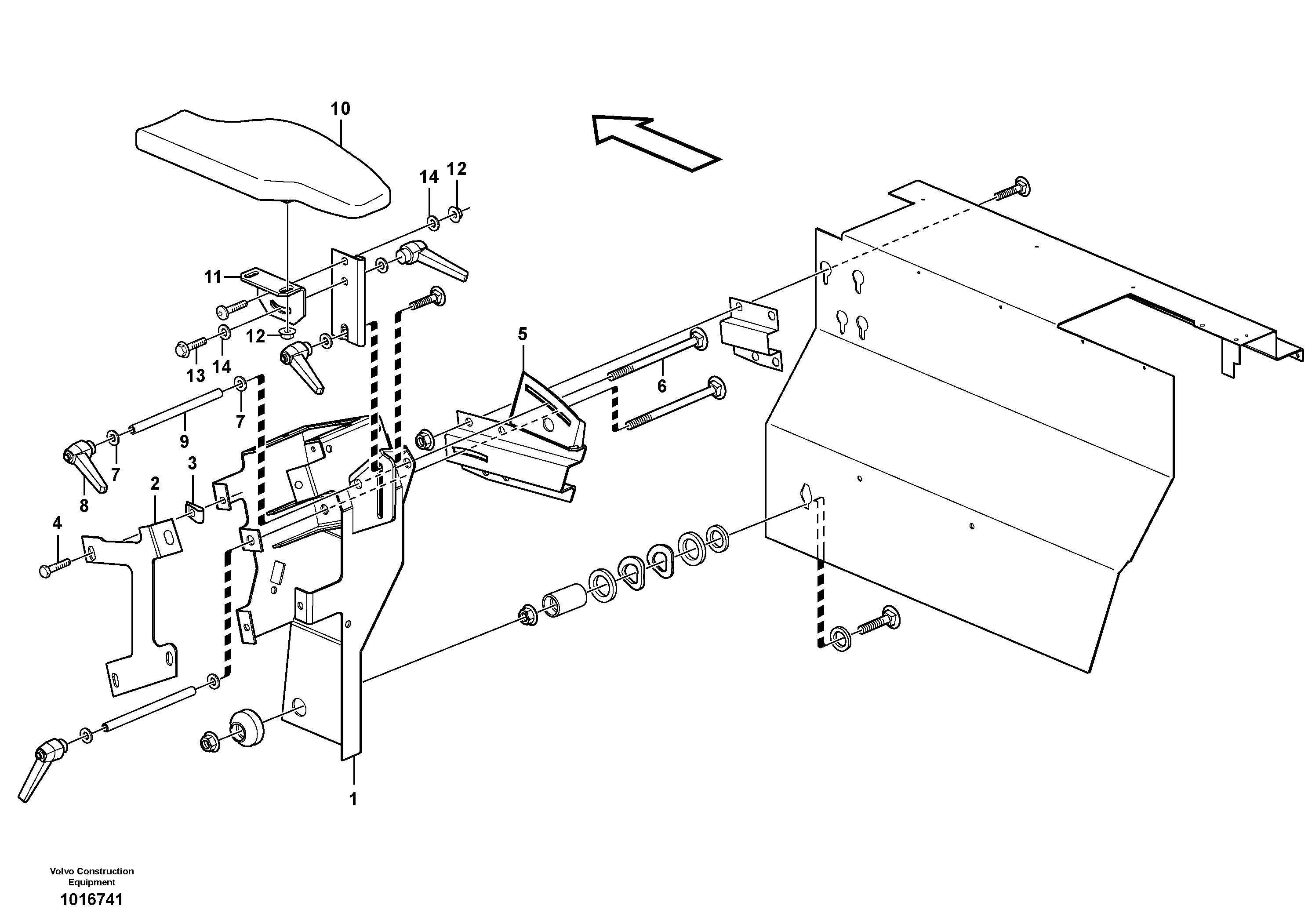
1

VOE 11180914

Valve Atch

1шт.

1

VOE 11180914

Valve Atch

1шт.

10

VOE 11164348

Arm Rest

1шт.

10

VOE 11164348

Arm Rest

1шт.

11

VOE 11164355

Anchorage

1шт.

11

VOE 11164355

Anchorage

1шт.

12

VOE 948645

Flange Lock Nut

1шт.

12

VOE 948645

Flange Lock Nut

1шт.

13

VOE 13945444

Болт

1шт.

13

VOE 13945444

Flange screw

1шт.

14

VOE 13960141

Шайба

1шт.

14

VOE 13960141

Шайба

1шт.

2

VOE 11180918

Reinforcement

1шт.

2

VOE 11180918

Reinforcement

1шт.

3

VOE 971322

Винт шестигранник (торцевой ключ)

1шт.

3

VOE 971322

Болт

1шт.

4

VOE 949921

Spring Nut

1шт.

4

VOE 949921

Spring Nut

1шт.

5

VOE 11180920

Anchorage

1шт.

5

VOE 11180920

Anchorage

1шт.

6

VOE 965661

Sq Neck Screw

1шт.

6

VOE 965661

Sq Neck Screw

1шт.

7

VOE 13960141

Шайба

1шт.

7

VOE 13960141

Шайба

1шт.

8

VOE 11104695

Lock Lever

1шт.

8

VOE 11104695

Lock Lever

1шт.

9

VOE 11104429

Трубка

1шт.

9

VOE 11104429

Трубка

1шт.

Выбрано товаров: 28