Запчасти Volvo L330C 53554 Flow distributor ATTACHMENTS ATTACHMENTS WHEEL LOADERS GEN. - C

Схема запчастей Volvo L330C - 53554 Flow distributor ATTACHMENTS ATTACHMENTS WHEEL LOADERS GEN. - C
FIT
1:1
100%

Артикул

Название

Примечание

Количество

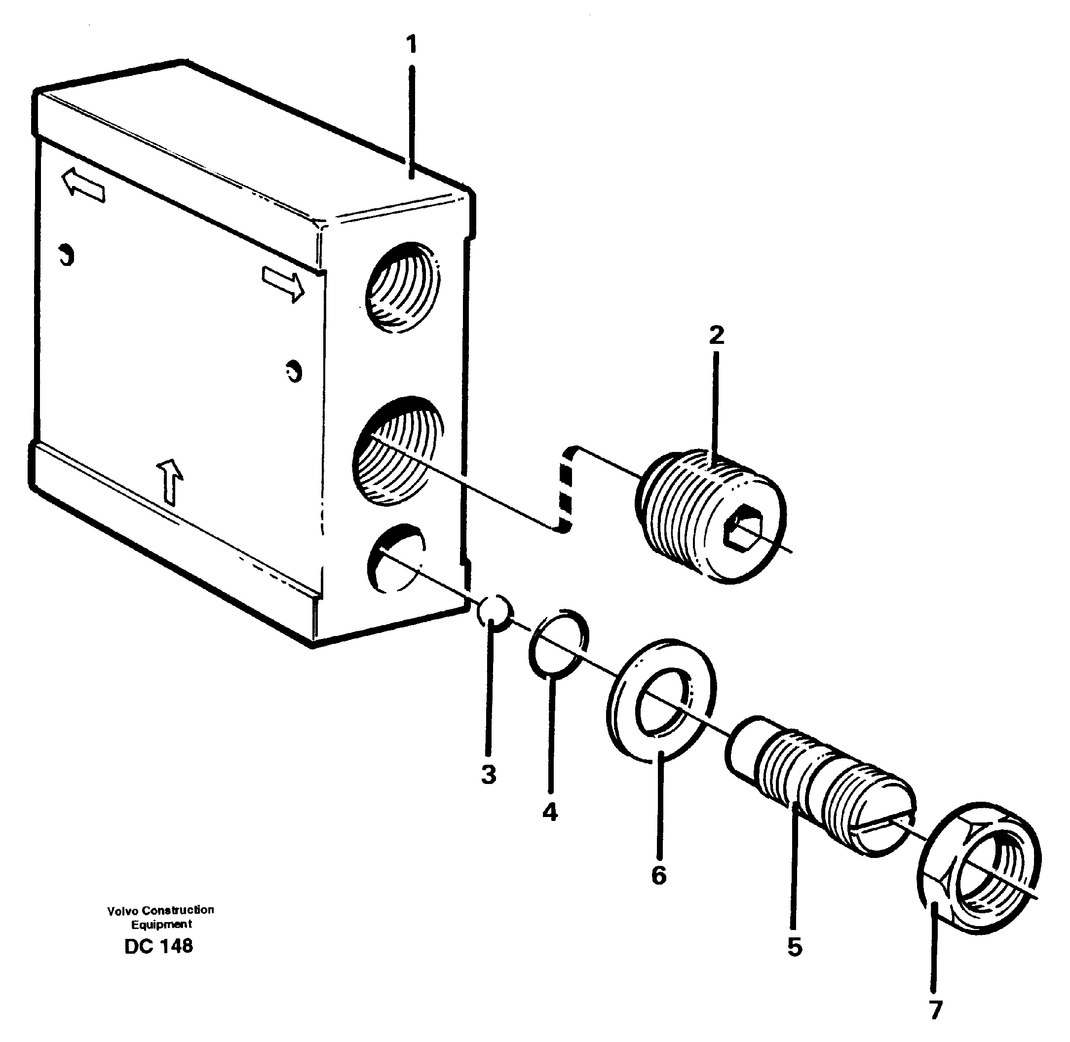
1

VOE 4887741

Flow distributor

1шт.

2

VOE 968215

Plug blank

1шт.

2

VOE 968215

Plug blank

1шт.

3

VOE 13801353

Ball

1шт.

3

VOE 13801353

Ball

1шт.

4

VOE 14012261

Кольцо уплотнительное (О-кольцо)

1шт.

4

VOE 14012261

Кольцо уплотнительное (О-кольцо)

1шт.

6

VOE 13947627

Plane gasket

1шт.

6

VOE 13947627

Plane gasket

1шт.

7

VOE 955861

Hexagon nut

1шт.

7

VOE 955861

Hexagon nut

1шт.

Выбрано товаров: 11