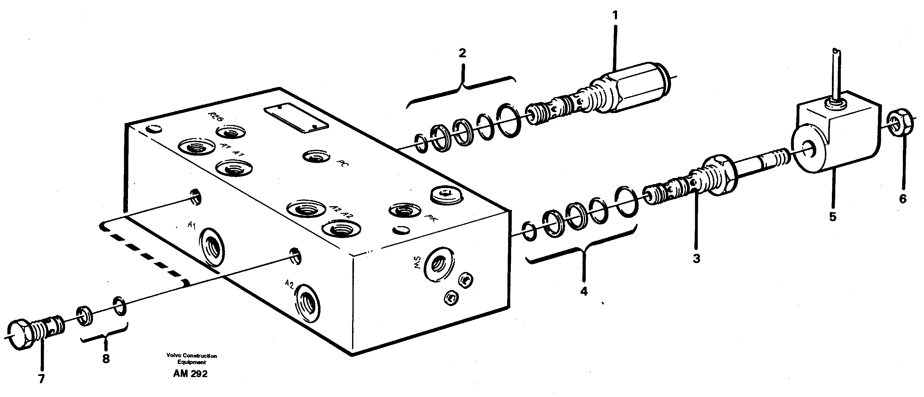
Запчасти Volvo L330C 60598 Distribution valve L330C VOLVO BM VOLVO BM L330C SER NO - 60187

Схема запчастей Volvo L330C - 60598 Distribution valve L330C VOLVO BM VOLVO BM L330C SER NO - 60187
FIT
1:1
100%

Артикул

Название

Примечание

Количество

VOE 11109029

Клапан

1шт.

1

VOE 11701059

Pressure limiting valve

1шт.

2

VOE 11706826

Sealing kit

1шт.

3

VOE 11701521

Three-way valve

1шт.

4

VOE 11706826

Sealing kit

1шт.

5

VOE 11701065

Magnet

MA67

1шт.

6

VOE 11701043

Гайка

1шт.

6

VOE 11701043

Гайка

1шт.

7

VOE 11701063

Shock Valve

1шт.

8

VOE 11701064

Sealing kit

1шт.

Выбрано товаров: 10