Запчасти Volvo L330C 72869 Насос масляный L330C SER NO 60188-

Схема запчастей Volvo L330C - 72869 Насос масляный L330C SER NO 60188-
FIT
1:1
100%

Артикул

Название

Примечание

Количество

VOE 1556097

Gear

1шт.

VOE 276871

Ремкомплект

1шт.

VOE 1556177

Насос масляный

ENG - 25085

1шт.

VOE 276150

Ремкомплект

1шт.

VOE 1556730

Насос масляный

(1556730)

1шт.

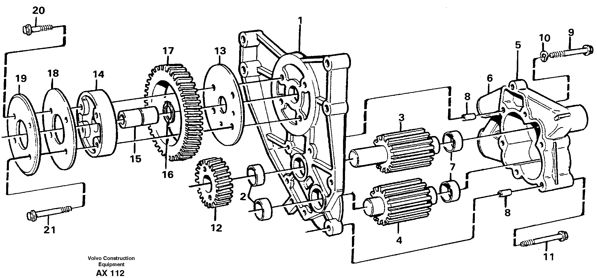
1

VOE 1543965

1543965

1шт.

10

VOE 13941907

Шайба пружинная

1шт.

10

VOE 13941907

Шайба

1шт.

11

VOE 13965183

Flange screw

1шт.

11

VOE 13965183

Flange screw

1шт.

12

VOE 1543452

Gear

1шт.

12

VOE 1543452

Gear

1шт.

13

VOE 1543598

Шайба упорная

1шт.

14

VOE 11999702

Ступица

1шт.

15

VOE 1543597

1543597

1шт.

16

VOE 914459

Retaining ring

1шт.

16

VOE 914459

Кольцо стопорное

1шт.

17

VOE 1543450

Промежуточная шестерня

1шт.

18

VOE 11999703

Шайба упорная

1шт.

19

VOE 1543901

Bearing shield

1шт.

2

VOE 1543978

Втулка

1шт.

20

VOE 13965186

Болт

1шт.

20

VOE 13965186

Screw

1шт.

21

VOE 13965188

Болт

1шт.

21

VOE 13965188

Screw

1шт.

5

VOE 1556019

Oil pump housing

1шт.

7

VOE 1543978

Втулка

1шт.

8

VOE 401146

Guide sleeve

1шт.

9

VOE 100223

Болт

1шт.

Выбрано товаров: 29