Запчасти Volvo L330C 17518 Гидромотор L330C SER NO 60188-

Схема запчастей Volvo L330C - 17518 Гидромотор L330C SER NO 60188-
FIT
1:1
100%

Артикул

Название

Примечание

Количество

VOE 11046036

Мотор вентилятора

1шт.

VOE 11046036

Мотор вентилятора

1шт.

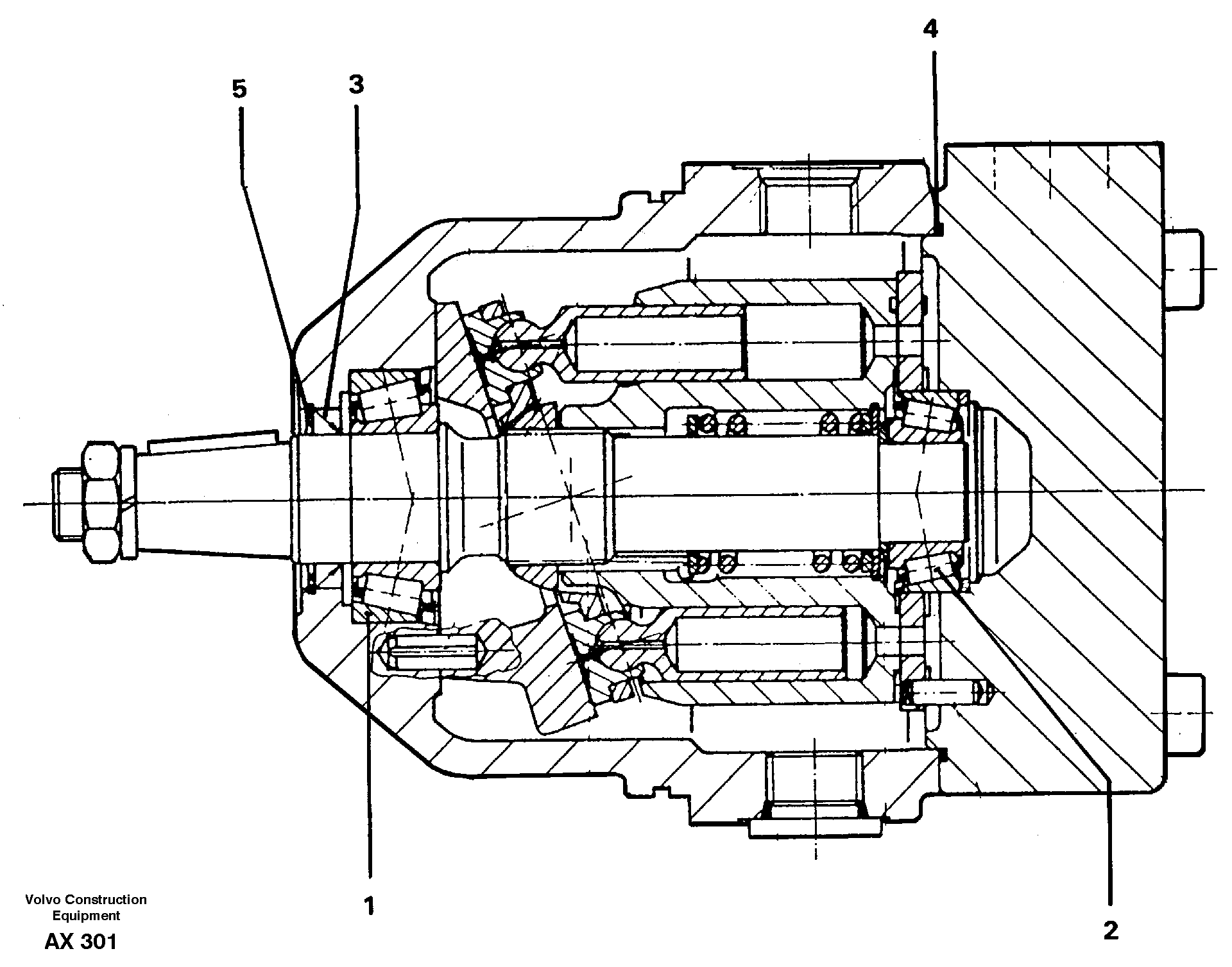
1

VOE 11998854

Подшипник

1шт.

1

VOE 11998854

Подшипник

1шт.

2

VOE 11992817

Подшипник

1шт.

2

VOE 11992817

Подшипник

1шт.

3

VOE 11999321

Сальник

1шт.

4

VOE 914523

Snap Ring

1шт.

4

VOE 914523

Кольцо стопорное

1шт.

5

VOE 11700150

Кольцо уплотнительное (О-кольцо)

1шт.

Выбрано товаров: 10