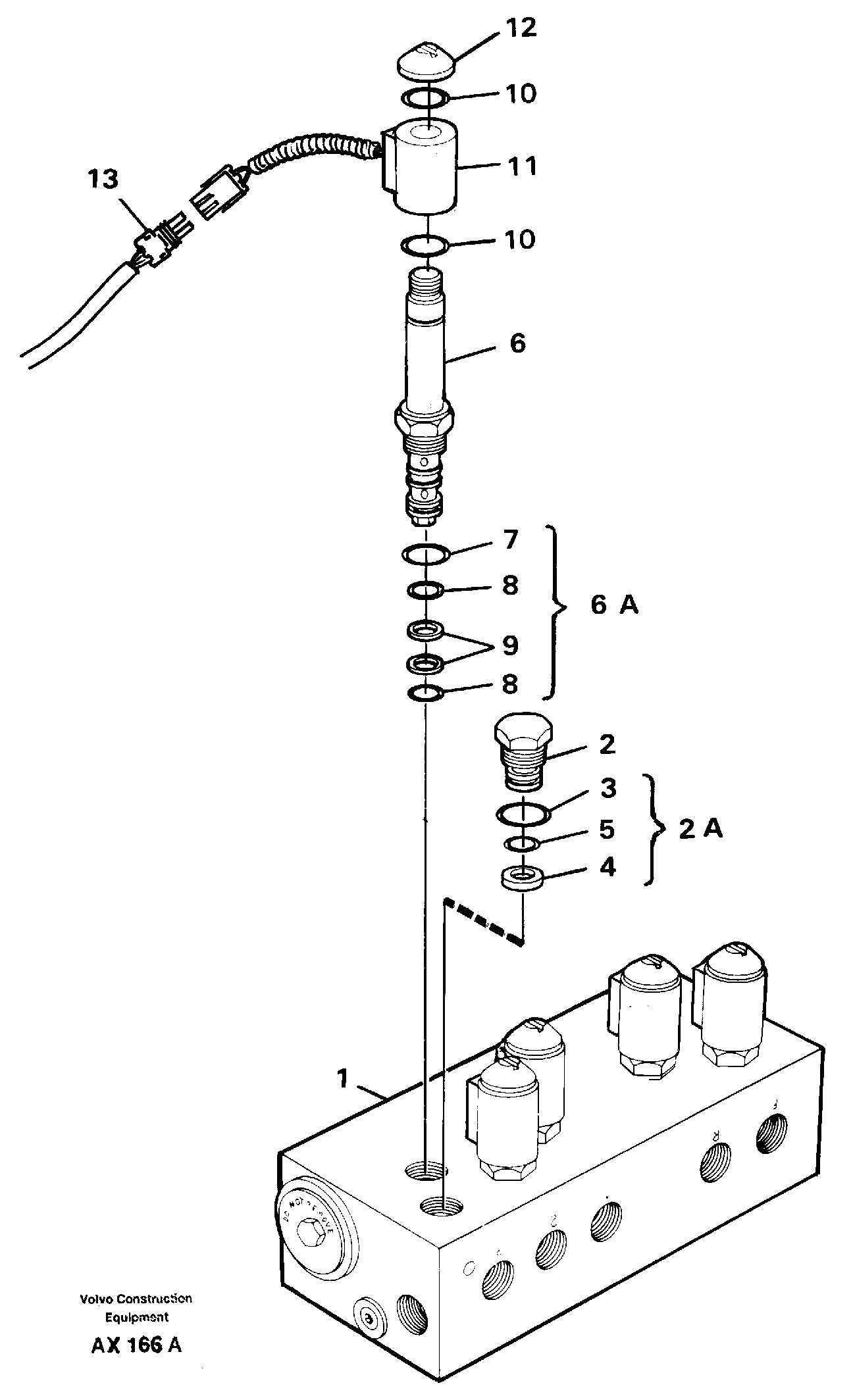
Запчасти Volvo L330C 44912 Встроенный клапан в сборе L330C SER NO 60188-

Схема запчастей Volvo L330C - 44912 Встроенный клапан в сборе L330C SER NO 60188-
FIT
1:1
100%

Артикул

Название

Примечание

Количество

VOE 11109881

Shift valve

SER NO - 60364

1шт.

VOE 11109881

Shift valve

SER NO - 60364

1шт.

VOE 11141234

Shift valve

SER NO 60365 -

1шт.

VOE 15090768

Соленоид (электромагнитная катушка)

1шт.

10

VOE 12969851

Кольцо уплотнительное (О-кольцо)

1шт.

10

VOE 12969851

Кольцо уплотнительное (О-кольцо)

1шт.

11

VOE 11703688

Соленоид (электромагнитная катушка)

1шт.

11

VOE 11703688

Соленоид (электромагнитная катушка)

1шт.

12

VOE 12969848

Тарелка клапана

1шт.

12

VOE 12969848

Тарелка клапана

1шт.

2

VOE 12969846

Клапан обратный

1шт.

2

VOE 12969846

Non-return valve

1шт.

2A

VOE 12969855

Sealing kit

1шт.

2A

VOE 12969855

Sealing kit

1шт.

3

VOE 13804057

Кольцо уплотнительное (О-кольцо)

1шт.

3

VOE 13804057

Кольцо уплотнительное (О-кольцо)

1шт.

6

VOE 12969849

Valve attachment

1шт.

6

VOE 12969849

Valve attachment

1шт.

6A

VOE 12969854

Sealing kit

1шт.

6A

VOE 12969854

Sealing kit

1шт.

7

VOE 13804057

Кольцо уплотнительное (О-кольцо)

1шт.

7

VOE 13804057

Кольцо уплотнительное (О-кольцо)

1шт.

Выбрано товаров: 22