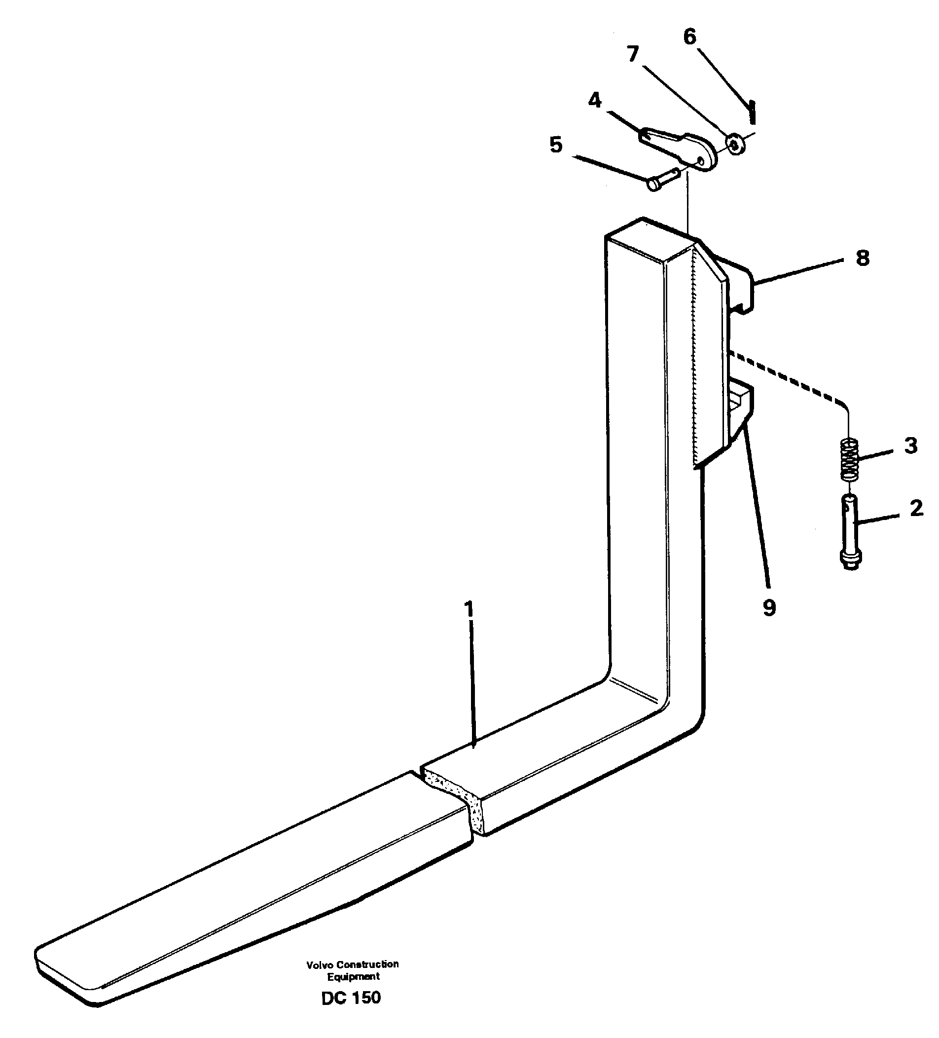
Запчасти Volvo L330D 36503 Fork tines ATTACHMENTS ATTACHMENTS WHEEL LOADERS GEN. D - E

Схема запчастей Volvo L330D - 36503 Fork tines ATTACHMENTS ATTACHMENTS WHEEL LOADERS GEN. D - E
FIT
1:1
100%

Артикул

Название

Примечание

Количество

2

VOE 11010637

11010637

1шт.

3

VOE 11010636

Пружина

1шт.

4

VOE 11010638

Eccentric lock

1шт.

5

VOE 4808130

4808130

1шт.

6

VOE 951938

Spring pin

1шт.

7

VOE 13941907

Шайба пружинная

1шт.

7

VOE 13941907

Шайба

1шт.

8

VOE 4808363

Attachment

1шт.

9

VOE 4888107

Anchorage

1шт.

9

VOE 4888107

Anchorage

1шт.

Выбрано товаров: 10