Запчасти Volvo L330D 15266 Гидромотор L330D

Схема запчастей Volvo L330D - 15266 Гидромотор L330D
FIT
1:1
100%

Артикул

Название

Примечание

Количество

VOE 11301086

Мотор вентилятора

SER NO - 61109

1шт.

VOE 11301081

Мотор вентилятора

SER NO 61110 -

1шт.

VOE 11301081

Мотор вентилятора

SER NO 61110 -

1шт.

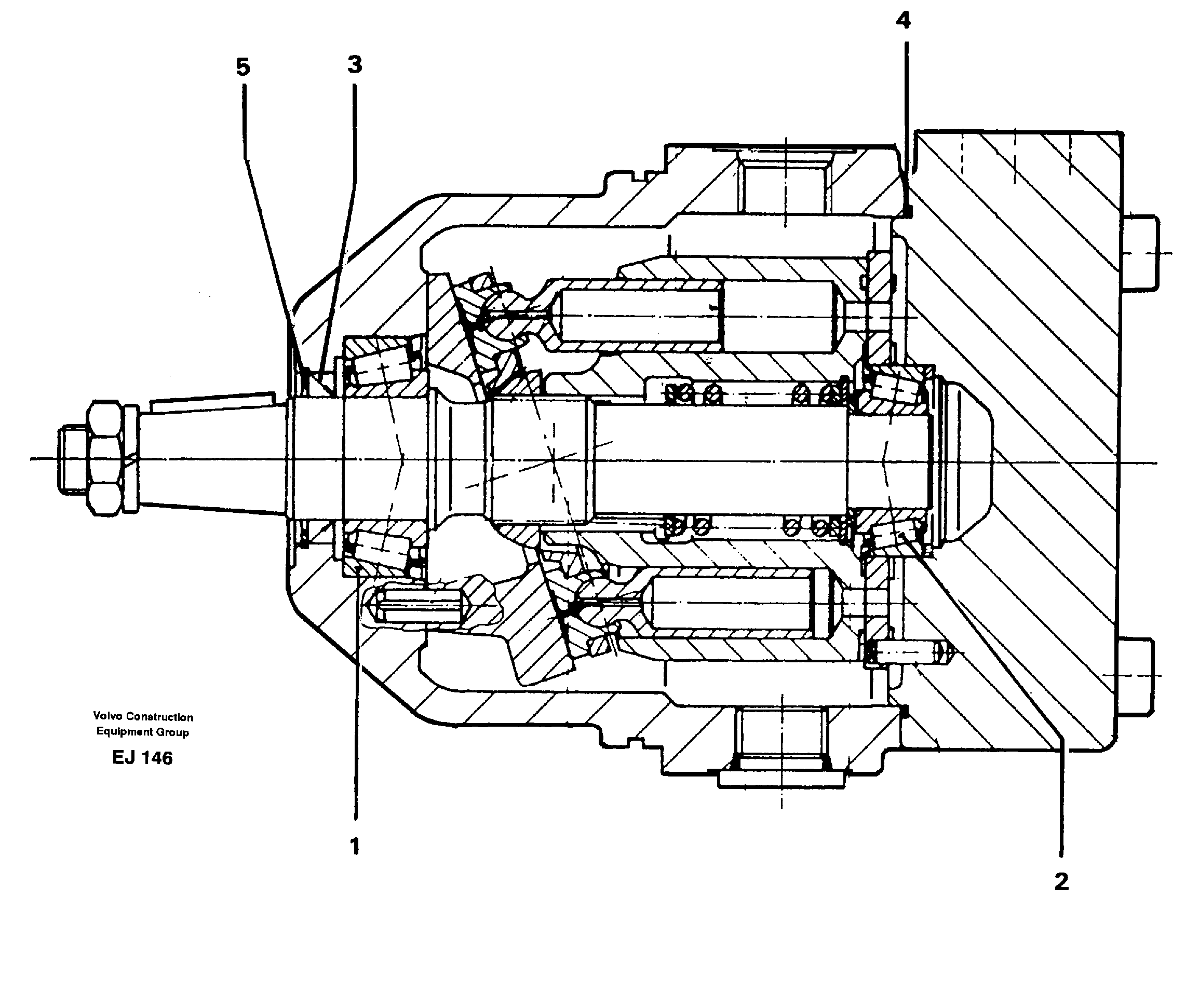
1

VOE 11998854

Подшипник

1шт.

1

VOE 11998854

Подшипник

1шт.

2

VOE 11992817

Подшипник

1шт.

2

VOE 11992817

Подшипник

1шт.

3

VOE 11999321

Сальник

1шт.

4

VOE 914523

Snap Ring

1шт.

4

VOE 914523

Кольцо стопорное

1шт.

5

VOE 11700150

Кольцо уплотнительное (О-кольцо)

1шт.

Выбрано товаров: 11