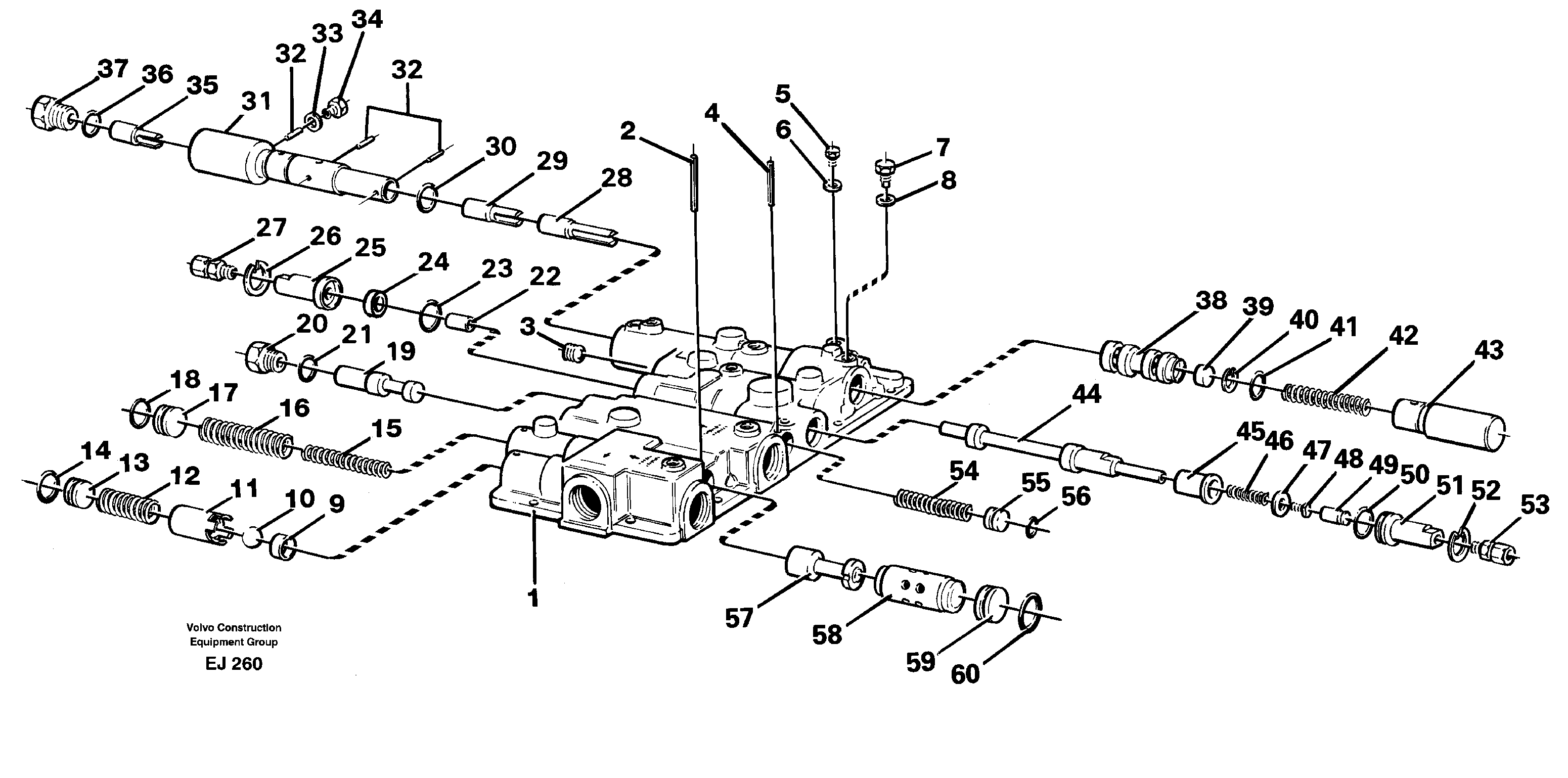
Запчасти Volvo L330D 61750 Клапан регулирующий (распределительный) L330D

Схема запчастей Volvo L330D - 61750 Клапан регулирующий (распределительный) L330D
FIT
1:1
100%

Артикул

Название

Примечание

Количество

VOE 11999619

Клапан

1шт.

1

VOE 11999804

Картер (корпус)

1шт.

10

VOE 13801358

Ball

1шт.

11

VOE 11999802

Вставка

1шт.

12

VOE 11999803

Пружина

1шт.

13

VOE 11999858

Stop washer

1шт.

14

VOE 13804017

Кольцо уплотнительное (О-кольцо)

1шт.

15

VOE 11999796

Пружина

1шт.

16

VOE 11999795

Пружина

1шт.

17

VOE 11999858

Stop washer

1шт.

18

VOE 13804017

Кольцо уплотнительное (О-кольцо)

1шт.

19

VOE 11999794

Slide

1шт.

2

VOE 11999780

11999780

1шт.

20

VOE 13802607

Пробка (заглушка)

1шт.

20

VOE 13802607

Пробка (заглушка)

1шт.

21

VOE 932041

Кольцо уплотнительное (О-кольцо)

1шт.

21

VOE 932041

Кольцо уплотнительное (О-кольцо)

1шт.

22

VOE 11999788

Поршень

1шт.

23

VOE 13812890

Кольцо уплотнительное (О-кольцо)

1шт.

24

VOE 11999787

Piston guide

1шт.

25

VOE 11704724

Вставка

1шт.

26

VOE 12969532

Retaining ring

1шт.

27

VOE 13803198

13803198

1шт.

28

VOE 11999779

Клапан

L = 94,46 MM (3.719 IN)

1шт.

29

VOE 11999778

Клапан

L = 61,92 MM (2.438 IN)

1шт.

3

VOE 13802603

Пробка (заглушка)

1шт.

30

VOE 13804010

Кольцо уплотнительное (О-кольцо)

1шт.

31

VOE 11999776

Картер (корпус)

1шт.

32

VOE 11999777

11999777

1шт.

33

VOE 12973416

Шайба

1шт.

34

VOE 4095227

Пробка (заглушка)

1шт.

35

VOE 11999775

Клапан

L = 43,66 MM (1.719 IN)

1шт.

36

VOE 932041

Кольцо уплотнительное (О-кольцо)

1шт.

36

VOE 932041

Кольцо уплотнительное (О-кольцо)

1шт.

37

VOE 4095200

Пробка (заглушка)

1шт.

38

VOE 11999781

Клапан

1шт.

39

VOE 11999782

Пробка (заглушка)

1шт.

4

VOE 951968

Spring pin

1шт.

4

VOE 951968

Spring pin

1шт.

40

VOE 11999783

Retaining ring

1шт.

41

VOE 13804010

Кольцо уплотнительное (О-кольцо)

1шт.

42

VOE 11999784

Пружина

1шт.

43

VOE 11999785

Картер (корпус)

1шт.

44

VOE 11707260

Поршень

1шт.

45

VOE 11999792

Втулка (распорная)

1шт.

46

VOE 11999791

Пружина

1шт.

47

VOE 11999790

Вставка

1шт.

48

VOE 11999789

Stop ring

1шт.

49

VOE 11999788

Поршень

1шт.

5

VOE 13802603

Пробка (заглушка)

1шт.

50

VOE 13812890

Кольцо уплотнительное (О-кольцо)

1шт.

51

VOE 11999787

Piston guide

1шт.

52

VOE 12969532

Retaining ring

1шт.

53

VOE 13803198

13803198

1шт.

54

VOE 11999797

Пружина

1шт.

55

VOE 4095254

Stop

1шт.

56

VOE 13804007

Кольцо уплотнительное (О-кольцо)

1шт.

57

VOE 11999800

Slide

1шт.

58

VOE 11999799

Втулка (распорная)

1шт.

59

VOE 11999798

Stop ring

1шт.

6

VOE 13804055

Кольцо уплотнительное (О-кольцо)

1шт.

6

VOE 13804055

Кольцо уплотнительное (О-кольцо)

1шт.

60

VOE 13804020

Кольцо уплотнительное (О-кольцо)

1шт.

7

VOE 4095235

Пробка (заглушка)

1шт.

8

VOE 12002426

Шайба

1шт.

9

VOE 11999801

Valve seat

1шт.

Выбрано товаров: 66