Запчасти Volvo L330D 12709 Противовес L330D

Схема запчастей Volvo L330D - 12709 Противовес L330D
FIT
1:1
100%

Артикул

Название

Примечание

Количество

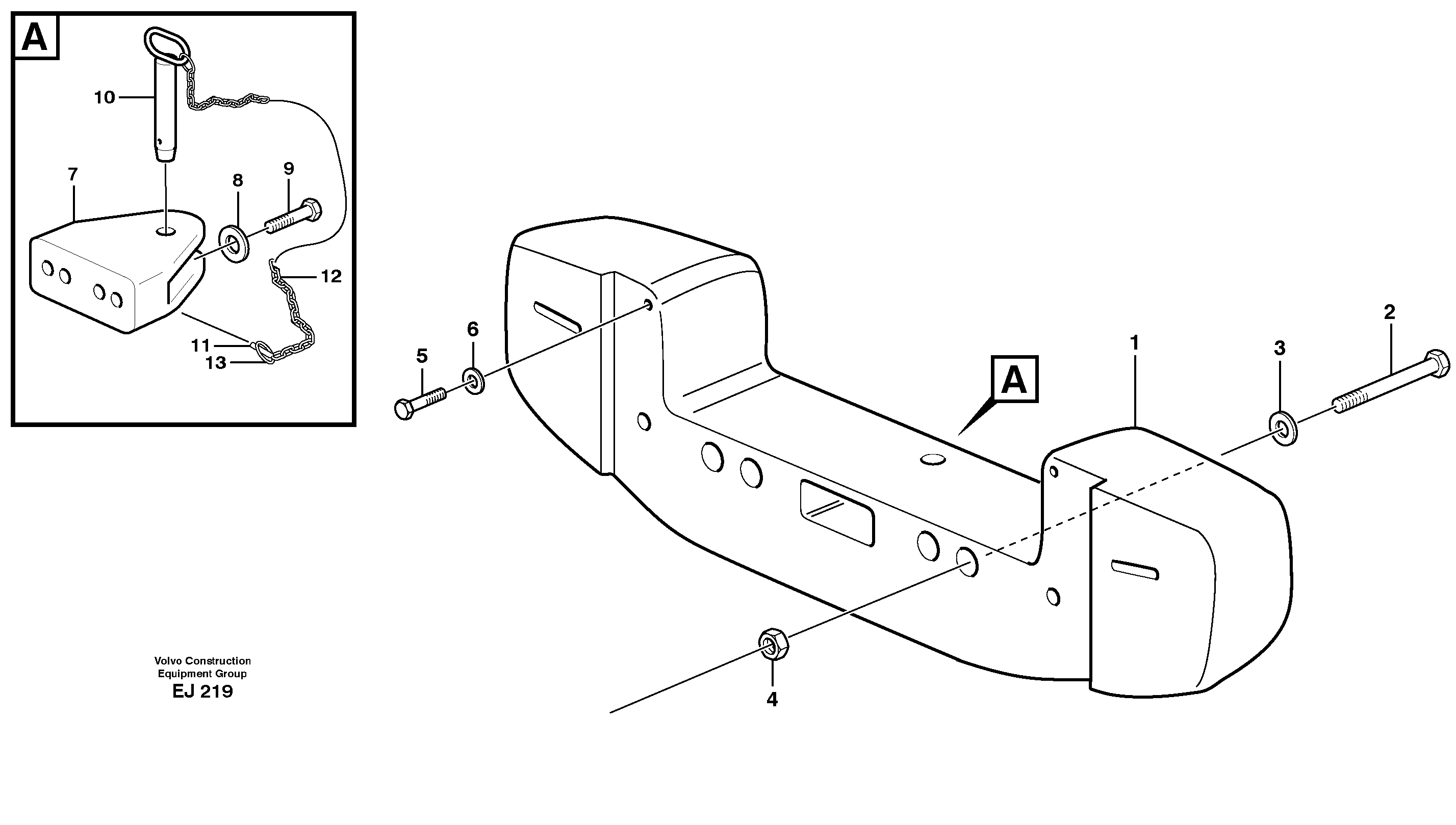
1

VOE 11079554

Противовес

1шт.

10

VOE 11141944

Палец

1шт.

11

VOE 11130219

Lock Pin

1шт.

12

VOE 4880283

Chain

1шт.

12

VOE 4880283

Chain

1шт.

13

VOE 4747089

Lock ring

1шт.

13

VOE 4747089

Lock ring

1шт.

2

VOE 982244

Винт шестигранник

1шт.

3

VOE 13806880

Шайба

1шт.

4

VOE 13806835

Гайка

1шт.

5

VOE 955388

Винт шестигранник

M20 x 60 MM

1шт.

5

VOE 955388

Винт шестигранник

M20 x 60 MM

1шт.

6

VOE 955903

Шайба

1шт.

6

VOE 955903

Шайба

1шт.

7

VOE 11141536

Towing hook

1шт.

8

VOE 13806878

Шайба

1шт.

9

VOE 13807832

Винт шестигранник

1шт.

Выбрано товаров: 17