Запчасти Volvo L50 56297 Cylinder liner, piston and connecting rod L50 L50 S/N -6400/-60300 USA

Схема запчастей Volvo L50 - 56297 Cylinder liner, piston and connecting rod L50 L50 S/N -6400/-60300 USA
FIT
1:1
100%

Артикул

Название

Примечание

Количество

VOE 6630596

Комплект гильз цилиндра

TD45B ENG - 68418

1шт.

VOE 11990058

Комплект гильз цилиндра

D45B. ENG 68419 -

1шт.

VOE 11990058

Комплект гильз цилиндра

D45B. ENG 68419 -

1шт.

VOE 11990057

Cylinder liner kit

TD45B. ENG 68419 -

1шт.

VOE 11990057

Комплект гильз цилиндра

TD45B. ENG 68419 -

1шт.

VOE 4804381

Прокладка

THICK=0,20

1шт.

VOE 4804383

Прокладка

THICK=0,50

1шт.

VOE 270094

Подшипник

0,25 U SZ

1шт.

VOE 270095

Подшипник

0,50 U SZ

1шт.

VOE 270097

Подшипник

1,00 U SZ

1шт.

VOE 270098

Подшипник

1,25 U SZ

1шт.

VOE 270096

Подшипник

0,75 U SZ

1шт.

VOE 4804382

Прокладка

THICK=0,30

1шт.

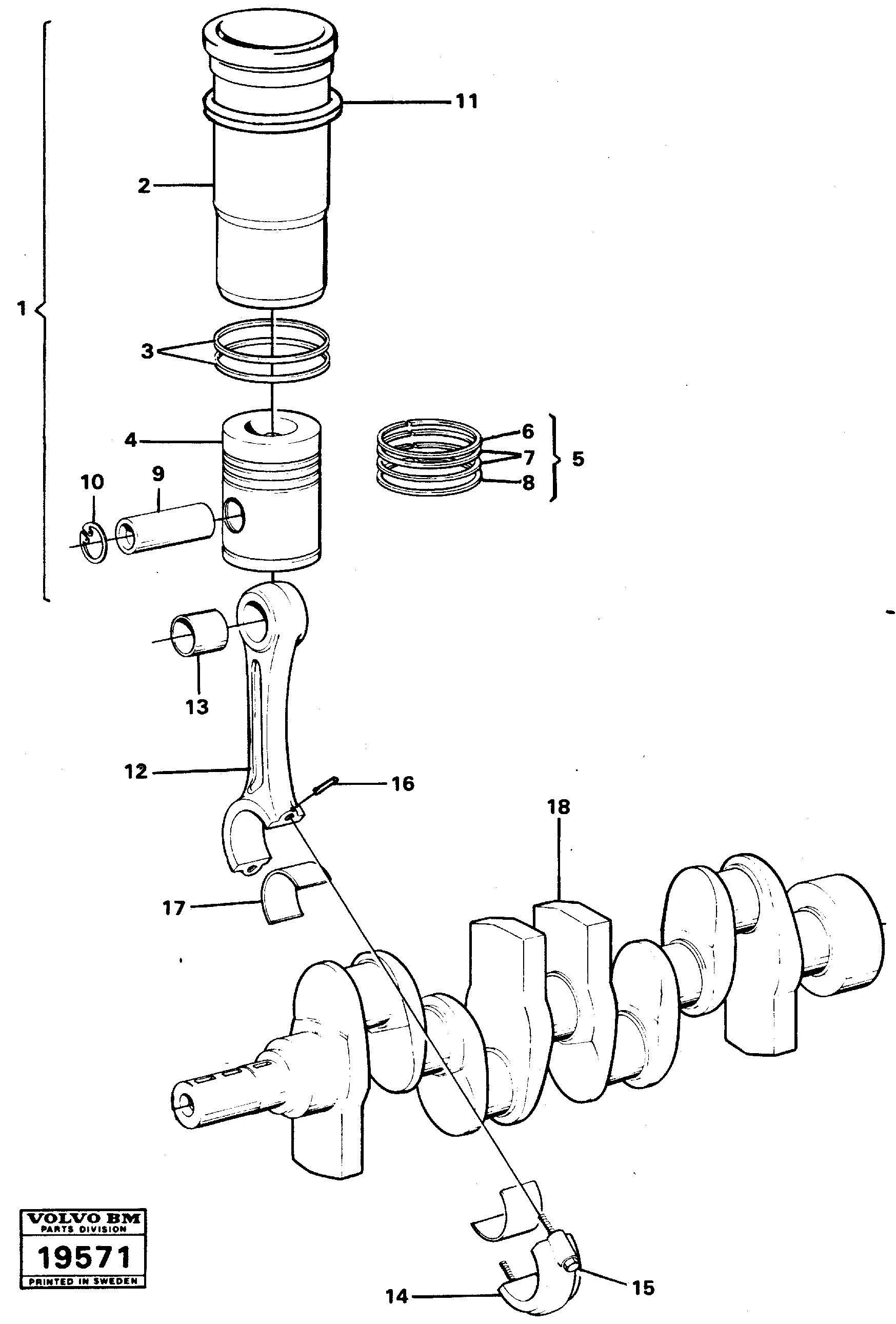
1

VOE 6630713

Комплект гильз цилиндра

D45B ENG - 68418

1шт.

10

VOE 914524

Retaining ring

1шт.

11

VOE 4804380

Прокладка

THICK=0,12

1шт.

12

VOE 4804450

Connecting rod

ENG - 71863

1шт.

12

VOE 11030051

Connecting rod

ENG 71864 -

1шт.

13

VOE 11030066

Bearing bushing

1шт.

13

VOE 11030066

Bearing bushing

1шт.

15

VOE 420126

Болт

1шт.

15

VOE 420126

Болт

1шт.

15

VOE 420126

Болт

1шт.

15

VOE 420126

Болт

1шт.

16

VOE 7021660

Палец

1шт.

17

VOE 270093

Подшипник

STD

1шт.

3

VOE 4804532

Кольцо уплотнительное

1шт.

5

VOE 6630616

Комплект поршневых колец

1шт.

5

VOE 6630616

Комплект поршневых колец

1шт.

8

VOE 787262

Oil scraper ring

1шт.

Выбрано товаров: 30