Запчасти Volvo L50 40588 Equipment vv-version L50 L50 S/N -6400/-60300 USA

Схема запчастей Volvo L50 - 40588 Equipment vv-version L50 L50 S/N -6400/-60300 USA
FIT
1:1
100%

Артикул

Название

Примечание

Количество

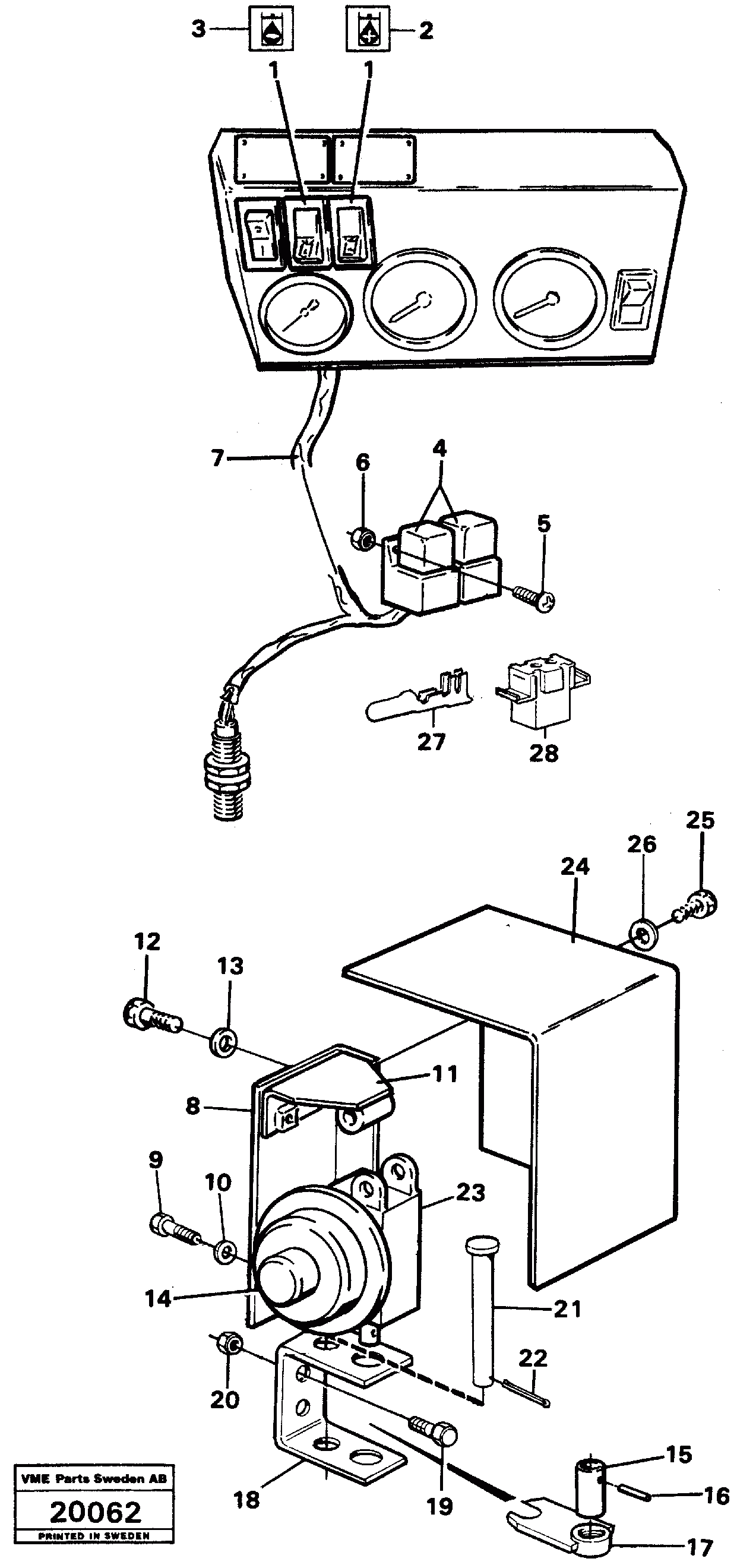
1

VOE 4803530

4803530

1шт.

10

VOE 13955894

Шайба

1шт.

10

VOE 13955894

Шайба

1шт.

12

VOE 13955295

Болт

1шт.

12

VOE 13955295

Болт

1шт.

13

VOE 13955894

Шайба

1шт.

13

VOE 13955894

Шайба

1шт.

14

VOE 4803640

Двигатель в сборе

1шт.

15

VOE 4949103

Socket

1шт.

16

VOE 13951944

Spring pin

1шт.

16

VOE 13951944

Spring pin

1шт.

17

VOE 4949100

Stop Sleeve

1шт.

19

VOE 13955271

Болт

1шт.

19

VOE 13955271

Болт

1шт.

2

VOE 4803706

Lens

1шт.

20

VOE 13955781

Гайка

1шт.

20

VOE 13955781

Гайка

1шт.

21

VOE 13964851

Clevis pin

1шт.

21

VOE 13964851

Болт

1шт.

22

VOE 907825

Cotter Pin

1шт.

23

VOE 4787427

Microswitch

1шт.

23

VOE 4787427

Microswitch

1шт.

25

VOE 955269

Винт шестигранник

1шт.

25

VOE 955269

Винт шестигранник

1шт.

26

VOE 955892

Шайба

1шт.

26

VOE 955892

Шайба

1шт.

27

VOE 965824

Cable terminal

1шт.

27

VOE 965824

Cable terminal

1шт.

28

VOE 13948995

Pin housing

1шт.

28

VOE 13948995

Pin housing

1шт.

3

VOE 4803707

Lens

1шт.

4

VOE 4786690

Реле

1шт.

4

VOE 4786690

Реле

1шт.

5

VOE 956075

Cross recessed screw

1шт.

5

VOE 956075

Cross recessed screw

1шт.

6

VOE 955780

Hexagon nut

1шт.

6

VOE 955780

Hexagon nut

1шт.

7

VOE 4949264

Cable harness

1шт.

9

VOE 13955295

Болт

1шт.

9

VOE 13955295

Болт

1шт.

Выбрано товаров: 40