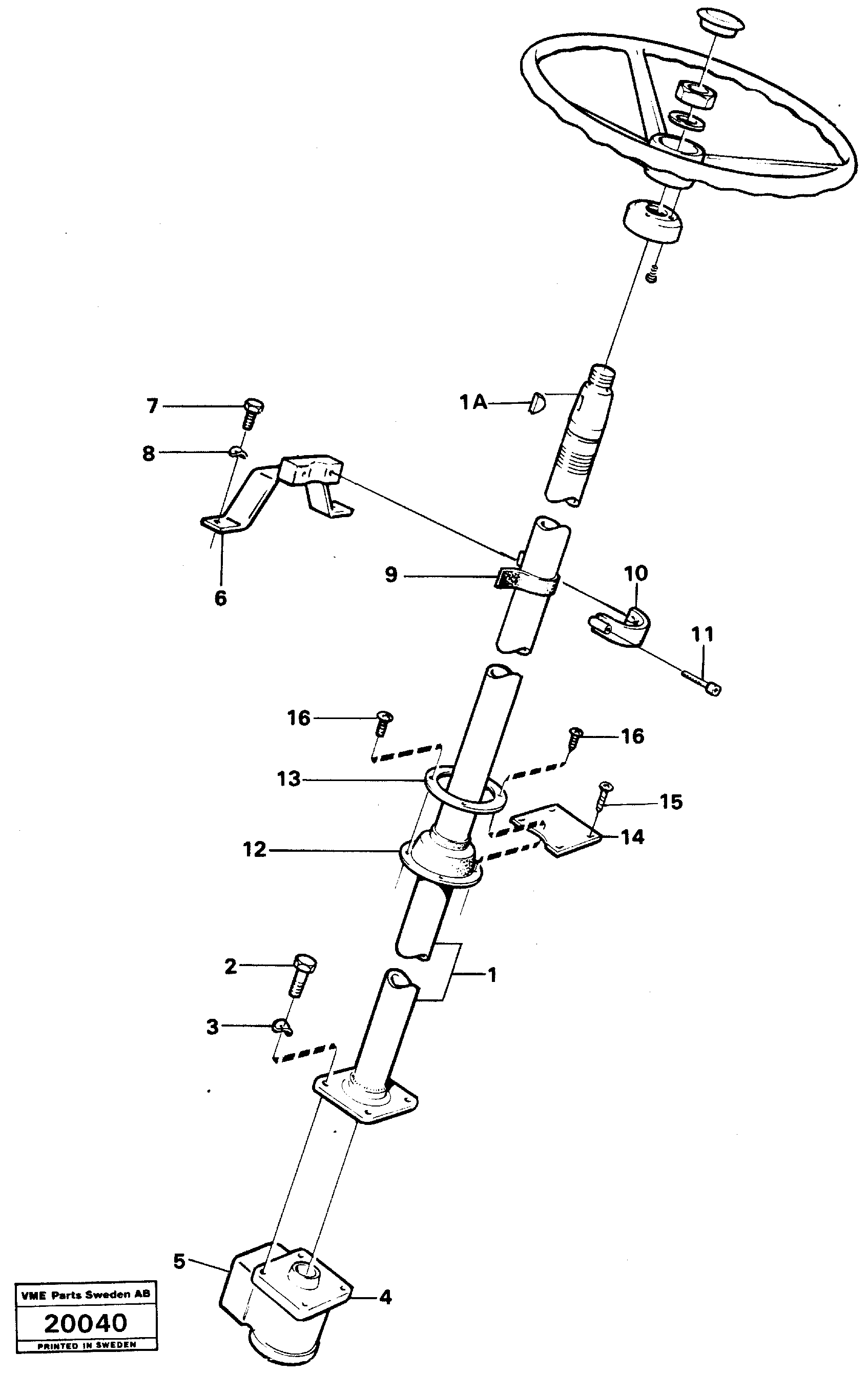
Запчасти Volvo L50 18330 Steering column with fitting parts L50 L50 S/N -6400/-60300 USA

Схема запчастей Volvo L50 - 18330 Steering column with fitting parts L50 L50 S/N -6400/-60300 USA
FIT
1:1
100%

Артикул

Название

Примечание

Количество

VOE 944704

X Rec Screw

OD=4,2. L=9,5

1шт.

VOE 944704

X Rec Screw

OD=4,2. L=9,5

1шт.

1

VOE 4881493

Рулевая колонка

1шт.

1

VOE 4881493

Рулевая колонка

1шт.

10

VOE 4850353

Зажим

1шт.

11

VOE 959227

Allen Hd Screw

1шт.

12

VOE 4923557

Boot

1шт.

13

VOE 4923559

Кольцо

1шт.

14

VOE 4926474

Шайба

1шт.

15

VOE 13980220

Болт

1шт.

15

VOE 13980220

Винт шестигранник (торцевой ключ)

1шт.

16

VOE 13980220

Болт

M6S M4 X 12

1шт.

16

VOE 13980220

Винт шестигранник (торцевой ключ)

M6S M4 X 12

1шт.

1A

VOE 4760805

Key

1шт.

1A

VOE 4760805

Key

1шт.

2

VOE 13970944

Винт шестигранник

1шт.

2

VOE 13970944

Винт шестигранник

1шт.

3

VOE 941908

Шайба пружинная

1шт.

3

VOE 941908

Шайба пружинная

1шт.

6

VOE 4850357

Кронштейн

1шт.

7

VOE 955293

Винт шестигранник

1шт.

7

VOE 955293

Винт шестигранник

1шт.

8

VOE 13941907

Шайба пружинная

1шт.

8

VOE 13941907

Шайба

1шт.

Выбрано товаров: 24