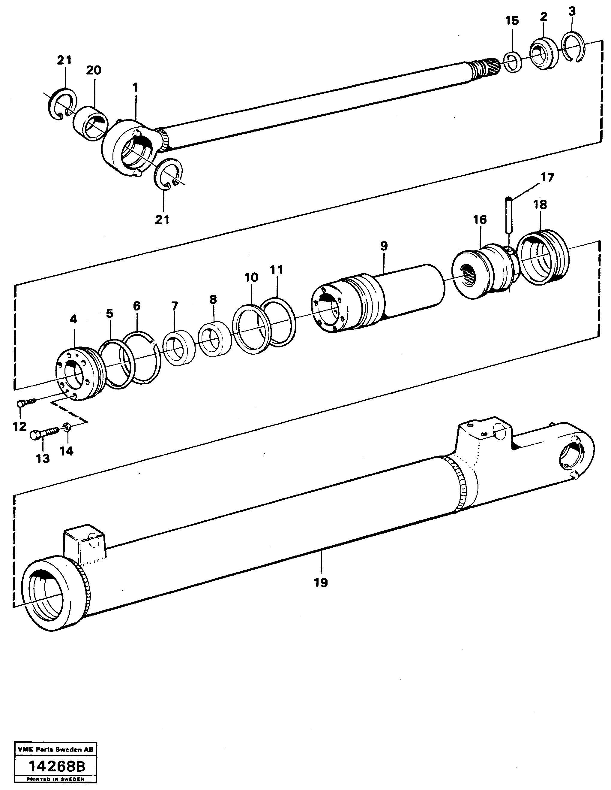
Запчасти Volvo L50 5073 Гидроцилиндр (цилиндр) подъемный L50 L50 S/N -6400/-60300 USA

Схема запчастей Volvo L50 - 5073 Гидроцилиндр (цилиндр) подъемный L50 L50 S/N -6400/-60300 USA
FIT
1:1
100%

Артикул

Название

Примечание

Количество

VOE 6630560

Gasket kit

1шт.

VOE 4782418

Гидроцилиндр

1шт.

VOE 4782418

Гидроцилиндр

1шт.

1

VOE 4784347

Шток поршня

1шт.

10

VOE 4787062

Back-up ring

1шт.

11

VOE 925094

Кольцо уплотнительное (О-кольцо)

1шт.

11

VOE 925094

Кольцо уплотнительное (О-кольцо)

1шт.

12

VOE 955269

Винт шестигранник

L=12

1шт.

12

VOE 955269

Винт шестигранник

L=12

1шт.

13

VOE 927657

Lock screw

L=30

1шт.

13

VOE 927657

Lock screw

L=30

1шт.

14

VOE 13941906

Шайба

1шт.

14

VOE 13941906

Шайба

1шт.

15

VOE 13960172

Кольцо уплотнительное (О-кольцо)

1шт.

15

VOE 13960172

Кольцо уплотнительное (О-кольцо)

1шт.

16

VOE 4782406

Поршень

1шт.

16

VOE 4782406

Поршень

1шт.

17

VOE 4782718

Палец

1шт.

18

VOE 4833023

Сальник

1шт.

19

VOE 4782425

Cylinder tube

1шт.

19

VOE 4782425

Cylinder tube

1шт.

2

VOE 11005051

11005051

1шт.

20

VOE 184059

Spherical plain bearing

1шт.

20

VOE 184059

Spherical plain bearing

1шт.

21

VOE 914530

Кольцо стопорное

1шт.

21

VOE 914530

Retaining ring

1шт.

3

VOE 13946677

Кольцо стопорное

1шт.

3

VOE 13946677

Retaining ring

1шт.

4

VOE 4782555

Стопорная шайба (кольцо)

1шт.

4

VOE 4782555

Стопорная шайба (кольцо)

1шт.

5

VOE 925094

Кольцо уплотнительное (О-кольцо)

1шт.

5

VOE 925094

Кольцо уплотнительное (О-кольцо)

1шт.

6

VOE 4782409

Locking wire

1шт.

6

VOE 4782409

Locking wire

1шт.

7

VOE 4784031

Spacer ring

1шт.

8

VOE 4784058

Уплотнение штока поршня

1шт.

9

VOE 4782556

Стакан штока поршня (направляющая)

1шт.

9

VOE 4782556

Piston rod guide

1шт.

Выбрано товаров: 38