Запчасти Volvo L50 627 Automatic hose coupling, loader unit (ahc) L50 L50 S/N -6400/-60300 USA

Схема запчастей Volvo L50 - 627 Automatic hose coupling, loader unit (ahc) L50 L50 S/N -6400/-60300 USA
FIT
1:1
100%

Артикул

Название

Примечание

Количество

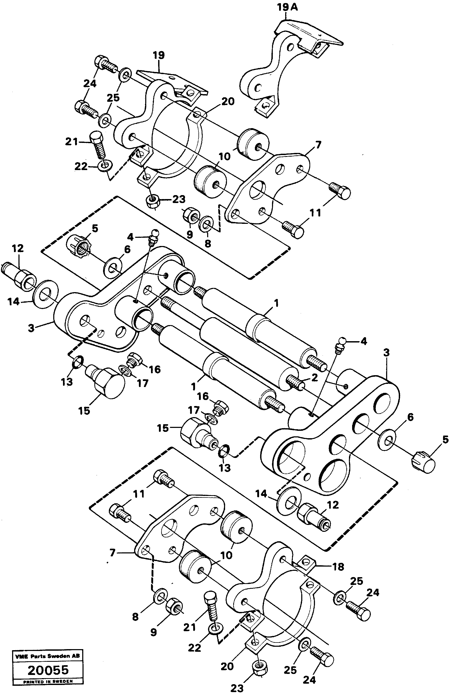
VOE 11010882

Loader Unit

1шт.

1

VOE 11010911

Steering Axle

1шт.

10

VOE 11010914

Rubber Block

1шт.

11

VOE 13970946

Винт шестигранник

1шт.

11

VOE 13970946

Винт шестигранник

1шт.

12

VOE 11010980

Quick Coupling

1шт.

13

VOE 11990633

Кольцо уплотнительное (О-кольцо)

1шт.

14

VOE 11010884

Disc Spring

1шт.

15

VOE 11010879

Адаптер

1шт.

16

VOE 914394

Пробка (заглушка)

1шт.

16

VOE 914394

Пробка (заглушка)

1шт.

17

VOE 14013070

Sealing washer

1шт.

17

VOE 14013070

Sealing washer

1шт.

18

VOE 11010242

Cap

1шт.

19A

VOE 11011839

Cap

SER NO 6183 -

1шт.

2

VOE 11010904

Cont Cylinder

1шт.

2

VOE 11010904

Cont Cylinder

1шт.

20

VOE 11010243

Cap

1шт.

21

VOE 970952

Винт шестигранник

1шт.

21

VOE 970952

Винт шестигранник

1шт.

22

VOE 976945

Шайба

1шт.

22

VOE 976945

Шайба

1шт.

23

VOE 13971083

Lock nut

1шт.

23

VOE 13971083

Lock nut

1шт.

24

VOE 13970946

Винт шестигранник

1шт.

24

VOE 13970946

Винт шестигранник

1шт.

25

VOE 925742

Шайба

1шт.

25

VOE 925742

Шайба

1шт.

4

VOE 914167

Nipple

1шт.

4

VOE 914167

Nipple

1шт.

5

VOE 11010915

Пробка (заглушка)

1шт.

6

VOE 11010916

Disc Spring

1шт.

8

VOE 955899

Шайба

1шт.

8

VOE 955899

Шайба

1шт.

9

VOE 13971085

Lock nut

1шт.

9

VOE 13971085

Lock nut

1шт.

Выбрано товаров: 36