Запчасти Volvo L50 13582 Вал карданный L50 L50 S/N 6401- / 60301- USA

Схема запчастей Volvo L50 - 13582 Вал карданный L50 L50 S/N 6401- / 60301- USA
FIT
1:1
100%

Артикул

Название

Примечание

Количество

VOE 951739

Nipple

1шт.

VOE 951739

Nipple

1шт.

VOE 11003068

Вал карданный

1шт.

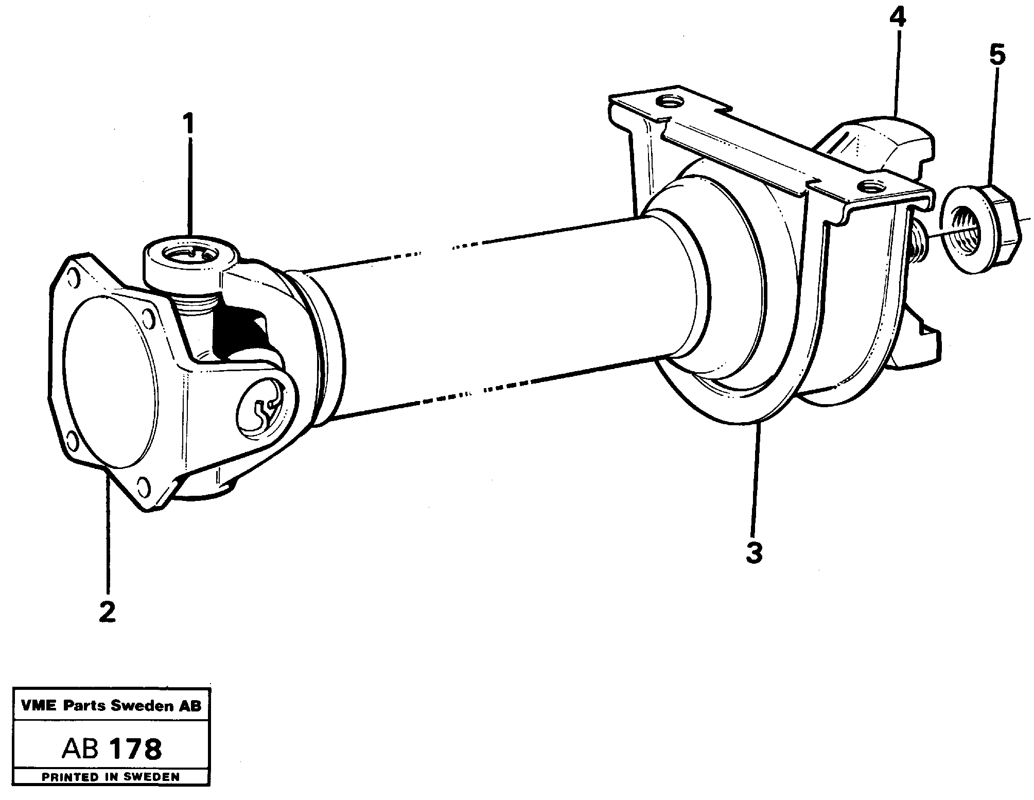
1

VOE 11992487

Крестовина

1шт.

1

VOE 11992487

Крестовина

1шт.

2

VOE 11992491

Comp Flange

1шт.

3

VOE 11996334

Подшипник промежуточный

1шт.

4

VOE 11992494

Comp Flange

1шт.

5

VOE 11992498

Гайка

1шт.

5

VOE 11992498

Гайка

1шт.

Выбрано товаров: 10