Запчасти Volvo L50B 35783 Grapple ATTACHMENTS ATTACHMENTS WHEEL LOADERS GEN. - C

Схема запчастей Volvo L50B - 35783 Grapple ATTACHMENTS ATTACHMENTS WHEEL LOADERS GEN. - C
FIT
1:1
100%

Артикул

Название

Примечание

Количество

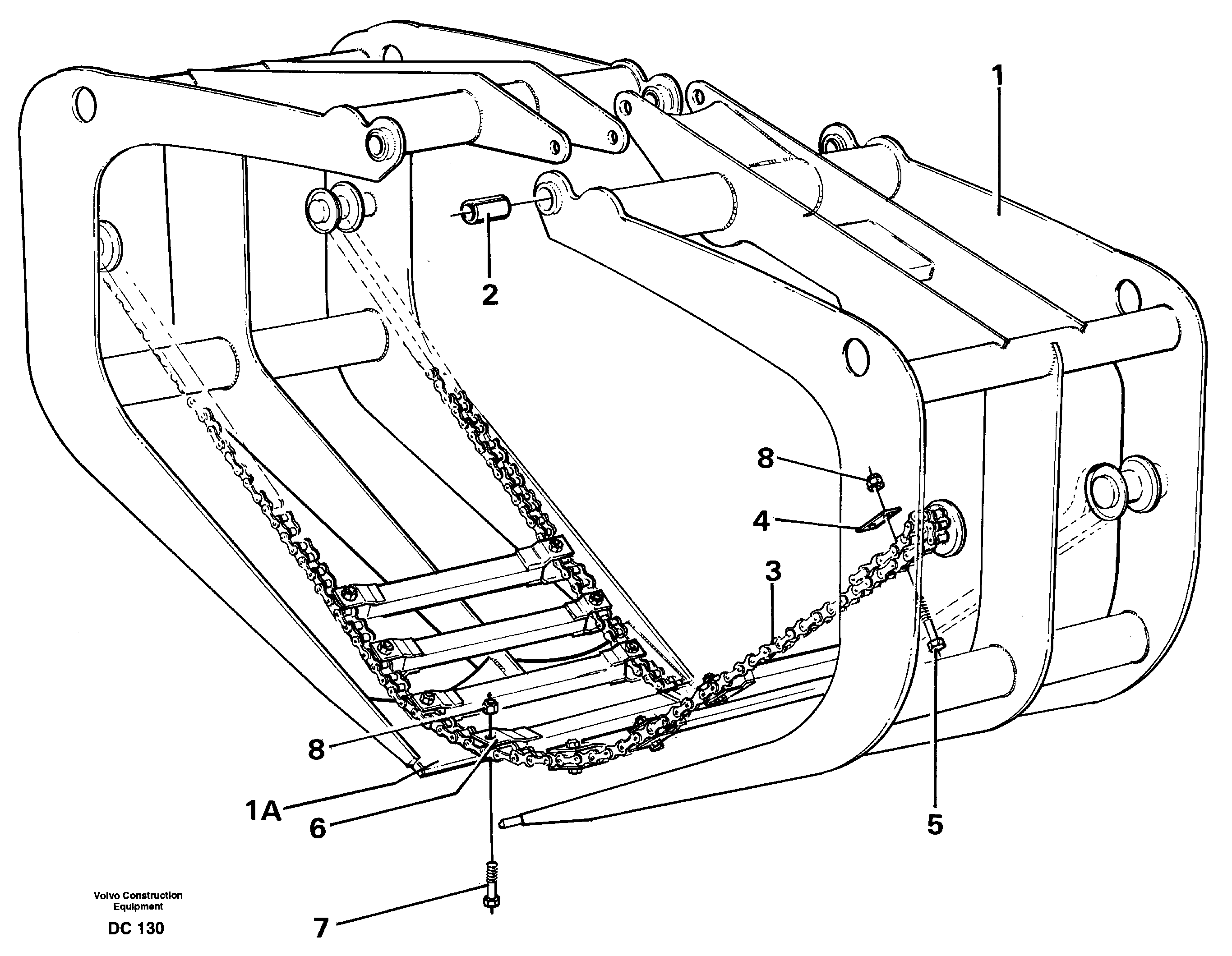
1A

VOE 4858425

Tip plate

1шт.

1A

VOE 4858425

Tip plate

1шт.

2

VOE 4880471

Втулка

1шт.

2

VOE 4880471

Втулка

1шт.

3

VOE 4881564

Roller chain

1шт.

3

VOE 4881564

Roller chain

1шт.

5

VOE 955397

Винт шестигранник

1шт.

5

VOE 955397

Винт шестигранник

1шт.

6

VOE 4858670

Направляющая

SER NO 2086 -

1шт.

6

VOE 4858670

Направляющая

SER NO 2086 -

1шт.

7

VOE 955393

Винт шестигранник

1шт.

7

VOE 955393

Винт шестигранник

1шт.

8

VOE 963111

Lock nut

1шт.

8

VOE 963111

Lock nut

1шт.

Выбрано товаров: 14