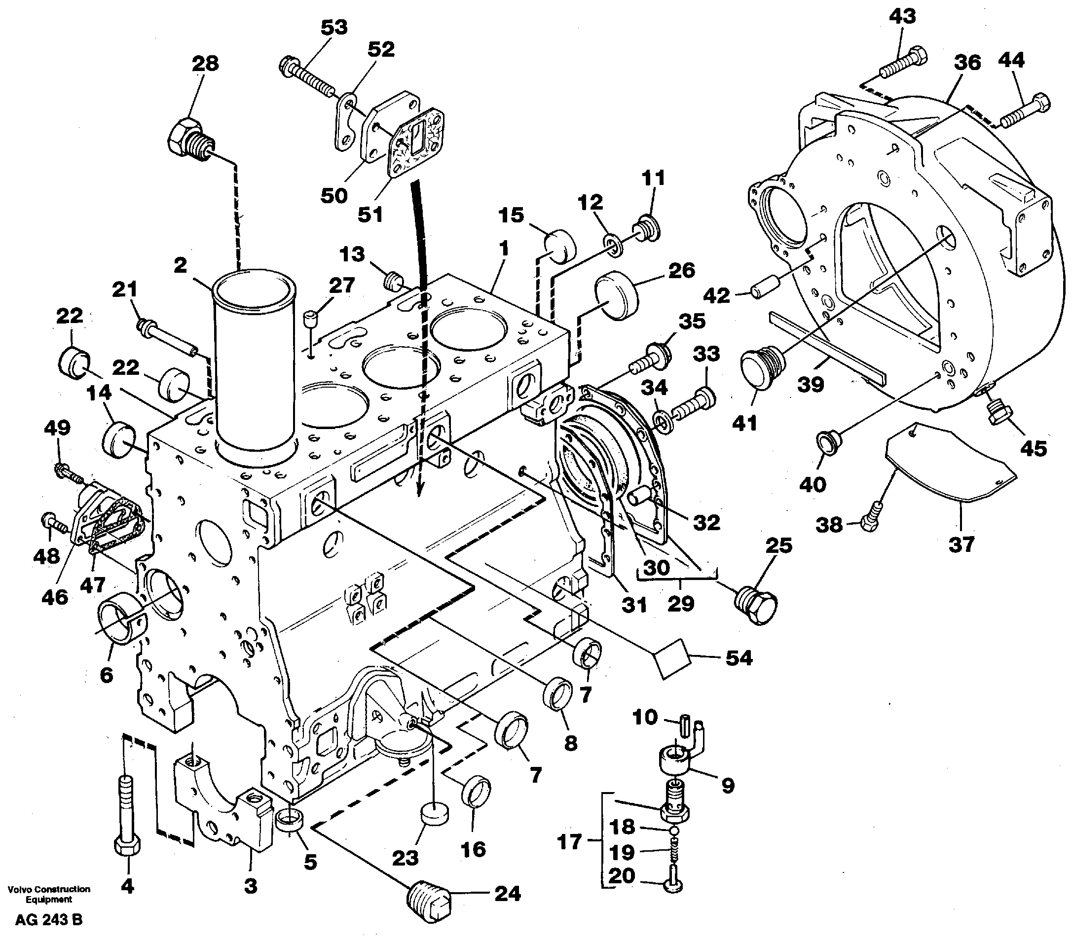
Запчасти Volvo L50B 29986 Блок цилиндров L50B/L50C VOLVO BM VOLVO BM L50B/L50C SER NO - 10966

Схема запчастей Volvo L50B - 29986 Блок цилиндров L50B/L50C VOLVO BM VOLVO BM L50B/L50C SER NO - 10966
FIT
1:1
100%

Артикул

Название

Примечание

Количество

VOE 946440

Flange screw

L = 16

1шт.

VOE 946440

Flange screw

L = 16

1шт.

VOE 11997014

Болт

ENG U690756A -

1шт.

VOE 11703608

Болт

L PROD

1шт.

1

VOE 11704870

Блок цилиндров

1шт.

10

VOE 11997816

Dowel

1шт.

11

VOE 483445

Пробка (заглушка)

1шт.

12

VOE 11997810

Шайба

1шт.

13

VOE 968147

Пробка (заглушка)

1шт.

14

VOE 11997807

Пробка (заглушка)

1шт.

15

VOE 11997807

Пробка (заглушка)

1шт.

16

VOE 11700782

Пробка (заглушка)

1шт.

17

VOE 11997817

Клапан

1шт.

18

VOE 11997818

Ball

1шт.

19

VOE 11997819

Пружина

1шт.

20

VOE 11997820

Тарелка клапана

1шт.

21

VOE 11997808

Пробка (заглушка)

1шт.

22

VOE 11997807

Пробка (заглушка)

1шт.

23

VOE 6637386

Пробка (заглушка)

1шт.

24

VOE 7016325

Пробка (заглушка)

1шт.

24

VOE 7016325

Пробка (заглушка)

1шт.

25

VOE 482291

Пробка (заглушка)

1шт.

26

VOE 11997809

Пробка (заглушка)

1шт.

27

VOE 483645

Пробка (заглушка)

1шт.

28

VOE 482291

Пробка (заглушка)

1шт.

29

VOE 11998999

Крышка

1шт.

30

VOE 6212971

Кольцо уплотнительное

1шт.

31

VOE 11706327

Прокладка

1шт.

31

VOE 11706327

Прокладка

1шт.

32

VOE 480219

480219

1шт.

33

VOE 11997812

Болт

ENG - U690755A

1шт.

34

VOE 11991729

Шайба

ENG - U690755A

1шт.

35

VOE 13946173

Screw

1шт.

35

VOE 13946173

Болт

1шт.

36

VOE 11997942

Картер маховика

1шт.

38

VOE 11998909

Болт

E PROD

1шт.

39

VOE 6211401

Прокладка

1шт.

4

VOE 6210370

Болт

1шт.

40

VOE 11997935

Пробка (заглушка)

1шт.

41

VOE 11997943

Пробка (заглушка)

1шт.

42

VOE 483449

483449

1шт.

43

VOE 11701723

Болт

1шт.

44

VOE 13965191

Screw

1шт.

44

VOE 13965191

Болт

1шт.

45

VOE 13966143

Пробка (заглушка)

1шт.

45

VOE 13966143

Пробка (заглушка)

1шт.

46

VOE 11998028

Адаптер

1шт.

47

VOE 11998009

Прокладка

1шт.

47

VOE 11998009

Прокладка

1шт.

48

VOE 11998030

Болт

1шт.

49

VOE 11998031

Болт

1шт.

5

VOE 483302

Guide sleeve

1шт.

50

VOE 11998953

11998953

1шт.

51

VOE 11700965

Прокладка

1шт.

51

VOE 11700965

Прокладка

1шт.

52

VOE 6646984

Пластина

1шт.

52

VOE 6646984

Пластина

1шт.

53

VOE 13946173

Screw

L = 20

1шт.

53

VOE 13946173

Болт

L = 20

1шт.

54

VOE 11100921

Sign

1шт.

6

VOE 3976506

Втулка

1шт.

7

VOE 483898

Пробка (заглушка)

1шт.

8

VOE 11997805

Пробка (заглушка)

1шт.

9

VOE 11714691

Nozzle

1шт.

Выбрано товаров: 64