Запчасти Volvo L50B 29684 Форсунка топливная (инжектор) L50B/L50C VOLVO BM VOLVO BM L50B/L50C SER NO - 10966

Схема запчастей Volvo L50B - 29684 Форсунка топливная (инжектор) L50B/L50C VOLVO BM VOLVO BM L50B/L50C SER NO - 10966
FIT
1:1
100%

Артикул

Название

Примечание

Количество

VOE 11997923

Форсунка топливная (инжектор)

1шт.

VOE 11999189

Прокладка

O SZ=0,44MM

1шт.

VOE 11999191

Прокладка

O SZ=0,48MM

1шт.

VOE 11999193

Прокладка

O SZ=0,52MM

1шт.

VOE 11999195

Прокладка

O SZ=0,56MM

1шт.

VOE 11999197

Прокладка

O SZ=0,60MM

1шт.

VOE 11999199

Прокладка

O SZ=0,64MM

1шт.

VOE 11999201

Прокладка

O SZ=0,68MM

1шт.

VOE 11999203

Прокладка

O SZ=1,00MM

1шт.

VOE 11999205

Прокладка

O SZ=1,56MM

1шт.

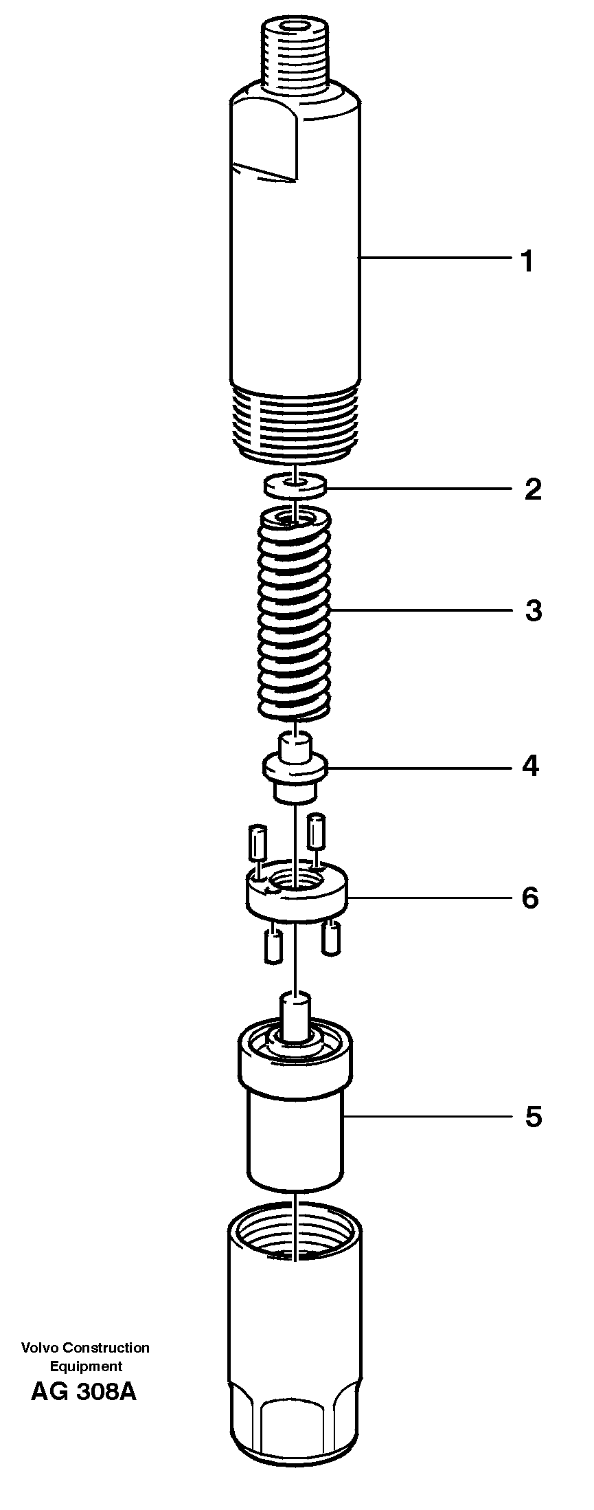
1

VOE 11997924

Cage

1шт.

2

VOE 11999187

Прокладка

O SZ=0,30MM

1шт.

3

VOE 11999206

Пружина

1шт.

4

VOE 11999207

Seat

1шт.

5

VOE 11997925

Nozzle

1шт.

6

VOE 1698513

Шайба

1шт.

6

VOE 1698513

Шайба

1шт.

Выбрано товаров: 17