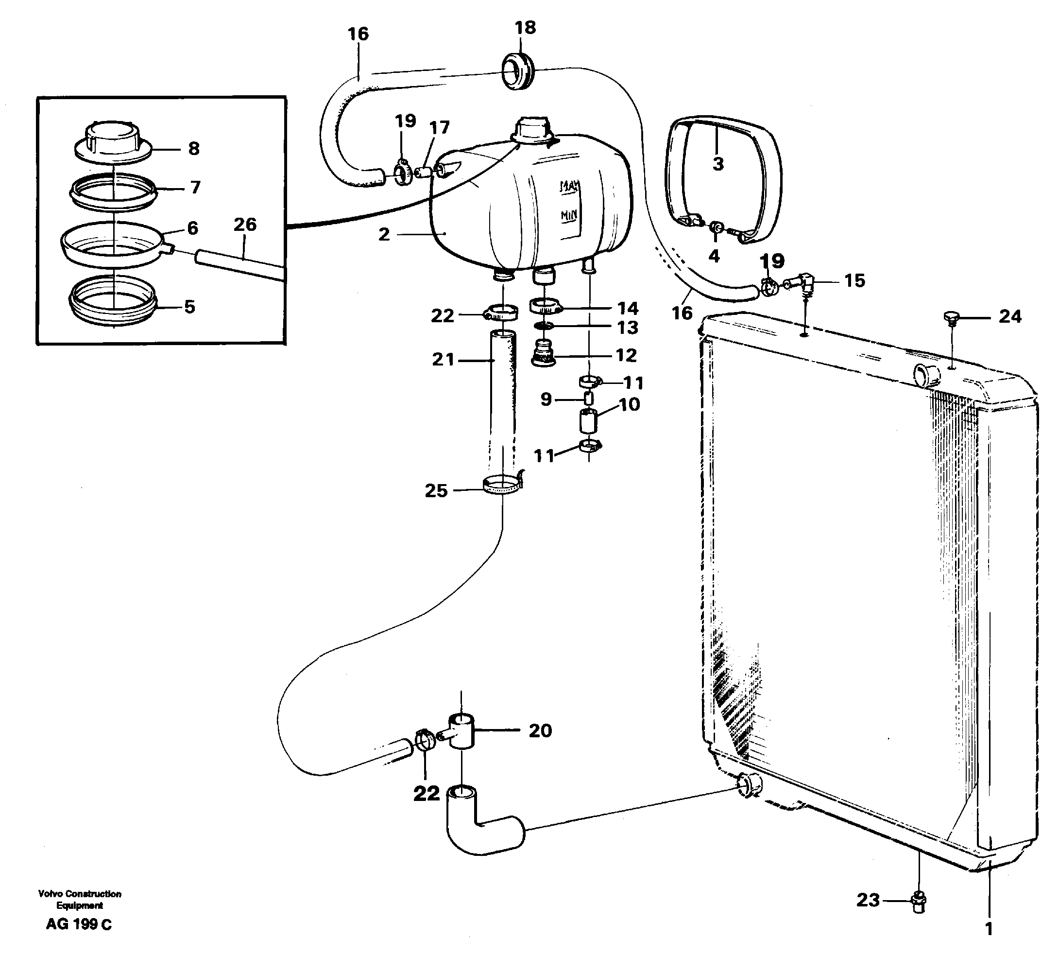
Запчасти Volvo L50B 84927 Система охлаждения L50B/L50C VOLVO BM VOLVO BM L50B/L50C SER NO - 10966

Схема запчастей Volvo L50B - 84927 Система охлаждения L50B/L50C VOLVO BM VOLVO BM L50B/L50C SER NO - 10966
FIT
1:1
100%

Артикул

Название

Примечание

Количество

VOE 943367

Шланг

SER NO 10070 - ,L = 440MM

1шт.

VOE 943367

Шланг

SER NO 10070 - ,L = 440MM

1шт.

10

VOE 943367

Шланг

L = 50MM

1шт.

10

VOE 943367

Шланг

L = 50MM

1шт.

11

VOE 943471

Hose clamp

1шт.

12

VOE 4804282

Пробка (заглушка)

1шт.

12

VOE 4804282

Пробка (заглушка)

1шт.

13

VOE 13960164

Кольцо уплотнительное (О-кольцо)

1шт.

13

VOE 13960164

Кольцо уплотнительное (О-кольцо)

1шт.

14

VOE 926244

Hose clamp

1шт.

14

VOE 926244

Hose clamp

1шт.

15

VOE 11100560

Hose nipple

1шт.

16

VOE 943367

Шланг

SER NO - 10069 ,L = 500MM

1шт.

16

VOE 943367

Шланг

SER NO - 10069 ,L = 500MM

1шт.

17

VOE 11033572

Restrictor

1шт.

18

VOE 961960

Уплотнительная втулка

1шт.

18

VOE 961960

Уплотнительная втулка

1шт.

19

VOE 943471

Hose clamp

1шт.

2

VOE 11110211

Бак (бачок) расширительный

1шт.

2

VOE 11110211

Бак (бачок) расширительный

1шт.

21

VOE 944386

Шланг

L = 700MM

1шт.

21

VOE 944386

Шланг

L = 700MM

1шт.

22

VOE 943475

Hose clamp

1шт.

22

VOE 943475

Hose clamp

1шт.

23

VOE 13947893

Crane

1шт.

24

VOE 180759

Пробка (заглушка)

1шт.

24

VOE 180759

Plug

1шт.

25

VOE 4821292

Cable tie

1шт.

25

VOE 4821292

Cable tie

1шт.

26

VOE 941363

Шланг

L = 1300MM

1шт.

26

VOE 941363

Шланг

L = 1300MM

1шт.

3

VOE 4804563

Tensioning band

1шт.

3

VOE 4804563

Tensioning band

1шт.

4

VOE 955780

Hexagon nut

1шт.

4

VOE 955780

Hexagon nut

1шт.

5

VOE 4804410

Кольцо уплотнительное

1шт.

5

VOE 4804410

Кольцо уплотнительное

1шт.

6

VOE 4804414

Фланец

1шт.

6

VOE 4804414

Фланец

1шт.

7

VOE 4804409

Кольцо уплотнительное

1шт.

7

VOE 4804409

Кольцо уплотнительное

1шт.

8

VOE 1542591

Cap

1шт.

8

VOE 1542591

Cap

1шт.

9

VOE 950588

Палец

1шт.

Выбрано товаров: 44