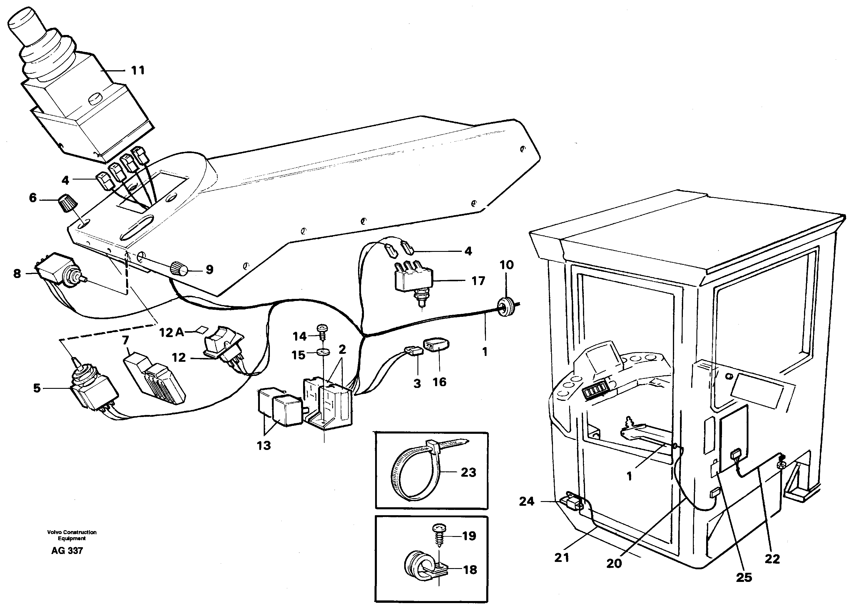
Запчасти Volvo L50C 47284 Cable harness for Cdc-steering L50B/L50C VOLVO BM VOLVO BM L50B/L50C SER NO - 10966

Схема запчастей Volvo L50C - 47284 Cable harness for Cdc-steering L50B/L50C VOLVO BM VOLVO BM L50B/L50C SER NO - 10966
FIT
1:1
100%

Артикул

Название

Примечание

Количество

1

VOE 11041034

11041034

1шт.

10

VOE 941264

Уплотнительная втулка

1шт.

10

VOE 941264

Уплотнительная втулка

1шт.

12

VOE 11039439

11039439

1шт.

12A

VOE 4803548

Lens

1шт.

13

VOE 4786690

Реле

RE 30, RE 31

1шт.

13

VOE 4786690

Реле

RE 30, RE 31

1шт.

14

VOE 972006

Винт шестигранник (торцевой ключ)

1шт.

15

VOE 11004663

Шайба

1шт.

16

VOE 4940327

Диод

1шт.

16

VOE 4940327

Диод

1шт.

17

VOE 4787427

Microswitch

1шт.

17

VOE 4787427

Microswitch

1шт.

18

VOE 11004125

Зажим

1шт.

19

VOE 972006

Винт шестигранник (торцевой ключ)

1шт.

20

VOE 11041722

11041722

1шт.

21

VOE 11100146

11100146

1шт.

22

VOE 11041039

11041039

1шт.

23

VOE 4881440

Cable tie

1шт.

23

VOE 4881440

Cable tie

1шт.

3

VOE 13958210

Receptacle housing

1шт.

3

VOE 13958210

Receptacle housing

1шт.

4

VOE 13949597

Изолятор

1шт.

4

VOE 13949597

Protecting sleeve

1шт.

5

VOE 11997561

11997561

1шт.

6

VOE 11992216

Knob

1шт.

7

VOE 13944221

Картер (корпус)

1шт.

7

VOE 13944221

Картер (корпус)

1шт.

8

VOE 11997560

11997560

1шт.

9

VOE 11992216

Knob

1шт.

Выбрано товаров: 30