Запчасти Volvo L50C 25313 Инструменты для ремонта L50C S/N 10967-, OPEN ROPS S/N 35001-

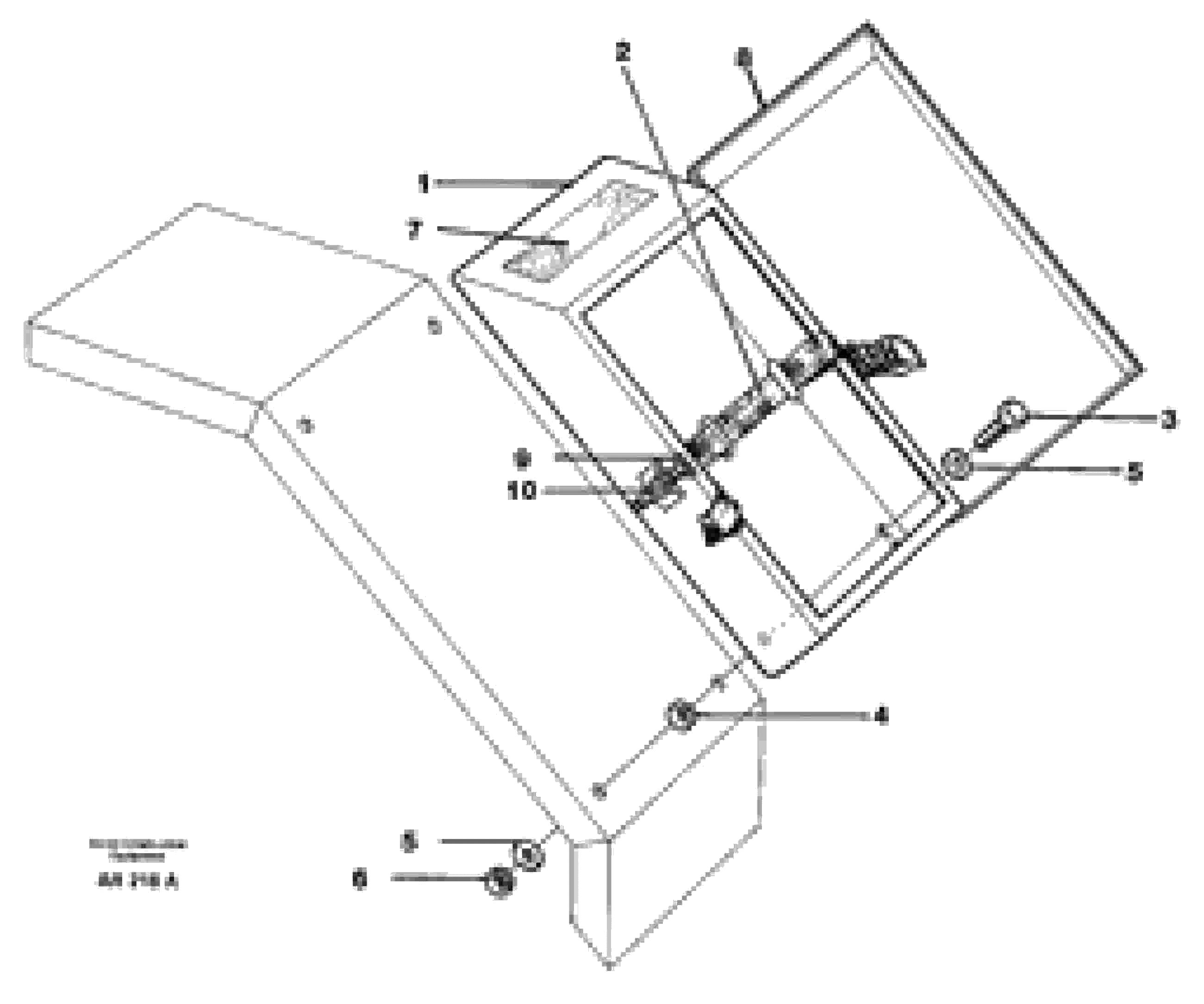
Схема запчастей Volvo L50C - 25313 Инструменты для ремонта L50C S/N 10967-, OPEN ROPS S/N 35001-
FIT
1:1
100%

Артикул

Название

Примечание

Количество

VOE 7000878

Padlock

1шт.

VOE 7000878

Padlock

1шт.

1

VOE 11090791

Tool Box

1шт.

1

VOE 11090791

Tool Box

1шт.

10

VOE 11015639

Eccentric Lock

1шт.

10

VOE 11015639

Eccentric Lock

1шт.

2

VOE 11104606

Retaining Strap

1шт.

2

VOE 11104606

Retaining Strap

1шт.

3

VOE 13970949

Винт шестигранник

1шт.

3

VOE 13970949

Винт шестигранник

1шт.

4

VOE 4974453

Вставка

L = 16 MM

1шт.

4

VOE 4974453

Вставка

L = 16 MM

1шт.

5

VOE 13960143

Шайба

1шт.

5

VOE 13960143

Шайба

1шт.

6

VOE 13971083

Lock nut

1шт.

6

VOE 13971083

Lock nut

1шт.

7

VOE 11091424

Slip Protection

1шт.

7

VOE 11091424

Slip Protection

1шт.

8

VOE 4785436

Protecting Moulding

L = 320 MM

1шт.

8

VOE 4785436

Protecting Moulding

L = 320 MM

1шт.

9

VOE 11015638

Откидной (рым, с ушком, с петлей) болт (винт)

1шт.

9

VOE 11015638

Откидной (рым, с ушком, с петлей) болт (винт)

1шт.

Выбрано товаров: 22