Запчасти Volvo L50C 39111 Valve body Assembly L50C S/N 10967-, OPEN ROPS S/N 35001-

Схема запчастей Volvo L50C - 39111 Valve body Assembly L50C S/N 10967-, OPEN ROPS S/N 35001-
FIT
1:1
100%

Артикул

Название

Примечание

Количество

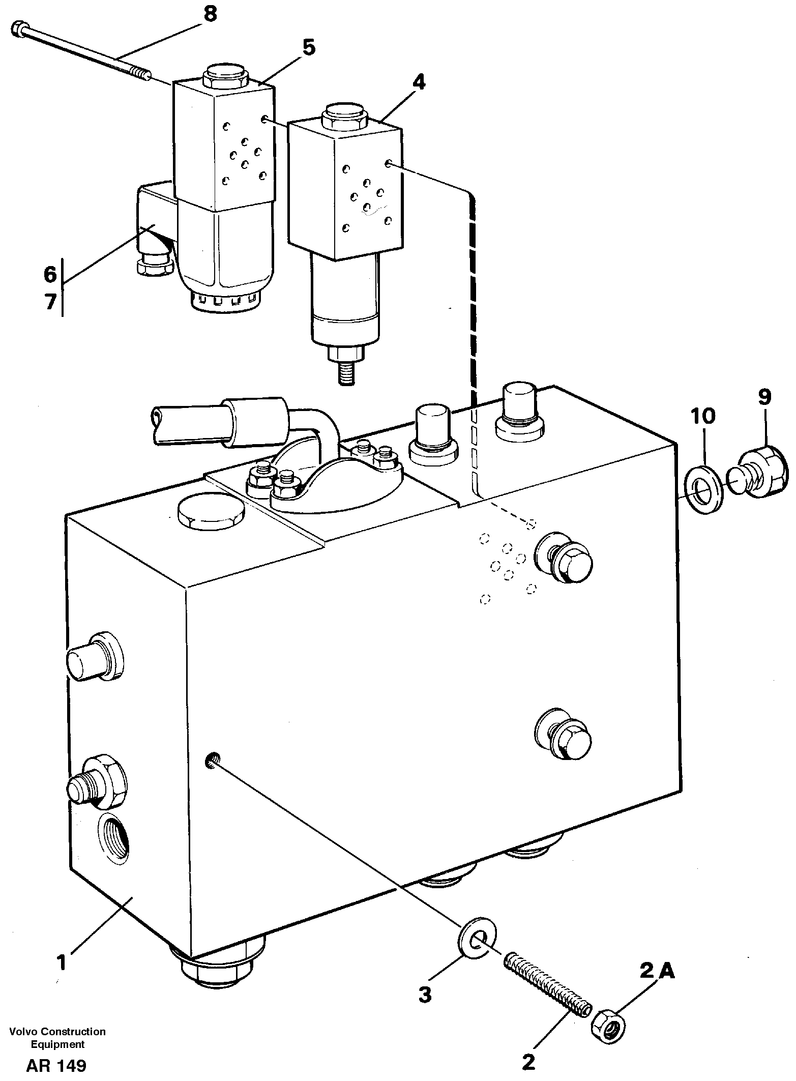
VOE 11994411

Sealing Kit

1шт.

VOE 11994411

Sealing Kit

1шт.

VOE 11704729

Sealing Kit

1шт.

VOE 11704729

Sealing Kit

1шт.

10

VOE 13945653

Plane Gasket

1шт.

10

VOE 13945653

Plane Gasket

1шт.

2

VOE 479971

Шпилька

1шт.

2A

VOE 13971098

Flange nut

1шт.

2A

VOE 13971098

Flange nut

1шт.

3

VOE 13960143

Шайба

1шт.

3

VOE 13960143

Шайба

1шт.

4

VOE 11090069

Клапан

1шт.

4

VOE 11090069

Клапан

1шт.

5

VOE 11003548

Встроенный клапан в сборе

MA57

1шт.

5

VOE 11003548

Встроенный клапан в сборе

MA57

1шт.

6

VOE 11993636

Magnet

1шт.

6

VOE 11993636

Magnet

1шт.

7

VOE 11993637

Sealing Kit

1шт.

7

VOE 11993637

Sealing Kit

1шт.

8

VOE 13977978

Allen Hd Screw

1шт.

9

VOE 960630

Пробка (заглушка)

1шт.

9

VOE 960630

Пробка (заглушка)

1шт.

Выбрано товаров: 22