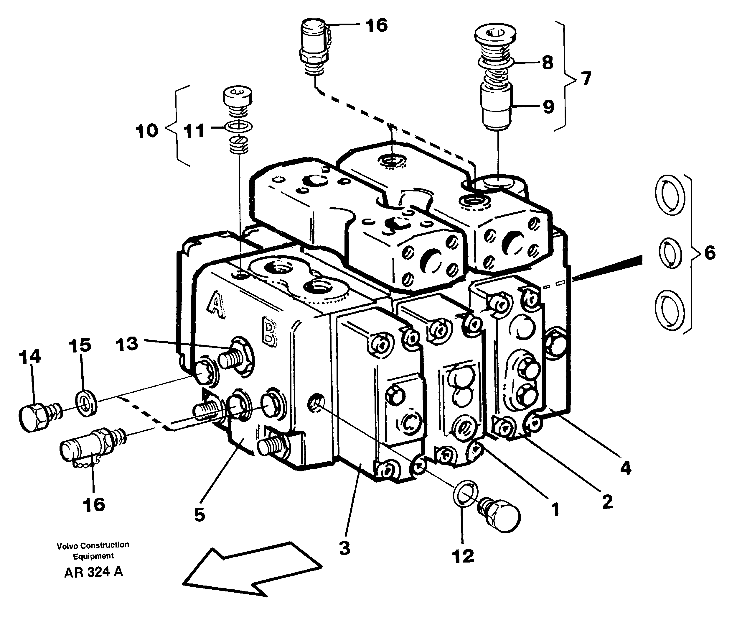
Запчасти Volvo L50C 60858 Клапан регулирующий (распределительный) L50C S/N 10967-, OPEN ROPS S/N 35001-

Схема запчастей Volvo L50C - 60858 Клапан регулирующий (распределительный) L50C S/N 10967-, OPEN ROPS S/N 35001-
FIT
1:1
100%

Артикул

Название

Примечание

Количество

VOE 11100271

Клапан регулирующий (распределительный)

1шт.

VOE 11707000

Клапан

1шт.

VOE 11707000

Клапан

1шт.

VOE 11706999

Клапан

1шт.

VOE 11706999

Клапан

1шт.

VOE 13960213

Кольцо уплотнительное (О-кольцо)

1шт.

VOE 13960213

Кольцо уплотнительное (О-кольцо)

1шт.

VOE 11091221

Hydraulic valve

1шт.

VOE 11091221

Hydraulic valve

1шт.

1

VOE 11700770

Клапан

Lift

1шт.

1

VOE 11700770

Клапан

Lift

1шт.

10

VOE 11998253

Restrictor

1шт.

11

VOE 11996447

Кольцо уплотнительное (О-кольцо)

1шт.

11

VOE 11996447

Кольцо уплотнительное (О-кольцо)

1шт.

12

VOE 11998254

Кольцо уплотнительное (О-кольцо)

1шт.

12

VOE 11998254

Кольцо уплотнительное (О-кольцо)

1шт.

13

VOE 11998995

Tie rod kit

1шт.

13

VOE 11998995

Tie rod kit

1шт.

14

VOE 960630

Пробка (заглушка)

1шт.

14

VOE 960630

Пробка (заглушка)

1шт.

15

VOE 13945653

Plane gasket

1шт.

15

VOE 13945653

Plane gasket

1шт.

16

VOE 936444

Testing nipple

1шт.

16

VOE 936444

Testing nipple

1шт.

2

VOE 11700771

Клапан

Tilt

1шт.

2

VOE 11700771

Клапан

Tilt

1шт.

3

VOE 11999491

Клапан

3:rd func

1шт.

3

VOE 11999491

Клапан

3:rd func

1шт.

4

VOE 11701722

End plate

1шт.

4

VOE 11701722

End plate

1шт.

6

VOE 11996433

Sealing kit

1шт.

6

VOE 11996433

Sealing kit

1шт.

7

VOE 11998252

Non-return valve

1шт.

7

VOE 11998252

Клапан обратный

1шт.

8

VOE 11998256

Кольцо уплотнительное (О-кольцо)

1шт.

8

VOE 11998256

Кольцо уплотнительное (О-кольцо)

1шт.

9

VOE 11703832

Peg

1шт.

9

VOE 11703832

Peg

1шт.

Выбрано товаров: 38